一、安全閥
1.作用及基本要求
安全閥是設置在罐體上最重要的安全附件。其作用是當罐體內介質超壓時,安全閥能自動起跳,使液化氣體迅速逸出,罐體內壓力下降;當降至安全壓力以下,便自動回座關閉,以此來排除罐體異常超壓帶來的危險,從而使罐車運行安全可靠。由于罐車充裝的介質及其所處的運輸工作狀態的特點,對罐車所用安全閥,除應具備一般設備所用安全閥的結構、性能要求外,還要具備適應罐車工作特點的一些特殊要求。
①罐車用安全閥要求在瞬間超壓時能將一部分介質排放卸壓,當壓力恢復正常后就要嚴密封閉,所以最宜采用彈簧式安全閥。
②為防止罐車運行時安全閥的外部機械碰撞損壞,安全閥要裝于罐體頂部氣相空間,且外露于罐體外部的尺寸不得超過150mm。因此必須采用內裝式安全閥。
③具有足夠的排放面積和可靠的排放性能,是罐車對安全閥的一項最主要的要求。罐車充裝介質的特點,也要求安全閥必須考慮火災和壓力異常時均能夠迅速排放,所以,除應按規定的計算方法來確定足夠的排放面積外,在安全閥結構形式上,必須設計成開啟動作快,回座性能好,開啟高度大的全啟式。即在結構設計上必須保證安全閥在規定的全啟壓力下閥瓣能有大于dt/4(dt——安全閥的閥座喉徑)的起跳高度。以便安全閥一旦開啟并噴出介質時不因節流作用而使安全閥的排氣口受凍而堵塞。
④安全閥的開啟和回座性能,必須靈敏、準確、可靠,具有良好的密封性能。
⑤閥體和其他受壓、受力元件,除應具有足夠的強度和剛度外,還應考慮振動和沖擊載荷的作用,以保證安全閥經久耐用。
⑥安全閥與介質相接觸的元件,均應能耐介質、雜質和水的腐蝕。
⑦安全閥用密封材料要經受介質的溶脹和腐蝕作用。
2.安全閥的基本結構形式
按《液化氣汽車罐車安全監察規程》規定,汽車罐車上必須裝設內置全啟式彈簧安全閥,安全閥的排氣方向應為罐體上方。其基本結構形式大致分為兩類。
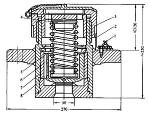
(1)上導向式上導內裝式安全閥如圖1-8-5和圖1-8-6所示。
?


上導向式內裝全啟式彈簧安全閥,其特點是安全閥閥瓣以外的各元件,均設置在閥瓣密封件以上,使得閥桿、彈簧和調整元件都與介質分隔開,避免了介質對元件的腐蝕作用,延長了使用壽命。但是上導向式安全閥要有一個圓筒形閥體,它使安全閥元件的數量增加,結構也較復雜,而且閥體和導向件的加工精度要求較高,從而增加了工藝加工的難度。最主要的問題是導向件所在位置對安全閥的排氣會形成阻滯。在使用中上面的閥帽應隨時扣緊。如不小心進入雨水等,在冬季很容易結冰而使安全閥彈簧失效。
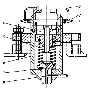
(2)下導向式下導向內置全啟式安全閥如圖1-8-7 所示。
?

下導向式安全閥的特點是閥桿、彈簧、調整裝置等元件,均在閥瓣之下,與介質相接觸,需要特殊的防腐措施。但其結構簡單、加工容易,在排氣通道上無阻滯。
無論是哪種形式,安全閥大體上都由閥體、閥瓣、導向桿(套)、彈簧、鎖緊裝置和閥帽等基本部件組成,下面簡單介紹各部件的作用和要求。
①閥體。是安裝安全閥主要零部件的地方。由于液化石油氣介質對閥體的壓力有較高的要求(一般2.45MPa以上),因此,閥體應采用鋼制品。
②閥瓣。是安全閥開啟泄放和回座密封的連動部件,它與閥體的閥座口構成安全閥的密封機構,閥瓣在介質壓力的作用下上升(開啟)或下降(回座)。閥瓣與閥座口的接觸面鑲制有密封材料,以滿足安全閥的密封要求,密封材料通常采用聚四氟乙烯制品。
③導向桿(套)。閥瓣在閥體內開啟和回座以及彈簧的伸縮要有一定距離的軸向往復移動,為保證閥瓣回座時盡可能復原位,以利密封,這就要求對閥瓣的運動做軸向限制,所以彈簧式安全閥都設計有導向桿。
④彈簧。彈簧式安全閥的工作主要靠彈簧,它是極其重要的受力元件,其設計與制造的好壞,很大程度上決定安全閥的質量。
罐體內部介質的壓力,通過閥瓣作用于彈簧,當壓力超過開啟壓力時,彈簧被壓縮,安全閥開始泄放,壓力下降后由彈簧的彈力作用而使閥瓣密封。所以彈簧的彈力、剛度、變形量等設計與制造參數,非常突出地影響著安全閥工作性能的好壞。
⑤彈簧座及其調整與鎖緊裝置。彈簧的壓力靠彈簧座來支撐,支撐件需能調節彈簧并有鎖緊裝置,以便于進行壓力調整,調整后進行鎖緊,防止松動。
⑥閥帽。安全閥頂部都設有閥帽,以防雨淋或塵埃落入閥件內部。
3.選用安全閥注意事項
選用安全閥的主要原則是要保證罐內壓力異常升高時具有足夠的排放能力,以保證罐車不致發生超壓而爆炸。
按《液化氣體汽車罐車安全監察規程》要求,汽車罐車必須裝設內置全啟式彈簧安全閥,安全閥排氣方向應為罐體上方。安全閥的開啟壓力應為罐體設計壓力的1.05~1.1倍,安全閥的額定排放壓力不得高于罐體設計壓力的1.2倍,回座壓力不低于開啟壓力的0.8倍,開啟高度應不小于閥座喉徑的1/4。安全閥的排放能力必須考慮發生火災和罐內壓力出現異常情況下,均能迅速排放。
二、緊急切斷裝置
《液化石油氣汽車罐車安全監察規程》要求,在罐車罐體與液相管、氣相管接口處必須分別裝設一套內置式緊急切斷裝置,以便在管道發生大量泄漏時進行緊急止漏。緊急切斷裝置按規定包括內置式緊急切斷閥、遠控操縱系統和易熔金屬自動切斷裝置三個部分。
1.緊急切斷系統的作用
①當罐車的裝卸球閥發生故障,泄漏已無法控制時,可用緊急切斷閥關閉止漏。
②裝卸作業過程中,如發生火災或管道破裂等意外事故,操作人員已無法靠近閥門箱去關閉裝卸閥門時,可以通過遠控操作系統關閉緊急切斷閥,制止繼續泄漏。
科技賦能,AI強安——談AI技術在石油…
危險化學品安全技術說明書(PDF版)
170種危險化學品安全技術說明書匯編
化工企業冬季安全生產須知——防火篇
化工企業冬季安全生產須知——防凍凝篇
有限空間作業如何預防窒息和中毒
有限空間作業切記注意安全!
夏季有限空間作業安全風險防范
危險化學品目錄(2015版)
危險化學品分類及其危險特性
對制度落實不到位的原因調查及解決辦…
職工安全生產的權利和義務
危險化學品的儲存
有限空間作業安全知識
柴油罐的存放
加油站安全知識手冊