?? 儲存設備的安全附件是指液化石油氣儲存設備的各個環節中起安全保證作用的閥件、檢測儀表、防凍、排污等各種部件,是設備得以安全運行和經濟運行所必須的構成部分,它們可以個體地起作用,也可以連接成安全體系群體起保證作用。設備操作人員通過對這些附件和儀表的監視和操作來實現和控制壓力容器的運行。合格的操作人員,要會正確地操作和監視這些裝置,了解它們的結構、工作原理及其使用管理等方面的知識。
安全附件的功能如下。
?、佼斠夯蜌獾墓r參數超過設定安全值時,安全附件的相關機構會自動啟動消除或部分緩解該參數所反映的不安全因素,以保證儲存生產的安全。
?、诩皶r、準確、有效地反映出儲存設備的工況參數,使操作人員及時了解和調整工況。
?、垡曅枰涂赡埽O置自動報警或預警標志。在不安全工況下或在不安全工況形成過程中便可以向在崗操作人員發出聲光等預警訊號,提醒或幫助操作者及時排除,將事故消除在萌發階段。報警訊號既可以與安全附件同時動作,也可以將訊號或相應操作遠距離地傳送給集中控制室,這類較復雜的自動系統,一般只裝備在大型站點或規模較大的生產單位。
安全附件的分類,按不同的方法有以下類別。
①按功能分為安全附件和測量儀表。
?、诎礄C構常態或與介質的接觸狀態,分為常開式或常閉式。如安全閥總是與介質相通的,正常狀態下是處于關閉狀態,隔絕液化石油氣與大氣的通路,只有在超壓時才開啟,形成泄壓道路。
③測量儀表除按測量參數分類外,還按測量原理分為彈簧式、溫包式、體脹式等。
一、安全附件
1.安全閥
安全閥是液化石油氣儲存中最重要的安全附件之一,它的作用是當系統、容器或管路壓力超過限額時,能自動開啟,泄去部分氣體,并發出聲響,警告操作人員采取措施。當壓力恢復到選定值范圍內時,安全閥回座,自動關閉。從而避免因超壓而釀成的爆炸事故。安全閥起跳的原因,僅僅是超壓,而超壓的原因卻是多方面的,諸如超載(充裝過量)、溫度過高以及外界強熱烘烤、氣溫偏高和火災危險等。
(1)安全閥的有效性和檢修周期由于安全閥的重要性,質量技術監督部門和公安消防部門規定:在正常使用中,安全閥必須是有效的,即安全閥必須是法定部門允許生產的,產品經檢驗合格,選用和安裝合理,使用期限合乎規定,狀態良好。安全閥必須具備出廠質量證明書或檢驗合格證或修理檢驗的質量證明文件。在使用一段時間后,無論其性能如何,是否靈敏有效,均需卸下重新校驗,否則是無效的。
這個從安裝到卸下校驗的時間段稱為安全閥的校驗周期,按《壓力容器安全技術監察規程》的規定,安全閥的校驗周期一般每年至少應校驗一次,拆卸進行校驗有困難時,應采用現場校驗。校驗合格的安全閥,檢驗單位應出具校驗報告書并對校驗合格的安全閥加裝鉛封。
(2)安全閥的分類及構造液化石油氣系統所使用的安全閥,全部限定為彈簧式安全閥。彈簧式安全閥按安裝位置及與介質的接觸情況,分為外彈簧式安全閥和內置式彈簧安全閥兩種。
外彈簧式安全閥安裝在固定式容器或管路上,即站內儲罐及管路上。彈簧元件與液化石油氣不直接接觸。而內置式彈簧安全閥及閥芯安裝后直接伸入到設備內部,元件與液化石油氣相接觸。主要用于諸如罐車等移動式壓力容器。
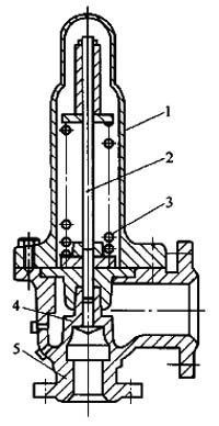
彈簧式安全閥的結構如圖1-10-5和圖1-10-6所示。

彈簧式安全閥主要由閥體、閥芯、閥座、閥桿、彈簧、彈簧壓蓋、調節螺絲、銷子、外罩、提升手柄等構件組成。它是利用彈簧被壓縮后的彈力來平衡氣體作用在閥芯上的力,當氣體作用在閥芯上的力超過彈簧的彈力時,彈簧被進一步壓縮,閥芯被抬起離開閥座,安全閥開啟排氣泄壓;當氣體作用在閥芯上的力低于彈簧的彈力時,閥芯緊壓在閥座上,安全閥處于關閉狀態。其開啟壓力的大小可通過調節彈簧的松緊度來實現,將調節螺絲擰緊,彈簧被壓縮量增大,作用在閥芯上的彈力也增大,安全閥的開啟壓力就增高;反之則降低。
(3)安全閥的安全泄放量及排放能力的計算《壓力容器安全技術監察規程》和《液化氣體汽車罐車安全監察規程》分別對儲罐和罐車的安全閥的安全泄放量及排氣能力作了規定。安全閥的排放能力必須考慮發生火災和罐內壓力出現異常的情況下,均能迅速排放。
?、垡夯瘹怏w壓力容器安全泄放量的計算。

a.無絕熱材料保溫層的壓力容器,安全泄放量按式(1-10-1)計算。

式中Ws——壓力容器安全泄放量,kg/h;
q——在泄放壓力下液化氣體的氣化潛熱,kJ/kg;
F——系數,壓力容器裝在地面以下,用沙土覆蓋時,取F=0.3;壓力容器在地面上時,取F=1;當設置大于10L/(m2·min)的噴淋裝置時,取F=0.6;
Ar——容器受熱面積,m2;
半球形封頭的臥式壓力容器,Ar=πD0L;
橢圓形封頭的臥式壓力容器,Ar=πD0(L+0.3D0);
立式壓力容器,Ar=πD0L′;
球形壓力容器,Ar為1/2πD20或從地面起到7.5m高以下所包括的外表面積,取二者中較大的值;
D0——壓力容器外徑,m;
L——壓力容器總長,m;
L′——壓力容器內最高液位,m。
b.有完善的絕熱材料保溫層的液化氣體壓力容器,安全泄放量按式(1-10-2)計算。

式中λ——常溫下絕熱材料的導熱系數,kJ/(m2·h·℃);
δ——保溫層厚度,m;
科技賦能,AI強安——談AI技術在石油…
危險化學品安全技術說明書(PDF版)
170種危險化學品安全技術說明書匯編
化工企業冬季安全生產須知——防火篇
化工企業冬季安全生產須知——防凍凝篇
有限空間作業如何預防窒息和中毒
有限空間作業切記注意安全!
夏季有限空間作業安全風險防范
危險化學品目錄(2015版)
危險化學品分類及其危險特性
對制度落實不到位的原因調查及解決辦…
職工安全生產的權利和義務
危險化學品的儲存
有限空間作業安全知識
柴油罐的存放
加油站安全知識手冊