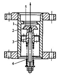
(1)彈簧式過流閥其結構原理如圖1-10-9所示。它串聯在管道上,正常流速下,彈簧的拉緊力與液化石油氣對閥瓣2的沖擊夾持力相平衡,閥瓣前方的孔道通暢,物料無阻,裝卸作業正常。當管內流速超過額定流速的50%時,閥瓣2會因液體的沖擊夾持力大于彈簧的拉緊力而沖向前方,阻塞流體通道,管路便自行關閉。

因為閥內有小孔5,即使在管路切斷后,仍有微小細流通過。當外界管路或容器的破裂事故排除后,該小孔所流出的液化石油氣及液化氣體會充滿系統,靠其自身的氣壓,幫助閥瓣2復位,管路恢復通暢。否則閥前后壓差過大,復位將不可能。
閥桿、彈簧和閥瓣都一起固定在閥架上,閥架靠螺紋旋入閥體內。閥架的旋入深度決定了閥瓣與孔道的距離。同時,該距離依流速限額不同而異,并與閥瓣截面及彈簧力相匹配,它也是可以調整的。
過流閥亦稱限速切斷閥。當裝卸作業過程中開閥過猛過快,過流閥也會動作,因此
作業過程中應予注意。過流閥的調節范圍是正常流速的150%~200%。彈簧式過流閥可以任意方向安裝,不受管道傾斜等因素的影響。
過流閥的通過能力由式(1-10-5)計算。

式中d2——閥殼內徑,m;
d1——閥芯直徑,m;
m——限定流量(流速)與正常流量之比,m可取值為1.5~2.0;
G0——流通能力,kg/s;
ρ——液化石油氣的密度,kg/m3;
k——特性系統,與閥的構造、尺寸和安裝有關。對環形縫流通道口,k=240~320;垂直安裝向上流動時,k=300;向下流時,k=250;水平安裝時,k=275。
一般情況下,過流閥的殼徑應與管道口徑相匹配,彈簧力應與閥芯質量相適應。
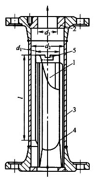
(2)浮筒式過流閥其作用原理是靠浮筒的自重來平衡液化石油氣的流動沖擊力。正常情況下,浮筒自重大于液化石油氣在流動中的夾持力,當流速過高,浮筒迅速上浮,阻塞上方的通道,關閉管路。為防止浮筒的傾倒,閥內有三葉導向架片。圖1-10-10中所示的4即有限位作用,該件稱為導架。
浮筒式過流閥只能垂直安裝,液化石油氣自下而上流過。
浮筒式過流閥和彈簧式過流閥一樣,也有一個平衡小孔,用以平衡筒前后的壓差, 使浮筒在關閉管路后復位。
過流閥由使用單位自行管理和維護。
4.緊急切斷閥
緊急切斷閥常與過流閥一起串聯在儲罐或罐車的氣相或液相出口上,在后面的管道破裂或火焰烘烤管路時用以切斷液化石油氣管路,避免大量的物料漏損以及火勢蔓延。因此,緊急切斷閥既是必需的安全部件,也要適應不同的操作要求。緊急切斷閥在作業過程中是常開的,其構造、作用原理及分類見罐車安全附件部分。

5.防凍排污閥等部件
液化石油氣生產過程中,因使用水蒸氣作為加熱介質而凝結的水滴以極小的微球存在于產品中,長期的儲存,會逐漸下沉,集聚于儲罐下部,越是大型的罐,時間越長,集聚量就越大。如不及時排除,會在冬季形成凍害,特別是我國的北方地區,更應注意。在排除部分水的同時,液化石油氣生產及儲運過程中的其他雜質也會一起排出。因為其色澤與成分的關系,在排放時統稱為排污。
水的密度大于液化石油氣,水的聚集總是在容器的最下部低洼處,所以排污排水的裝置通常稱為排污箱,也必須設置和安裝在容器設備的最下端,與之相連的還必須有一個閘閥,以備在檢修時使用。突出防凍意義時稱整個部件為防凍排污閥,強調排污時,稱其為排污閥。
防凍排污閥是一種設計非常巧妙的閥件,其結構如圖1-10-11所示,它是用同一根桿操作兩個小閥桿,閥體內同時包容著兩個小閥,兩個閥口中A比B大些。由于散熱面大小的關系,B比A凍結早些,若B已凍則A尚可開閉,仍然可關嚴液化石油氣通道,使上方的物料不致泄漏。若已同時凍住,因為閥口大小不同,凍結的程度也不同,在同一閥桿力的作用下,B閥的冰易被破壞;同樣達到關嚴閥門的目的。

當然,防凍排污閥的操作,主要靠定時的巡回檢查和執行崗位操作法。
另外,液化石油氣儲罐的排污管下部,應有管線固定裝置,嚴禁懸空,以免排污時扭矩過大,造成法蘭結合面扭曲變形而滲漏。氣溫較低的地區(每年連續10天日最低氣溫低于0℃),應對防凍排污閥及儲罐根部管線加裝伴熱或保溫裝置。
二、檢測儀表
液化石油氣的儲運過程中,必須對系統狀態、壓力、溫度及容器內的液面等參數作及時的、準確的反映,以便操作人員能安全生產,科學管理。液化石油氣的特性決定了系統中各參數的測量必須使用具有防爆、防塵、抗震性能的儀器儀表。
1.壓力表
液化石油氣的儲運設備和管道,常使用彈簧管式壓力表,它具有測量范圍大、結構簡單、堅固可靠、價格低廉等優點。彈簧管式壓力表的結構如圖1-10-12所示。

彈簧管式壓力表的感受元件是金屬彈簧管,承壓后伸張,減壓后回縮,發生一定的機構位移,這個位移量能夠通過齒輪機構(扇形齒輪3、拉桿2、中心齒輪4等)的組合運動,轉變為中心軸的角位移。也就是說中心軸作扭轉,反映出壓力值的大小,安裝在軸上的指針便反映著所承受的壓力。
彈簧管式壓力表的彈簧管,可以是單管的,也可以是多重管的(多圈式)。同一壓力下,多圈管的變形量大,角位移大,指針的偏轉大,所反映的數值便可以作小分度的數值顯示,用于要求靈敏的場合。因此,彈簧管式壓力表可以分為單彈簧管式和多彈簧管式兩種,而在液化石油氣使用中,普通單彈簧管式壓力表便可滿足要求。
液化石油氣用壓力表的量程以2.5MPa為宜,因為在正常氣溫下,液化石油氣的壓力約1.6MPa以下,處于儀表量程的2/3左右,在機械式表的靈敏區以內。對于其他同類測量儀表而言,人們最關注的數值范圍多在表盤的1/4到2/3。
科技賦能,AI強安——談AI技術在石油…
危險化學品安全技術說明書(PDF版)
170種危險化學品安全技術說明書匯編
化工企業冬季安全生產須知——防火篇
化工企業冬季安全生產須知——防凍凝篇
有限空間作業如何預防窒息和中毒
有限空間作業切記注意安全!
夏季有限空間作業安全風險防范
危險化學品目錄(2015版)
危險化學品分類及其危險特性
對制度落實不到位的原因調查及解決辦…
職工安全生產的權利和義務
危險化學品的儲存
有限空間作業安全知識
柴油罐的存放
加油站安全知識手冊