| 項目 | 總容積/m3 | ||
| ≤10 | 11-30 | ||
| 明火、散發火花地點、重要公共建筑 | 35 | 40 | |
| 站外民用建筑 | 30 | 35 | |
| 站內生活、辦公用房 | 15 | 20 | |
| 汽化間、混氣間、調壓室、配電室、儀表間、值班室等非明火建筑 | 12 | 15 | |
| 明火汽化間、供汽化器用燃氣熱水爐間 | 12 | 18 | |
| 站內道路(路肩) | 主要 | 10 | 10 |
| 次要 | 5 | 5 | |
2.汽化間
混氣站汽化裝置的總汽化能力宜取高峰小時用氣量的1.5倍,汽化器臺數不應少于2臺,其中至少應有1臺備用。
汽化間的布置應符合下列要求。
①汽化器之間的凈距不應小于相鄰較大者的直徑,且不應小于0.6m。
②汽化器操作側與內墻之間的凈距不應小于1.2m。
③汽化器其余各側與內墻的凈距不應小于0.6m。
④調壓器可布置在汽化間內。
3.混氣間
混氣間的布置應符合下列要求。
①混合器之間的凈距不應小于0.6m。
②混合器操作側與墻的凈距不應小于1.2m。
③混合器其余各側與墻的凈距不應小于0.8m。
4.調壓裝置
調壓裝置的設置應符合下列規定。
①液化石油氣和相對密度大于0.75的燃氣調壓裝置不得設于地下室、半地下室和地下單獨的箱內。
②調壓裝置和燃氣管道應采用鋼管焊接和法蘭連接。
③調壓器室應有泄壓措施,其設計應符合現行的國家標準《建筑設計防火規范》GBJ 16的規定;室內的地坪應采用不產生火花的材料。
④室內設有2臺以上調壓器平行布置時,相鄰調壓器外緣凈距宜大于1m;調壓器與墻面之間的凈距和室內主要通道的寬度均宜大于0.8m。
⑤調壓柜應單獨設置在牢固的基礎上,柜底距地坪高度宜為0.30m。
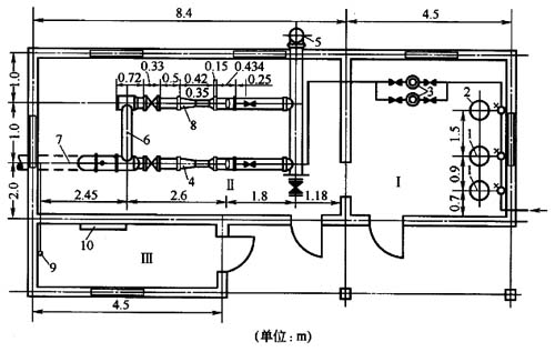
汽化、混氣間平面布置示意如圖1-4-2所示。
?

三、混氣工藝要求
1.互換性
由于液化石油氣中的丁烷氣體在接近0℃時,就會冷凝在管道中,給燃用造成不便,摻混一定空氣后,由于露點降低,可滿足在寒冷季節的長距離中壓輸送的要求,保證全年供給。城市燃氣管網的建設中,有條件與天然氣干管連接的,一般在建設初期用液化石油氣和空氣的混合氣作為基本氣源,這樣在改用天然氣時,燃氣分配管網及附屬設施都可不經改換而繼續使用。無條件與天然氣干管聯接,而用高爐煤氣作基本氣源的,液化混合氣作為高峰負荷及事故的補充氣源時,需考慮到燃氣的互換性。
2.混氣比
液化石油氣與空氣或其他可燃氣體混合配制成所需的混合氣,混氣系統的工藝設計應符合下列要求。
①液化石油氣與空氣的混合氣體中,液化石油氣的體積百分含量必須高于其爆炸上限的1.5倍,以保證其安全。
②混合氣作為城鎮燃氣補充氣源或代替其他氣源時,應符合現行的國家標準《城市燃氣分類》GB/T 13611的規定,以保證其燃燒性能。
③在混氣系統中應設置當參與混合的任何一種氣體突然中斷或液化石油氣體積百分含量接近爆炸上限的1.5倍時,能自動報警并切斷氣源的安全裝置。
由于丙烷、丁烷的爆炸上限為10%,因此混合氣中液化石油氣與空氣混合比至少應為1:9。目前,國內混合氣中液化石油氣與空氣的混合比一般控制在15%以上,熱值控制在16750kJ/m3(4000kcal/m3)左右,這樣可以直接接入城市管網。
各類副產煤氣的成分及與空氣爆炸比例區間見表1-4-2。
混氣站的用電和防靜電參照儲配站的相關規定。
?
| 煤氣種類 | 成分 | ||||||
| CO | CO2 | H2 | N2 | CnHn | CH4 | O2 | |
| 高爐煤氣 | 28 | 18 | 4 | 51 | ? | ? | ≤ |
| 焦爐煤氣 | 7 | 3 | 3 | 3 | 4.5 | 24 | ≤ |
| 轉爐煤氣 | 60 | 20 | 20 | ? | ? | ? | ≤ |
| 爆炸區間/% | 15.5-94 | ? | 4.0-75.6 | ? | ? | 5-15 | ? |
科技賦能,AI強安——談AI技術在石油…
危險化學品安全技術說明書(PDF版)
170種危險化學品安全技術說明書匯編
化工企業冬季安全生產須知——防火篇
化工企業冬季安全生產須知——防凍凝篇
有限空間作業如何預防窒息和中毒
有限空間作業切記注意安全!
夏季有限空間作業安全風險防范
危險化學品目錄(2015版)
危險化學品分類及其危險特性
對制度落實不到位的原因調查及解決辦…
職工安全生產的權利和義務
危險化學品的儲存
有限空間作業安全知識
柴油罐的存放
加油站安全知識手冊