焊工的頭部、頸部和上胸都有保護作用,免受輻射危害。
這種頭盔摘戴較麻煩,適于在密閉容器內施焊時使用。
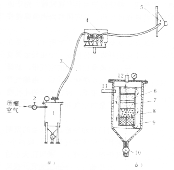
(3) 送風口罩 它的作用是供給焊工新鮮空氣,并使呼吸帶呈正壓,防止塵毒侵入。
這種口罩的使用如圖15所示,這套設施較復雜,一般在塵毒較嚴重時才使用。

圖15 送風口罩工作系統
a)系統圖 b)部件1空氣過濾器的剖面圖
1—空氣過濾器 2—調節閥 3—塑料管 4—空氣加熱器 5—口罩 6—壓緊的棉花 7—泡沫塑料 8—焦炭粒 9—瓷杯 10—放水閥 11—進氣口 12—出氣口
(4) 分子篩除臭氧口罩 它的使用如圖16所示,除臭氧效率可達(99~100)%。

圖16 分子篩口罩
a)系統圖b)分子篩罐體剖面
1—出氣口 2—濾塵尼龍氈 3—分子篩 4—進氣孔 5—罐體 6—進氣口
3. 改革工藝和改進材產是改善條件的根本措施。
改革焊接工藝,使焊接操作實現機械化、自動化,不僅能降低勞動強度和提高勞動生產率,而且大大減少焊工接觸焊接有害物的機會,改善作業環境的勞動衛生條件。例如用自動電弧焊代替手工電弧焊,就可以消除弧光、有毒氣體和煙塵對焊工的危害。自動埋弧焊的電弧是在熔渣和金屬液體之間的空間燃燒,肉眼看不見。這種焊接方法的引弧、焊絲送進和沿焊接方向移動,都是利用機械自動進行的。埋弧焊用的焊絲不涂藥皮,用焊劑代替藥皮的作用。在電弧焊接中,應用各種形式的機械手,實現焊接過程的全自動化,將可從根本上消除焊接有害因素對焊工的危害。合理設計焊接容器的結構,采用單面焊雙面成型新工藝,不用容器內部焊接,減輕焊工受危害程度。
采用無毒或毒性小的焊接材料代替毒性大的焊接材料,也是防止焊接危害的有效措施。例如手工電弧焊產生危害與焊條藥皮的成分有關,因此改革焊條對消除手工電弧焊的塵毒危害有重要作用。目前含錳量高的焊條已日趨淘汰。低氫型堿性焊條危害也較大,因此應改革焊條藥皮的成分,使其含氟量和發塵量減少,既減少危害,又能保證焊接質量。我國自制的116號焊條,其藥皮具有低錳、低氟、低塵的特點(1977年甘肅省衛生防疫站編印“電焊職業毒害研究”介紹)。又如當前正在研制用鈰鎢棒代替釷鎢棒,可以基本上消除放射性污染。
(二) 放射性防護
焊接的放射性防護主要是防止釷的氣溶膠和粉塵的危害。
1. 綜合性防護措施 主要防護方法:一是采用機械操作;二是對施焊區密閉。在生產現場用金屬薄板制成密閉罩,將焊槍和焊件置于罩內,罩的一側設有觀察防護鏡,使焊接過程中產生的放射性氣溶膠和粉塵被控制在盡可能小的空間,并通過排氣系統和凈化裝置排到室外。
2. 焊接地點應設有單獨操作室,釷鎢棒貯存地點要固定在地下密閉箱內。大量存放時應藏于鐵箱內,并應有排氣裝置。
3. 應備有專用砂輪磨尖釷鎢棒,砂輪機要除塵罩。砂輪機的地面墻壁最好輔設瓷磚或水磨石,以利清除污物。地面上的磨屑要及時用濕式法掃除,并集中深埋。
4. 手工焊接時,必須戴送風防護頭盔或采用其它有效措施。采用密封罩施焊時,操作中不應打開罩體。磨釷鎢棒時應戴防塵口罩。
5. 采用合理的操作規范,避免釷鎢棒的過量燒損。
6. 接觸釷鎢棒后應以流動水和肥皂洗手,并經常清洗工作服和手套。
(三) 噪聲防護
等離子弧焊接、切割工藝等,必須采取防噪聲措施。
1. 等離子弧焊時,在保證焊接質量的前提下,選擇低噪聲的工作參數。
2. 操作者佩戴隔音耳罩或隔音耳塞。耳罩的隔音效果比耳塞好,但體積大,略有不便。耳塞種類較多,常用的為橡膠耳塞,它攜帶方便,隔音較好,經濟耐用。
3. 在房屋結構、設備等方面,采用吸聲或隔音材料均有防噪聲效果。
4. 在焊槍噴出口部位采用小型消聲器。
(四) 高頻電磁場防護
1. 焊件接地良好,能大大降低高頻電流。接地極距離焊件越近,降低高頻電流作用越大。
2. 盡量減少高頻電流持續時間,即在引弧后立即切斷振蕩器線路。
3. 在不影響使用的情況下,降低振蕩器頻率。因為頻率越高,對人體危害越大。
4. 焊把加裝接地,屏蔽設置,減少高頻電場對人體的危害。其方法是用銅質編織軟線套在電纜膠管外面(焊把上裝有開關線時,必須放在屏蔽線外面),一端接于焊把、另一端接地,如圖17所示。此外,焊把到焊機的電纜線外面也要套上細銅質編織軟線。因高頻電是通過空間和手把的電容耦合到人體上的,加裝接地、屏蔽能使高頻電場局限在屏蔽內,從而大大減少對人體的危害。

圖17 金屬編織線高頻屏蔽焊把
1— 焊把柄 2—電纜外膠管 3—金屬編織 4—水管 5—鋁箔屏蔽層 6—電纜線