修整工具在砂輪上的進給量不平衡或不適當,以及整修工具安裝不正確,其結果可能會引起砂輪的碎裂。當手工修正時,手碰觸回轉的砂輪極易傷人。此外,修砂輪時飛濺出大量的磨屑,對眼部、肺部有害。
砂輪的修整一般都采用金剛鉆。也有用硬質合金和整磨輪等代用。
砂輪的修整必須遵守下列幾點預防措施:
第一, 修正工作只可用專供修整用的工具。絕對禁止使用鑿或其他鉗工工具,以免將整個砂輪弄壞而造成不幸事故。
第二, 修整工具要緊固在夾架或特別的工具上。不得用手直接握住磨塊修整砂輪。
第三, 修整時應澆注充分的冷卻液,同時必須澆注在砂輪的整個寬度上。絕對不允許專業性續地供給冷卻液,以免金剛鉆因驟冷驟熱而碎裂。干磨修整砂輪時,應在修整區域內設置局部吸塵器,防上傷害眼部、肺部等。
六、 砂輪的防護
為了保證磨床工作的安全,不僅在磨具的選擇和準備工作時需采取預防措施,而且在設計磨床時需要有適當的防護裝置。
除有金屬切削機床一般安全裝置外,磨床還應保證安全的特殊裝置。例如:砂輪的防護罩,工作臺防護罩,支持工件的墊架和防護眼睛的防護屏,以及吸取磨屑或金屬塵末的局部吸塵器。
(一) 磁性臺面的防護 在平面磨床上,采用電磁工作臺的主要危險是因失去碰性而將工件拋開。為了防止因失磁而引起的危險事故,在工作臺的兩側應安裝堅固的防護罩,并在電路中安設直流檢查信號燈,當工作臺失磁時發出信號。
(二) 砂輪的防護裝置 砂輪防護裝置的構造主要決定于砂輪和工件的形狀及尺寸、使用砂輪的方法和磨床的構造。
加工零件表面的外圓磨床、平面磨床、曲軸磨床和其他磨床所用的砂輪需裝有固定式的防護罩,如圖4所示。

見表
圖4 防護罩裝置
這種防護罩需要將砂輪周圍遮住,外露部分僅供進行工作的需要。顯而易見,工作時砂輪的外露部分愈小,則砂輪碎裂時所發生的危險性也愈小。
如工作條件許可,應盡量縮小罩的外露角度。這是非常重要的。
防護罩的結構必須保證砂輪裝卸方便。這樣要把罩的一個側面做成可裝卸或可揭開的式樣,當砂輪工作時罩的可裝卸部分必須牢固地裝緊在罩殼上,因為砂輪碎裂時向四面飛射的碎片,都朝罩的側面擊落。為了防止裝有螺帽一端的砂輪心軸纏住工人衣服或造成傷害,這種零件在工作過程中需要用特別螺帽加以遮住,帽罩連裝在罩的可揭開側板上。
砂輪與罩殼之間需要有足夠的空隙,勿使夾裝砂輪的零件碰觸罩殼板的內面。太大的空隙在砂輪碎裂時會曾大碎片飛射的危險性和減弱吸取磨屑的條件,所以新砂輪與罩殼板正面之間可有20~30mm間隙。砂輪的側面與罩殼板側面之間設有10~15mm間隙。此外必須注意擴護罩要有足夠的強度。
七、 砂輪的安全使用
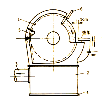
圖5為砂輪機的防護裝置示意圖。砂輪由罩1遮住,罩1由貯塵箱2、通管3與空氣管接通到吸塵器,以便定期清理塵末。罩上裝有可在外面調節的內閥板5,用來阻擋受砂輪高速回轉而向罩上方飛散的塵末。用閥板6使罩上部和砂輪之間保持最小空隙。閥板要非常牢固,因為砂輪碎裂時,閥板上時常到沖擊力。

見表
圖5 砂輪機的防護裝置示意圖
1―罩 2―貯塵箱 3―通管 4―底座 5―內閥板 6―閥板
支放工件的墊架能夠上下、左右兩個方向調整,如圖中所示的箭頭,用來調整墊架與砂輪間的空隙和使工件與砂輪心軸處于同一水平位置,并能裝緊在所需位置。墊架與砂輪間的空隙不得超過3cm,否則工作時工件可能嵌牢在墊架與砂輪之間而引起砂輪破裂的危險。此外安裝墊架需要使加工表面與砂輪相接觸處在砂輪軸的水平線上或略高出砂輪軸的水平線(10mm之內),否則也有同樣的危險。
為保護眼間不被砂輪碎片傷害,在普通磨床上需要裝透明屏。
在砂輪上刃磨時,要握穩刀具,不得使刀具撞擊砂輪,同時應使用砂輪的圓周面刃磨,禁止在砂輪的兩側面用力粗磨刀具,以免砂輪側面受力而發生偏擺跳動。