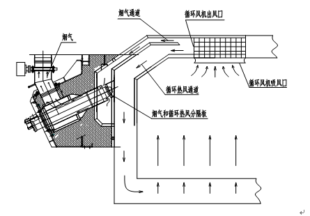
??? 該混合裝置使得燒嘴具有自身預熱功能。燃燒裝置在結構上將循環氣體分為兩路,一路沿主要通道進行爐內熱風循環,與燒嘴燃燒后的高溫煙氣進行熱交換,另一路則在爐壓的作用下進入排放通道,這部分氣體沿上層排風通道進入燒嘴的排氣裝置內,燃燒產物通過排氣裝置內燒嘴與燒嘴套筒中間的縫隙夾層,沿燒嘴火焰相反方向排放到爐外。這樣,燒嘴套筒作為熱交換的媒體,在煙氣逆向沿燒嘴套筒排放過程中,預熱進入燒嘴的處于燒嘴套筒內側冷的助燃空氣,在爐子不配備換熱器的情況下,通過迎風混合燃燒裝置在結構上的獨特設計,也可以使燒嘴達到自身預熱的效果,從而降低煙氣排放溫度、提高爐子熱效率的目的,達到節能減排的效果。見圖2

?圖2
? ? 鋁錠的溫度均勻性是加熱爐的一項重要考核指標,是鋁錠在加熱爐內加熱時影響加熱質量的關鍵因素。迎風混合燃燒混合有助于改善爐溫的均勻性,提高鋁錠的溫度均勻性,該指標由過去的±5℃提高到±4℃,為熱軋主機提供溫度適宜、能滿足要求的加熱鋁錠,改善鋁錠的溫度均勻性,提高產品合格率。
? ? 在具體設計時,風機參數和燒嘴類型的選擇按以下步驟進行:
? ? 1)? 據爐子循環氣流路徑,計算沿途阻力損失,確定循環風機的最低氣壓。
? ? 2)? 根據爐膛尺寸和噴口速度要求,確定循環風機的流量。
? ? 3)? 定循環風機參數并選型。
? ? 4)? 算燒嘴燃燒空間內的風速和風壓。
? ? 5)? 選擇合適的燒嘴類型。
? ? 6)? 根據燃燒種類和功率大小選擇合適的燒嘴。
? ? 迎風混合燃燒技術實際使用效果
? ? 蘇州新長光熱能科技有限公司為國內3家公司提供了6臺大噸位立推式鋁錠加熱爐,均應用了該迎風混合燃燒技術,全部投產并交付使用。實踐表明,使用該迎風混合燃燒技術后效果顯著,有效解決了高溫狀態下鋁錠在爐內加熱時的局部過熱問題,降低了鋁錠加熱后的溫差,改善了溫度均勻性,提高了加熱質量,并且節約了生產成本,經濟效益明顯。
? ? 采用迎風混合燃燒裝置相對于以往的其他換熱方式相比具有以下優點:
? ? 優點:
? ? 1)?? 提高鋁錠的溫度均勻性,降低鋁錠加熱或均熱后的溫差。
? ? 2)?? 解決了高溫狀態下鋁錠在爐內加熱時的局部過熱問題。
? ? 3)?? 結構簡單、不需要單獨的換熱器,爐頂管路布置整齊,方便操作維修。
? ? 4)?? 熱效率高,減少了燃料消耗,節能減排,節約生產成本。
? ? 但需要注意地方:
? ? 1)?? 要求爐子內殼全部采用分塊焊接的箱式結構,制作工作量相對較大。
? ? 2)?? 該燒嘴的布置形式,對燒嘴本身要求較高:1要求火焰不能太長,大火控制在800mm以內為宜。2火焰要有足夠的強度和剛性,不易被高溫熱氣流吹滅。
? ? 鑄錠的溫度均勻性是加熱爐的關鍵考核指標,是鑄錠在加熱爐內加熱時影響加熱質量的關鍵因素。
? ? 實際使用情況表明,迎風混合燃燒混合有助于改善爐溫的均勻性,解決了高溫下物料在爐內加熱時的局部過熱問題,提高鑄錠的溫度均勻性。該指標由過去的±5℃提高到±4℃,為熱軋主機提供溫度適宜、能滿足要求的加熱產品,改善加熱產品的溫度均勻性,提高產品合格率,節約了生產成本,經濟效益明顯,應用前景美好。
?
冶金鐵路車輛現場事故救援技術研究與…
高溫液態金屬突發事故應急處理措施
鑄造車間通風除塵技術
煉鋼廠煤氣危險源(點)管理控制措施
轉爐冶煉高碳低磷鋼氧槍“氮攪”工藝…
低碳低硅鋼的冶煉實踐研究
冶煉煙氣脫汞技術進展
焊口熱處理安全措施
焊工崗位危險因素、事故防范及事故應…
乙炔氣割槍回火處理措施
焊接作業安全要求
ASM焊線機操作指導書
氬弧焊作業指導書
電烙鐵使用的注意事項
轉爐煤氣回收的安全措施
煉鐵廠冬季“四防”安全生產控制措施