
圖4 WNL2-13型內燃回火管鍋爐
1―鏈條爐排 2―煙管 3―鍋殼 4―爐膽
此鍋爐鍋殼內徑2m,壁厚14mm,長3.44m,前后管板厚14mm,板邊鉆孔并與鍋殼爐膽焊在一起。爐膽由圓筒和波形環組焊而成,內徑940mm,壁厚12mm,與鍋殼長度相等。煙管用φ51×3的無縫鋼管分別與前后管板焊接或脹接在一起。前后管板的上部都用斜拉撐加強。
這種鍋爐的優點是結構緊湊,套裝出廠,運輸方便。安裝時不需要特殊的加固基礎。水容積比水管鍋爐小,點火升壓比火管鍋爐快,負荷穩定。耗鋼量較小,比蘭開夏少一半。煙氣流程長,速度較快,傳熱系數較大,不積灰,但阻力也大,需配引風機。主要缺點是剛性連接的部位較多,在溫度應力長期作用下,易使拉撐開裂或在管板的扳邊處及管孔等處產生裂紋,脹接處也容易泄漏。對水質要求較高,積于煙管外的水垢不易清除,給水必須處理。
臥式內燃回火管鍋爐的容量有1~10t/h數種;蒸汽壓力為8或13at<sub>表壓<sub>,飽和溫度;鍋爐總重在6.2~19t范圍內。
四、 水管鍋爐
火管鍋爐的受熱面基本上是在鍋殼內部,因而其蒸發量和壓力都受到很大限制。水管鍋爐可以突破這種限制,因而大、中型鍋爐都在水管鍋爐范疇內發展。水管鍋爐使受熱面由鍋殼內轉移到鍋殼外,利用火焰和煙氣加熱水冷壁、對流管束、過熱器、省煤器等,把熱量傳給工質。水管鍋爐的出現給鍋爐的發展帶來了一個飛躍,使得鍋爐的容量(蒸發量)和參數不斷提高,結構和類型不斷發展,熱效率明顯提高,金屬耗量大為降低。由于由鍋殼爐膽受熱轉變為管系受熱,鍋爐的安全性能也顯著提高。
水管鍋爐的結構型式很多,按鍋筒數量和布置方式的不同分為單縱、雙縱、雙橫等型式。
(一) 分聯箱橫鍋筒直水管鍋爐
分聯箱直水管鍋爐(拔伯葛鍋爐)是水管鍋爐中較老的,鍋筒放置方式有縱橫兩種型式。
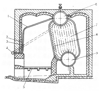
分聯箱橫鍋筒直水管鍋爐的結構如圖5所示。
圖5 分聯箱橫鍋筒直水管鍋爐
1―前分聯箱 2―爐管 3―過熱器 4―折煙墻 5―鍋筒 6―分聯管 7―后分聯箱
“鍋”的部分主要由鍋筒、前后分聯箱、爐管、蒸汽過熱器等組成。鍋筒是一個兩端帶凸形封頭的圓筒形殼體,裝在鍋爐后部的最高位置。圓筒殼體的下部和側面都開有管孔,以便脹接后聯管與前聯管。筒體上部有飽和蒸汽管與蒸汽過熱器相連。兩端的封頭,一端開設人孔,另一端接進水管。前后分聯箱為波浪式,截面為矩形,由特制設備沖壓而成。后分聯箱的上側由后聯管與鍋筒下部相通,側面裝接直水管,與直水管對應位置開有橢圓形手孔。鍋爐容量的大小由分聯箱的對數及每對分聯箱接裝的管數來決定。爐管包括直水管和前后聯管,直水管數量多,是鍋爐的主要受熱面,一般為φ102mm的無縫鋼管,分別與前后分聯箱連接,裝置得前高后低,與水平面約成15°角,以利水循環。分聯是鍋筒與分聯箱之間的聯通管道。前分聯管將汽水混合物導入鍋筒,后分聯管將鍋筒中的水導入后分聯箱。蒸汽過熱器水平裝設在直水管的上部,由U形管脹接于方形聯箱而成,它的進口聯箱由飽和蒸汽管與鍋筒相通,出口聯箱接蒸汽口總管。煙氣由爐膛下部上升經過兩道折煙墻上下翻騰沖刷爐管。
近年來許多拔伯葛鍋爐的爐膛內部加裝了水冷壁,使其出力和效率有所提高。
這種鍋爐的優點是分聯箱容易拆裝,直爐管便于清除水垢,熱效率比火管鍋爐高。缺點是聯箱制造困難,易滲漏,超負荷時對水循環不好,下排爐管易發生汽阻。
常用的分聯箱橫鍋筒直水管鍋爐的蒸發量為2~4t/h;過熱蒸汽參數為13at<sub>表壓<sub>,250℃。
(二) 雙橫鍋筒彎水管鍋爐
雙橫鍋筒彎水管鍋爐又稱K型鍋爐,其結構如圖6所示。
圖6 SHH4-13型雙橫鍋筒彎水管鍋爐
1―水冷壁厚 2―爐墻 3―下降管 4―聯箱 5―爐排 6―上鍋筒 7―對流管束 8―隔火墻 9―下鍋筒
此種鍋爐構造簡單,使用較廣。“鍋”的部分主要由上、下鍋筒、對流管束、水冷壁管、聯箱、下降管等組成。每個鍋爐有兩個橫置的鍋筒,上鍋筒略向前傾,兩鍋筒中心連線與垂直線約成10°角。鍋筒是兩端都帶有凸形封頭的圓筒形殼體,上鍋筒直徑比下鍋筒略大,上鍋筒的下半部與下鍋筒的上半部對應開孔,以便脹接對流管束。鍋筒一側封頭開有扳邊人孔。對流管束一般采用φ51mm的無縫鋼管兩端彎成適當的弧度,使管端能垂直脹接在上、下鍋筒上。水冷壁管也是φ51mm的無縫鋼管,它按前墻與頂棚的夾角彎成角度不小于105°的彎管,構成前水冷壁與頂棚水冷壁,水冷壁一端脹接在上鍋筒側壁的管孔上,另一端與橫置在前墻外面的水冷壁聯箱連接。水冷壁 聯箱是方形和圓形的,方型聯箱一般是一側開管孔,對側開手孔,水冷壁管是脹接的。圓形聯箱不在管孔對側開手孔,水冷壁管是焊接的。下降管是兩根φ102mm的無縫鋼管,上端分別脹接在上鍋筒兩端,下端與前聯箱連接。鍋筒及全部爐管的重量由下鍋筒底下的兩個鐵座(一個固定,一個滑動)支承。
鍋爐前面是爐膛,對流管束由三道隔火墻隔成三個煙道。燃煤在活動爐排上燃燒,煙氣從爐膛左側進入第一個煙道,按“Z”字形流動,橫向沖刷管束。
這種鍋爐的優點是結構緊湊、彈性好,制造安裝都很方便,金屬耗量小熱較率高。缺點是汽水容量小,運行中易發生缺水事故,對水質處理要求高,手工加煤時體力勞動強度大。
雙橫鍋筒彎水管鍋爐的蒸發量為2、3、4t/h;蒸汽參數為13at<sub>表壓<sub>,飽和溫度(或250℃的過熱蒸汽);鍋爐熱效率約為70~75%。
(三) 雙橫鍋筒煤粉鍋爐
雙橫鍋筒煤粉鍋爐是我國生產的一種新爐型,如圖7所示。
圖7 雙橫鍋筒煤粉鍋爐
1―上鍋筒 2―對流管束 3―省煤器 4―下鍋筒 5―空氣預熱器 6―聯箱 7―爐膛 8―水冷壁
此種鍋爐的結構特點主要表現在風煤煙系統上。“鍋”的部分仍然是上、下鍋筒,水冷壁管和對流管束。上、下鍋筒橫向布置,中心位于同一垂直線上,上鍋筒直徑較大(φ1200mm),它的重量通過對流管束由下鍋筒(φ900mm)支承。水冷壁管為φ51mm的無縫鋼管,沿爐膛的四壁鋪設,但在后墻上部排列較稀,形成防渣排管。對流管束直徑為38mm,在其間布置有隔火墻。尾部煙道內布置有省煤器和空氣預熱器。
兩個煤粉燃燒器對稱地布置在側爐墻的中下部(圖7爐膛中下部空白處)。火焰通過輻射將熱量傳給水冷壁管;高溫煙氣由爐膛上升,經過防渣排管,沿隔火墻隔成的回路流過對流管束,通向尾部的省煤器和空氣預熱器,最后經除塵器由排風機排入煙囪。
雙橫鍋筒煤粉鍋爐目前使用的有SHS20-13及SHS20-25/400兩種。這種鍋爐的體積比較小、金屬耗量較低、熱效率較高,但系統較復雜(比一般小型鍋爐增加了熱風系統和煤粉制備系統),運行操作要求較高。
水管鍋爐的結構型式非常多,如雙縱鍋筒拋煤機型鍋爐(SZP型,又稱Д、К、В型)、雙橫鍋筒鏈條爐排鍋爐等都是常用的爐型,其本體結構都大致相同。
五、 水火管鍋爐
水火管鍋爐是帶有水汽壁的臥式外燃鍋爐,也就是近年通常講的臥式快裝鍋爐。它由臥式外燃回火管鍋爐發展而來,是當前國內應用數量最多的一種鍋爐。
快裝或整裝是指在制造廠組裝好,整體運往使用單位,所以要求它結構緊湊、尺寸小、重量輕,以便于運輸和迅速安裝。
臥式快裝鍋爐主要由鍋殼、煙管、水冷壁管、下降管和前后煙箱等部分組成。鍋殼是一個兩端帶有平形封頭(管板)的圓筒形殼體,筒殼兩側中部開有一排連接水冷壁管的管孔,中下部開有連接下降管的管孔,上部開有人孔。前后管板向內板邊與筒殼連接,它的中下部開有許多用以脹接煙管的管孔。煙管一般φ57×3的無縫鋼管,與前后管板脹接后板邊成喇叭形。水冷壁管(上升管)一般采用φ63.5×4的無縫鋼管,上端與鍋殼、下端與聯箱(φ159×6無縫鋼管制成)焊接。下降管(φ133×6)也是上端與鍋殼、下端與聯箱焊接。這種鍋爐采用外燃爐膛,燃煤在鍋筒下面的爐排(固定爐排或鏈條爐排)上燃燒,火焰經后拱上部的燃燼室向上進入煙室,由煙室進入第一束煙管到前煙箱,再折回到第二束煙管通往省煤器,然后由引風機抽到煙囪排出。
這種鍋爐的主要優點是:結構緊湊,體積小,整裝出廠便于運輸安裝,金屬耗量小;煙速較高,傳熱效果較好,熱效率高,生火啟動較快。主要缺點是:鍋殼受熱部位沉積泥渣時傳熱惡化,易過熱鼓包變形;排污系統布置不夠合理,影響排污效果;前后管板與筒體間的角板拉撐系全焊結構,受力情況復雜,易于被拉裂或導致筒體出現裂紋,甚至釀成大事故;煙管外面的水垢不易清除;水容積小,水位下降快,需保證連續供水。
臥式快裝鍋爐的蒸發量有1~4t/h數種;蒸汽壓力為8at<sub>表壓<sub>或13at<sub>表壓<sub>,飽和溫度;重量在7.8~26t的范圍內(包括鐵皮外殼和底座)。
泵站司機安全風險管控崗位風險告知卡
主要機具防護措施
防機械傷害措施
提升機的安裝、拆除安全技術措施
塔機機安裝、拆除的安全技術措施
加工廠制冷機房較大危險因素防范措施
基于BIM技術的ALC板材精準暗開槽施工…
一種大型劇院舞臺大翻板設備安裝施工…
工廠安全隱患及預防措施
安全生產事故隱患預防措施
設備維修安全注意事項
車間崗位安全風險點及控制措施
金屬切削機械操作安全技術
叉車安全使用注意事項
機械加工廠里常見的安全隱患及預防措施
電流對人體的危害