???? 注:1——下短節;2——控制閘門;3——上短節;4——管道
??? 
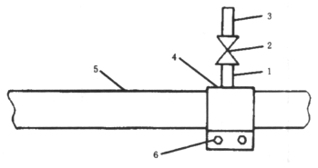
???? 圖6 卡子式掃線接口示意圖
???? 注:1——下短節;2——控制閘門;3——上短節;4——管線接口卡子;5——管道;6——固定卡子螺栓
?
絕緣螺栓防護(5)
???? 絕緣螺栓防護是指用強度較高的絕緣材料制成螺栓,應用于管線法蘭與容器法蘭之間加絕緣盲板的臨時固定,以隔離管線與容器法蘭的電焊雜散電流通路,保障動火安全。絕緣螺栓防護的應用見圖7。
??? 
???? 圖7 用絕緣螺栓臨時固定的連接法蘭
???? 注:1——動火焊接管線;2——絕緣螺栓;3——絕緣盲板;4——法蘭;5——接容器
???? 從圖中可知,更換管線與閥門法蘭固定連接,不允許有靜電通過兩法蘭到容器,采用的辦法可在兩法蘭之間加絕緣盲板。當更換管線動火焊接時,更換管線法蘭與閥門法蘭連接必須用螺栓連接固定,如果用金屬螺栓,則靜電和電焊機雜散電流通過螺栓流向容器,因此采用絕緣螺栓防護,以保障動火安全。
?
結束語(6)
???? (1)石棉防護盲板和金屬盲板都是應用于隔離動火一方與不動火一方的防護。兩種盲板合用,既解決承受壓力小問題,又可以隔斷雜散電流。
???? (2)防止被動火設備因電焊機雜散電流引起火災而設置的專用接地線,把雜散電流引入大地,保障動火作業安全。由于人們對它的流動范圍缺乏深入的研究,不清楚雜散電流的流動范圍和危害程度,因此,防護接地線的精確防護范圍有待我們今后進一步進行研究探討。
???? (3)焊接式掃線接口用氣焊或電焊焊在管道上面,卡子式掃線接口放在管道上,用固定卡子螺栓固定牢固,兩種方法都解決了加裝掃線接口問題,可根據作業現場情況選用。
???? (4)絕緣螺栓防護應用于管線法蘭與容器法蘭之間加絕緣盲板的臨時固定,以隔離管線與容器法蘭的電焊雜散電流通路,保障動火安全。?
通風隊木工房防止地面火災的措施
可燃和有毒氣體檢測裝置安裝高度要求
安全處理易燃易爆粉塵
生活區防火措施
加油站火災事故的預防對策
防火涂料施工專項措施
建筑消防設施維護保養作業指導書
化工倉庫防火安全技術總指導
消防防火安全措施方案
消防安全出口設置要求
動火作業安全注意事項
消除靜電的方法有哪些?
火災事故應急處置措施
冬季安全生產六防措施
安全疏散通道的設置要求
企業火災事故預防措施