










附加說明:
本標準由中華人民共和國勞動部提出。
本標準由全國勞動防護用品標準化技術委員會歸口。
本標準由冶金部建筑研究院負責起草。
本標準主要起草人王玉榮,沈曉明,劉金榮。
本標準參照采用日本標準JIS8157-82《防粉塵用帶電扇呼吸保護具》。
《電動送風過濾式防塵呼吸器》編制說明
電動送風過濾式防塵呼吸器是為保護勞動者安全、健康和提高勞動效率而研制生產的一類勞動保護用品,它直接為保護勞動力、提高生產率服務,因而對提高勞動者技術、體質、勞動能力以及防治并減少職業病起到了積極作用。
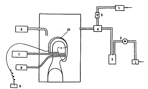
電動送風過濾式防塵呼吸器為利用電池或蓄電池使呼吸器內部(或腰間)放置的微型電動風機旋轉,將經過濾除塵的干凈空氣吸入呼吸器內使佩戴者盡管在污染的環境中工作,仍能呼吸到干凈空氣。從而改善了勞動者的工作條件。
早在六十年代。國外就有此類產品問世。如英國當時類似產品為“氣流式防塵罩具”,隨之制定了相應的標準“通氣管的面罩說明書”(BS4532-69)。其產品結構簡單,僅有一個口罩及一個通向外界的輸氣管,用于水下臨時性作業。七十年代,產品得到發展,相應制定了“正壓、動力除塵呼吸器”(BS4558-70)、“正壓、動力除塵工作帽與工作服”(BS4771-71),它適用于有固體微粒、煙霧及不含有毒氣的地方或不含有蒸氣存在的地方,從而適用范圍得到擴大。1983年對BS4532-69又進行了修改,使產品更加先進合理。世界上其它國家也相繼出現了類似產品及標準。如西德于1984年制定了“全呼吸保護設備”(DIN5864-84)國家標準,1987年也有產品進入我國。法國于1983年制定了NFS76-001等(呼吸保護裝置)國家標準(詳見表1)。美國和日本也有類似產品及說明書。日本于1982年在1975年制定的JISTS151-75(防塵面具)基礎上加以修改并公布了JIST8157-82(帶電扇、防粉塵呼吸保護具)標準,從而使產品更加完善、合理、先進。這些國家的工作無疑對全世界的勞動保護工作起到了推動作用。
目前我國縣以上有塵企業約占工礦企業總數的40%,而塵點合格率僅有38.9%,有相當部分工礦企業粉塵及微粒超過了TJ36-79規定。據調查某水泥廠盡管采取局部排煙措施,然而在水泥生產線的生料磨、水泥磨和雙嘴包裝機三處粉塵排放濃度達150mg/m3,有的超標1900倍。有的企業石棉塵最高超標440倍,有的企業煤塵最高超標920倍,有的企業矽塵最高超標竟達3980倍。冶金黑色、有色金屬冶煉過程中車間金屬粉塵濃度也很高,Al、Cu等生產崗位更為突出,焊接崗位,特別是在密閉容器內焊接。焊煙濃度為100~800mg/m
我國近年來隨著勞動保護、安全生產工作的日益深化,相繼出現了許多給勞動者帶來福音的產品和標準。早在六十年代,我國為解決工作現場粉塵對勞動者的危害進行了大量工作,特別是八十年代初,出現了防塵口罩,防毒面具,長管式防毒、防塵面具,電動風速防塵面具等等,它們均在一定場所有效地防止了粉塵、毒氣對人體的危害,改善了勞動條件。但應指出:這些產品由于結構、供氣方式及性能使得應用范圍受到一定限制。如長管式面具由于供氣靠一根長管通過壓縮機等將新鮮空氣送入面具內,壓縮空氣增加了現場的噪音,輸氣管使得佩戴者行動大受限制,從而給現場工作帶來一定不便。為此,八十年代初我國電動送風防塵呼吸器問世。如冶金部建筑研究總院研制,經冶金部鑒定,生產了“電焊工防塵面罩”,之后又發展了“爐窯用防塵面罩”及“一般用防塵面罩”。此類產品是利用呼吸器內部風機吸入經過濾除塵的干凈空氣供人體呼吸,從而克服了送氣長管造成的不便及工作范圍的局限性,擴大了使用范圍。但此呼吸器決不可取代其它呼吸器,只能根據現場條件因地制宜地選取合適的呼吸器。
應當看到:隨著工業不斷發展,隨著勞動保護地位的不斷提高,我國國民經濟建設對此系列產品(密合型、開放型、頭罩型)提出了更高要求;迫切需要它配套并盡快進入國際先進行列,研制具有國際水平的系列產品。因而制定送風防塵面具的通風技術條件及相應的產品標準成為當務之急。
一、標準制定原則
本標準依據貫徹“積極采用國際標準或國外先進標準”原則,結合我國現有產品狀況,盡快將我國產品水平推向世界先進行列相結合作為本標準制定的原則。
國際上許多國家對此類產品多年來做了大量工作,日本在這方面的標準工作盡管起步較晚,然而發展卻快。八十年代初他們為了擴大產品、促進產品產量,使之盡快走向世界,先后制定了一系列的通用技術條件、產品及相關的試驗方法,維修、保管及選取的大量標準,經不斷修改、提高,使之更先進、完善,形成了一個系列化的呼吸面具標準。
日本JIS T8157-82標準與我國現有產品屬一類,但應指出目前我國產品在防護率方面與此標準有一定差距,但驗證充分證明經過努力是可以達到或超過的。從制定標準的原則出發,由于國際ISO組織無此類產品的國際標準,則采用JIS TS157-82作為本標準的參數,對于提高我國產品質量、趕超世界先進水平是有促進作用的。
GB6220~6221-86(長管面具)屬呼吸面具的一種,與本標準區別僅在于吸取空氣的來源及方法不同,產品性能及試驗方法基本相同,因而采用此標準作為試驗方法的參照,以便于呼吸系統呼吸器試驗方法的統一,有利于將來國家對此類產品的試驗、維修、保管及選用的統一。因此本標準部分試驗方法是以GB6221為參照的。
二、電動送風過濾式防塵呼吸器評價
評價電動送風過濾式防塵呼吸器是關系到產品結構、性能和質量的大事,只有準確評價才能恰當地鑒定產品的實際水平,才能不斷的促進產品質量的提高,也才能確保產品獲得良好的保護效果。
?。ㄒ唬┟Q更改
1987年勞動人事部下達課題為《送風防塵面具》國家標準。
本呼吸器系利用電動風機送風,過濾器除塵,使佩戴者吸到清潔空氣,而呼出的氣體及剩余氣體由排氣閥或顏面與面罩或人體之間排出,粉塵及微粒難于進入的個體防護裝置。
由于本產品特點為電動風機(微機)送風,必須是隨身攜帶的;空氣必須是經過濾器將現場污染空氣過濾為清潔空氣;按我國勞動保護用品分類應屬呼吸器。根據專家的多次函審、討論及會審一致認為應根據特點將《送風防塵面具》改變《電動送風過濾式防塵呼吸器》。
?。ǘ┬g語解釋
1.粉塵微粒 指在空氣中游離的粉塵、霧塵和煙塵之總稱,但揮發性粒子除外。其中:
粉塵——固體物質被粉碎產生的微小顆粒懸浮于空氣中的體系,一般粒徑大于1μm。
霧塵——液體微小顆粒分散飄浮于空氣中的分散體系。
煙塵——固體物質的高溫蒸氣被氧化或遇冷后凝聚成固體小顆粒分散懸浮于空氣中的體系,一般粒徑小于1μm。
2.防護率 呼吸器內部與外部粒狀物質濃度之差與呼吸器外部粉塵微粒濃度之百分比為該呼吸器防護率。它是檢定呼吸器內部實際含有塵氣體及塵粒狀況,是檢驗產品防護效果的重要指標。
應當指出采用防護率作為檢定呼吸器防護性能的原因在于:
?。?)呼吸器吸入氣體采用作業現場的污染空氣,其有害物質濃度一般均超過TJ36-79規定。
?。?)呼吸器吸入的污染空氣均指空氣含有害無毒或低毒污染物,其作業同場污空氣含氧量不得低于18%。
(3)呼吸器總泄漏允許程度遠遠高于過濾防毒面具及長管面具,見表1。
表1 不同呼吸器防護率 %

注:1.過濾式防毒面具及長管面具之防護率按其泄漏率轉換而成。
2.過濾式防毒及長管面具之泄漏率按面具種類而分級別,相當于本表三個級別。
3.采用防護率系參照日本JIS T8157-82標準。
由此看出對于該種呼吸器以防護率反映呼吸器防護效果要比以泄漏率表示更為確切。本標準采用防護率反映其防護效果是合理的。
?。ㄈ┗疽?BR> 1.粉塵及微粒
對于空氣中游離的粉塵、霧塵及煙塵系指TJ36-79規定的有害無毒或者低毒物質。其濃度凡超過規定者均應進行整體或個人防護。
眾所周知對人體有害的游離狀粒子;凡在7~1μm之間對人體有害;引起塵肺的粒徑為小于1.1μm。由此看出粉塵對人體危害極大。
本標準所指粉塵及微粒泛指游離在空氣中的粉塵、霧塵及煙塵。由于使用呼吸器時吸入空氣為現場被污染的空氣故游離的有毒物質及有毒氣體不得超過TJ36規定,空氣中含氧量不得低于18%。對于引起爆炸的環境也不可使用。
2.防護率
本標準采用防護率二級指標。
如前所述防護率是檢定呼吸器防護性的重要指標。參照國際先進國家的標準(見表2),指標必須與國際先進水平相當,故本標準防護率Ⅰ級、Ⅱ級均采用與日本上當的指標。
如表3所示,對于呼吸器只要在結構、配套微型電動風機、過濾裝置等方面采取進一步的節流措施,呼吸器防護率就有明顯提高,故采用二級指標對國內產品也是適用的,對提高質量,趕超世界先進水平均有促進作用。
表2 防護率比較 %

表3 呼吸器結構對防護率影響

3.呼吸器最低送風量
為了使佩戴者不吸入粉塵及微粒,必須使呼吸器內部空間具有足夠的氣量在呼吸器內部形成微正壓,從而使外部環境不得進入呼吸器內而達到保護作用。此類產品均以滿足在罩內形成微正壓作為產品的設計原則。因此通過產品合理設計及電機正確選擇,以確保呼吸器內部形成微正壓的最低必需風量指標成為呼吸器是否合格、是否先進必不可少的技術要求。對于不同產品制造廠均給出不同的額定最低送風量。
一般人平均肺活量為1200~2000ml,按最大量計算,每分鐘需氣量為30L,因此產品設計采用了三倍氣量來選取電動機是合理的,足以滿足人體呼吸的要求。故產品標準中明確規定電動機功率為1瓦;額定電壓為4~4.5伏特;額定電流為0.35安培是合理的。
考慮到風道,過濾器等阻力損失,對于開放式呼吸器又考慮到面罩與臉面間正常余氣的排出,真正需要形成微正壓的風量必須大于吸氣量。
根據試驗,對此種試驗呼吸器只要當送風量低于65~60L/min,防護率將明顯降低(外界粉塵濃度一定),故該呼吸器在該濃度條件下使用時,其額定最低風量不得低于65L/min(在額定工作時間內)。
根據上述理由本標準對額定最低風量不做具體規定,其值依據呼吸器性能及使用現場條件而定。但在使用說明書中必須標明電源額定工作時間,額定最低送風量及可能使用時間與粉塵濃度關系,以確保使用期間面具應有的防護性能。
4.密合型呼吸器
JIST8157標準中規定密合型面具應有內壓試驗的要求本標準未做規定,其理由為本標準防護率試驗中已規定了對密合型呼吸器進行絕對過濾器阻力試驗及要求,試驗證明完全可以代替內壓試驗,故取消內壓試驗。本標準只規定通用性能對于密合型呼吸器的通氣阻力,氣密性試驗及視野均在密合型電動送風過濾式防塵呼吸器標準中具體規定。
三、電動送風過濾式防塵呼吸器試驗方法
作為呼吸器試驗方法本身,首先應具有科學性,同時體現出先進性一現實可行性。既在保證方法可靠的前提下,結合國情盡可能采用國內外先進方法(包括儀器設備),從而既有利于加強國內產品質量管理,又利于與國外同類產品進行比較,這是編制本標準的基本思想。鑒于此基本思想,在制定本標準時主要參照了GB6221中使用的部分儀器、試驗介質及試驗方法?,F對幾個主要方法說明如下。
(一)呼吸防護率試驗方法
試驗方法確定
(1)試驗條件
本標準是為檢定電動送風過濾式防塵呼吸器而采用的試驗方法,本呼吸器與長管面具區別在于送氣方式不同,防護作用要求量一致,就防毒塵、毒氣而言長管呼吸器在防護性能方面要求更高,但試驗條件屬同類。經大量試驗及近年實踐充分證明了長管面具所采用的防護率試驗方法是可行的,測定粉塵濃度的鈉焰法是世界公認的先進方法,國內檢定高效過濾材料透氣率及阻力均采用鈉焰法納入國家標準(GB6166-85)。因此本標準直徑引入GB6221中的防護率試驗條件及裝置。
?。?)試驗介質
日本標準JIS T8157-82采用的試驗介質為焊接煙塵。本標準采用氯化鈉氣溶膠其理由如下。
?、俾然c氣溶膠粒子中徑小于0.5μm,粒子在穿透力最強的粒徑0.1~0.5μm范圍內具有代表性。試驗時易于捕集,易于均勻化,現實可行。故一般對中高效過濾材料測定性能時采用之。對一般呼吸面具也采用氯化鈉氣溶膠為有害物試驗介質。
?、谶M行呼吸器性能試驗國際上各有不同試驗介質。如法國NF-S76-014中規定采用氯化鈉氣溶膠,也可采用石蠟油霧及白云石為試驗介質;西德DIN58645-84中明確規定采用氯化鈉氣溶膠為試驗介質;日本JIS T5187-82采用電焊煙塵。由此看來氯化鈉氣溶膠是世界公認的理想介質。
?、畚覈鳪B2891.6-82及GB6221-86均采用氯化鈉氣溶膠為試驗介質。為了便于今后我國呼吸器試驗方法的統一,本標準采用了國際先進,國內通用的氯化鈉氣溶膠作為試驗介質。
?、軡舛葐栴} 本標準采用與長管面具相同的濃度1mg/m3。這是由于本試驗裝置對濃度為1mg/m3的氯化鈉氣溶膠最敏感,試驗數值最準確、可信,故采用1mg/m3作為試驗柜中介質的濃度。
(二)呼吸器送風量試驗
對于呼吸器而言,其送風性能直接關系到防護效果,無論哪一類呼吸器一旦送風量不足,在佩戴者正常呼吸時,引起呼吸器內部形成負壓狀態,外界被污染的空氣正常補充,使呼吸器內部空氣被污染、防護率降低,因此必須對送風量有一定限制。
1.要求
測定呼吸器內送風量必須做到如下幾點:
(1)電源 采用干電池時必須以更換的新電池進行測試;采用蓄電池或充電電池時必須用新充的蓄電池或充電電池進行測試。
?。?)過濾材料 過濾材料必須為新品時進行測試。
2.額定工作時間的送風量
呼吸器送風量與時間(使用)有關。只有在電源允許使用的時間內才有可能評定呼吸器送風量,當超出了電源允許的使用時間,送風量隨電源的電壓、電流及轉速的下降而低于額定最低風量,測試無意義,故明確規定測試送風量必在額定工作時間內測試其初始送風量及最低送風量的合理性。
(三)其它
對于分離式呼吸器的共性為呼吸器外部供氣,電源、電動風機及過濾器均在腰間等處攜帶。干凈空氣靠軟管輸入呼吸器內,故對軟管、中壓軟管及其連接件的要求有待分類產品標準中規定之。
對于密合型、頭罩型電動送風過濾式防塵呼吸器,其通氣阻力、氣密性試驗方法應在分類產品標準中規定之,本標準不另作規定。
四、存在問題
如上所述,本標準是本著國內外相結合的原則制定的,根據我國目前工業發展水平,許多環節未達到世界先進水平,對本產品而言本應做到:
?。ㄒ唬┓雷o率高
防護率越高,勞動保護效果越好,對勞動者身體健康越有利。本產品特點為微型軸流風機送風,希望電動風機體積小、重量輕,噪聲小,使用壽命長。由表7可知國產電機性能與西德同類產品有一定差距,有待提高。
表7 電動機對照

?。ǘ┟睔ぜ懊嬲植馁|要求
要求材料強度高、彈性好、易于成型,與人體接觸部分對人無害的理想材質。目前英國、西德、日本等國家大都采用硬塑壓鑄而成,重量輕、美觀。但這樣材質有待提高,生產工藝有待改進。目前采用玻璃鋼制成,制造難度大、重量大、影響使用效果。
?。ㄈ┻^濾性能
不同濾料其過濾效率不同,呼吸防護率也不同。目前日本等國的濾料性能明顯優于國產濾料,因而呼吸防護率的提高也有待于濾料質量的提高。
國產濾料對于液塵(酸液等)油漆等揮發性物不能過濾,直接影響到呼吸器適用范圍。故有待于濾料性能的提高。
我們深信,隨著我國改革步伐深入,工業不斷的發展,上述等問題定會盡快得以解決,標準也會進一步提高和完善,最終使我國產品走在世界先列,真正改善勞動者的工作條件,達到勞動保護作用,為提高中華民族的健康水平,為使我國盡快走到世界先進行列作出貢獻。
政務服務中心運行規范 第3部分:窗口…
政務服務中心標準化工作指南 第2部分…
政務服務中心運行規范 第2部分:進駐…
政務服務中心運行規范 第1部分:基本…
政務服務中心網上服務規范
青瓷器 第4部分:青瓷包裝容器
地震名稱確定規則
地震觀測儀器進網技術要求 地電觀測…
糕點、面包衛生標準【作廢】
棉紡織企業安全生產規程
海上固定平臺安全規則(試行)
以噪聲污染為主的工業企業衛生防護距…
生產經營單位安全生產事故應急預案編…
學校衛生監督綜合評價
勞動防護用品分類與代碼
城市區域環境振動標準