1 主題內容與適用范圍
本標準規定了自吸過濾式防塵口罩(以下簡稱防塵口罩)的術語、分類、技術要求、試驗方法、檢驗規則、標志、包裝、運輸、貯存和使用。
本標準適用于生產、銷售和使用的各類防塵口罩。
本標準不適用于環境中氧低于18%和有毒氣體使用的呼吸器。
2 引用標準
GB 2428 中國成年人頭型系列
GB 2828 逐批檢查計數抽樣程序及抽樣表(適用于連續批的檢查)
GB 2829 周期檢查計數抽樣程序及抽樣表(適用于生產過程穩定性的檢查)
GB 5748 作業場所空氣中粉塵測定方法
GB/T 12903 個人勞動防護用品術語
3 術語
3.1 自吸過濾式防塵口罩self-inhalation filtertype dust respirator
靠佩戴者呼吸克服部件阻力,用于防塵的過濾式呼吸護具。
3.2 簡易防塵口罩simple dust mask
吸氣和呼氣都通過濾料的自吸過濾式防塵口罩。
3.3 復式防塵口罩complex dust mask
配有濾塵盒和呼吸閥,吸氣和呼氣分離的自吸過濾式防塵口罩。
3.4 阻塵效率dust collection efficiency
在一定的粉塵濃度和氣流條件下,佩戴防塵口罩和不佩戴防塵口罩,兩測塵濾膜增重值之差與不佩戴防塵口罩時濾膜增重值之比,用百分數“%”表示。
3.5 吸氣阻力inhalation resistance
防塵口罩佩戴在模擬頭型上,以一定的氣流量抽吸通過口罩時產生的壓力降。用Pa(mmH
2O)表示。
3.6 呼氣阻力exhalation resistance
防塵口罩佩戴在模擬頭型上,以一定的氣流量吹氣通過口罩時產生的壓力降,用Pa(mmH
2O)表示。
3.7 模擬頭型dummy head
為進行防塵口罩的阻塵效率、呼吸阻力、死腔、視野等性能測試,尺寸符合GB 2428 7號規定的試驗用頭型。
3.8 視野visual field
佩戴口罩時,頭部固定不動,雙眼在視野計上所能看見的范圍,單位:度。
3.9 口罩死腔dead space of the mask
防塵口罩佩戴在模擬頭型上,口罩與面部之間形成的空間,單位:毫升。
4 防塵口罩分類
4.1 復式防塵口罩。
4.2 簡易防塵口罩。
5 技術要求
5.1 所用材料應對人無異常氣味,無過敏性,無刺激性傷害。
5.2 濾塵材料見附錄A(補充件)。
5.3 口罩性能,應符合表1要求。
表1

6 口罩性能試驗
6.1 器材
6.1.1 模擬頭型 符合GB 2428 7號要求。
6.1.2 氣體流量計 精度±2.5%,大于30L/min。
6.1.3 微壓計 精度1.96 Pa(mmH
2O),量程不低于294 Pa(30mmH
2O)。
6.1.4 分析天平 感量不低于0.0001g。
6.1.5 發塵裝置(圖1)
a. 有效容積 不小于0.8m
3;
b. 濃度控制 40±10mg/m
3。
6.1.6 試驗粉塵 醫用滑石粉,懸浮粒徑小于5μm占90%以上,小于2μm占70%以上。
6.1.7 測塵采樣器 應符合GB 5748附錄A A2要求。
6.1.8 測塵濾膜 應符合GB 5748中3.2.2要求,采用直徑為40mm的過氯乙烯纖維濾膜。
6.1.9 呼氣閥氣密性測試裝置
a. 氣體流量計 0~1 000mL;
b. 水柱式壓力計 0~1 960 Pa(200mmH
2O);
c. 抽氣泵 最大抽氣量1.5L/min。
6.2 阻塵效率 將口罩裝在模擬頭型上,然后按下列程序進行:
a. 測塵濾膜稱量并置入測塵采樣夾,裝進模擬頭型中的采樣環,擰緊。
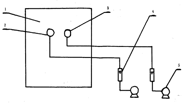
b. 將佩戴口罩的模擬頭型放入發塵柜中,聯接好采樣孔與測塵采樣器間的皮管(圖1)。

圖1 阻塵效率測定裝置示意圖
1―發塵柜;2―對照采樣;3―模擬頭型;4―流量計;5―真空泵
c. 將準備好的測塵濾膜夾好后,放入一個不佩戴口罩的模擬頭型中的采樣環上,放進發塵柜中,并聯接好采樣孔與測塵采樣器間的皮管,然后關閉柜門。
d. 啟動開關,以30L/min的流量,使含塵40±10mg/m
3的空氣通過兩個模擬頭型的鼻孔,經10min取下兩模擬頭型后的測塵濾膜,在分析天平上進行稱量,依式(1)計算口罩的阻塵效率。

式中:A——佩戴口罩模擬頭型測塵濾膜粉塵增重,mg;
B——不佩戴口罩模擬頭型測塵濾膜粉塵增重,mg;
η——阻塵效率,%。
6.3 吸氣阻力 將口罩裝在模擬頭型上,按圖2接好微壓計、流量計和抽氣泵,以30L/min的流量抽氣,觀測戴口罩和不戴口罩的壓力差,即為吸氣阻力值。

圖2 呼吸阻力測試裝置示意圖
1―模擬頭型;2―被測口罩;3―三通;4―微壓計;5―氣體流量計;6―流量調節螺旋夾;7―緩沖瓶
6.4 呼氣阻力 按6.3方法,以30L/min的流量反吹,觀測戴口罩和不戴口罩時的壓力差,即為呼氣阻力值。
6.5 吸氣阻力上升值 按6.3規定測出口罩的吸氣阻力值,然后按6.2規定,在含塵40±10mg/m
3的柜體中。以30L/min的流量通過口罩,經90min后取下口罩,再按6.2.3規定測出口罩的阻力,即為吸氣阻力上升值。
6.6 濕氣阻力上升值 按6.3規定測出口罩的吸氣阻力值,然后將佩戴口罩的模擬頭型置入相對濕度大于95%的柜體中,以30L/min的流量抽氣,使水蒸氣通過口罩,10min后再按6.3規定測口罩的阻力,即為濕氣阻力上升值。
6.7 死腔 將口罩戴在模擬頭型上(有閥口罩需將呼吸閥孔封閉),使頭型面部朝下,通過頭型后的開孔向口罩內緩慢注入水,待填滿后倒出口罩內的水,用量筒測定水的容量,即為死腔容積(mL)。
6.8 視野 選一視力不低于1.0正常人用弓形醫用視野計測定佩戴口罩時的下方視角,即為口罩的下方視野(度)。
6.9 呼氣閥氣密性 將呼氣閥裝在氣密性測試儀的閥座上以不大于500mL/min的流量抽氣至負壓980 Pa(100 mmH
2O)時停止抽氣,啟動秒表,記下壓力計水柱恢復至正常壓力時所需的時間。
7 檢驗規則
7.1 檢驗分類
7.1.1 出廠檢驗由制造廠的質檢部門按GB 2828中規定的正常檢查一次抽樣方案進行。
7.1.1.1 檢驗項目為:
a. 阻塵效率;
b. 吸氣阻力;
c. 呼氣阻力(無閥口罩不做此項);
d. 呼氣閥氣密性(無閥口罩不做此項)。
檢查水平:特殊檢查水平S-2,合格質量水平AQL=6.5。
7.1.1.2 檢查批量和樣本大小,防塵口罩,以每1~2d為一檢查批,最大檢查批量不超過10 000只,按GB 2828中表2的規定隨機抽取。
7.1.2 型式檢驗 有下列情況之一時應進行型式檢驗:
a. 新產品或老產品轉廠生產的試制定型鑒定;
b. 正式生產后,如結構、材料、工藝有較大改變可能影響產品性能時;
c. 正常生產每年應進行一次周期性檢查;
d. 產品停產6個月以上恢復生產時;
e. 發生出廠產品檢驗結果與上項型式檢驗有較大差異時;
f. 國家質量監督機構提出進行型式檢驗的要求時。
7.1.2.1 檢驗項目、不合格分類、判別水平、不合格質量水平值(RQL)按表2規定進行。由國家指定的產品質量檢驗部門按GB 2829中規定的一次抽樣方案進行。
表2

注:1)阻力系指吸氣阻力、呼氣阻力、吸氣阻力上升值、濕氣阻力值。復式防塵口罩只做前3項,簡易防塵口罩不做呼氣阻力,其他項均做。
7.1.2.2 檢驗后的處理
a. 企業每年周期性檢查結果合格是能進行逐批檢查的依據。
b. 企業周期性檢查不合格,主管質量部門要認真調查不合格原因,若造成不合格原因能馬上糾正,則允許糾正后制造的產品進行周期檢查;若造成周期檢查不合格的產品通過篩選的方法剔除或可以修復,則允許經篩選或修復后的產品進行周期檢查。
c. 周期性檢查不合格原因不能馬上糾正,企業應暫時停止該周期檢查時代表產品的正常批量生產。只有在上級主管質量部門的監督下,采取糾正措施后制造的產品,經周期檢查合格后,才能恢復正常批量生產和逐批檢查。
d. 在規定的時間內,企業未能采取有效糾正措施使產品周期檢查合格,全國勞動防護產品生產許可證辦公室收回企業的生產許可證。企業采取了有效糾正措施后,可向發證部門重新申請生產許可證,并按簡化程序辦理手續。
8 標志、包裝、運輸和貯存
8.1 產品標志,應放置在口罩主體正面的上部或下部,產品標志的基本內容包括:
a. 制造廠名;
b. 產品名稱;
c. 商標;
d. 產品型號或標記;
e. 工業生產許可證編號;
f. 生產批號或生產日期;
g. 安全鑒定證。
其中a、d、e、g必須具備。
8.2 包裝
8.2.1 產品應根據口罩分類,分別采用箱裝、盒裝和塑料袋裝。
8.2.2 產品包裝隨帶資料:
a. 產品合格證;
b. 產品說明書;
c. 裝箱單;
d. 其他有關的技術資料。
8.3 貯存
8.3.1 貯存場所,產品庫存不得與酸堿及其他有毒物品放在一起。通風、干燥、溫度應保持在0~35℃。
8.3.2 貯存期限,最長不得超過2年,超過2年存期的口罩應2‰抽樣進行復檢。其檢驗項目為阻塵效率、呼吸阻力和閥氣密性,取得合格證明后方能銷售,使用。
8.4 運輸
8.4.1 運輸條件,無論用何種運輸工具,在產品運輸時必須有遮蓋、防潮、防凍、防陽光照射。
8.4.2 注意事項,不得與酸、堿及其他有毒物品混裝運輸,保持產品清潔、衛生、不受污染。
9 使用
9.1 環境 不適用于含有煙氣和氧低于18%的環境。
9.2 范圍 在選用防塵口罩時應依據粉塵最高允許濃度和環境的粉塵濃度,可參照表3選用各類口罩。
表3

附錄A
防塵口罩濾料
?。ㄑa充件)
A1 適用范圍
本附錄適用于防塵口罩的濾料。
A2 技術要求
A2.1 材質 不得對人體皮膚產生刺激和過敏性有害影響。
A2.2 阻塵效率 超細纖維濾料大于95%,其他濾料大于90%。
A2.3 初始阻力值 小于40 Pa(5mmH
2O)。
A2.4 濕阻力上升值 小于147 Pa(15mmH
2O)。
A3 檢驗方法
A3.1 試樣 濾料不小于1m
2,從四周和中心各取直徑φ100mm試樣共5片。
A3.2 阻塵效率 取試樣裝入濾料檢驗夾具(圖A1),然后按本標準6.2的規定進行。

圖A1 濾料夾具示意圖
1―試樣固定蓋;2―試樣;3―測塵采樣器
A3.3 阻力值 初始阻力值和濕阻力上升值的試樣準備同A3.2,其后取樣測塵采樣器,然后分別按本標準6.3和6.6規定進行。
A4 合格判定
試樣平均值不得低于A2.2,A2.3和A2.4的規定,否則為不合格品。
附加說明:
本標準由中華人民共和國勞動部提出。
本標準由全國勞動防護用品標準化技術委員會歸口。
本標準由冶金部安全環保研究院起草。
本標準主要起草人佘啟元、周錫芝、于翔、楊慧、王德功。