? 1.燃氣炊事灶具
家庭及公用事業中常用的燃氣炊事用具形式很多,而且隨著廚房設備的進步,燃氣灶具在造型和性能等方面都有很大進步,型號、規格也十富多彩。
燃氣炊事灶具普遍采用引射式大氣燃燒器,頭部多為環形,火孔以圓形居多,少數為縫隙形和矩齒形。
圖3—8—1為壓電自動點火家用雙眼灶。它使用城市燃氣,火眼熱負荷右3.8kW,在3.2kW。灶面采用不銹鋼材料,燃燒器為鑄鐵件,用開關鈕調節器控制火力大小。它由進氣管l、開關鈕2、燃燒器3、火焰調節器4、盛液盤5、灶面6、鍋支架7和灶框8所組成。
?

除燃氣灶外,燃氣炊事灶具還包括蒸飯灶、烤箱灶等。
烤箱灶就是將燃燒器、烤箱、燒烤08等組合成的加熱烘烤食物的整體,如圖3—8—2。它由外部圍護結構和內箱組成。內箱包以絕熱材料展16,可減少熱損失,箱內設有承載物品的托網14和托盤13,頂部設置排煙口17。在內箱上部空間里裝有恒溫器的敏感元件15,它與恒溫器2聯合工作,控制烤箱內的溫度??鞠涞牟AчT上裝有溫度指示器18。
?

燃氣管道和燃燒器置于烤箱底部。燃氣由進氣管1經閥門6、恒溫器2、燃氣管3和噴嘴5進入燃燒器4,實現燃燒。點火采用壓電自動點火裝置,它由壓電陶瓷9、點火電極7和點火輔助裝置8所組成。燃氣燃燒生成的高溫煙氣通過對流和輻射換熱方式,用烤或蒸的工藝加熱食品,最后煙氣由排煙口17排入大氣中。
2.燃氣燒水器具
燃氣燒水器具,按其用途分為熱水器和沸水器兩類。
(1)燃氣熱水器
燃氣熱水器按其構造型式分為容積式和直流式兩種。
在直流式快速熱水器中,冷水流經帶有翼片的蛇形管,而被熱煙氣加熱。它能快速、連續供應熱水。熱效率比容積式熱水器要高5%~10%。
按控制方法可分為前制式和后制式,所謂前制式是在熱水器運行時用冷水進口閥門進行控制,熱水出口不得設置閥門;而后制式則是在熱水器運行時,用熱水出口閥門進行控制。
在容積式熱水器中貯存較多的水,間歇將水加到所需要的溫度。
容積式熱水器的貯水筒體分為開放式(常壓式)和封閉式兩種。前者是在大氣壓下把水加熱,其熱損失較大,但易清除水垢;后者是要求承受一定的蒸汽壓力,熱損失較小,但筒壁較厚,此外清除水垢較困難。
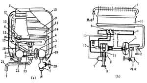
圖3—8—3(a)所示為前制式快速熱水器。由于它連續供水,故適合用水量少而且用水次數頻繁的場合,如醫院、化驗室、美容院、廚房等。
圖3—8—3(b)所示為前制式快速熱水器的工作原理圖。它由燃氣系統、水路系統、熱交換器和煙氣排除系統所組成。
?

燃氣系統包括:燃氣閥門8、閥門旋鈕9、壓電點火裝置7、點火燃燒器13、小火燃燒器6和主火燃燒器4等。
水路系統包括:自來水閥門l、調溫閥2、水氣閥3和水管等部件。
熱交換系統包括:燃燒室10和熱交換器5。
煙氣排除系統主要是指位于外殼頂部的排氣罩,對于熱負荷大的熱水器應設排煙管,當然這亦屬煙氣排除系統。
前制式快速熱水器工作原理如下:燃氣閥8具有自鎖裝置,只有將旋鈕9按下,閥桿才能轉動。當旋鈕沿逆時針轉動時,燃氣從彈簧閥11,經導管12流向點火燃燒器13,在旋鈕作逆時針轉動的同時,按動壓電點火裝置7完成電極放電,電火花將點火燃燒器點燃。燃氣閥沿逆時針方向繼續轉動至90°時,小火燃燒器6的燃氣通路接通,小火燃燒器被點火燃燒器點燃。此時當手離開燃氣閥旋鈕時,在復位彈簧作用下,使彈簧閥復位,切斷了點火燃燒器的氣源,點火燃燒器熄滅而小火燃燒器則正常燃燒,熱水器處于備用狀態。
當開啟上水閥門1,水通過閥體進入水氣閥3的右腔,然后經水量水溫調節閥2進入蛇形管和熱交換器5,從噴頭流出。
在水壓作用下水氣閥3的薄膜向左移,推動閥桿打開氣閥活門,與此同時薄膜左腔空氣由呼吸孔排出。燃氣流經閥門、配氣管從噴嘴噴出,引射一次空氣至主燃燒器頭部火孔處,被小火燃燒器點燃,在燃燒室10內實現穩定燃燒。熱煙氣與蛇管和熱交換器5進行熱交換,將流經蛇管、熱交換器的水加熱。
當扭動水量水溫調節閥時,改變了水路的流通截面積(不起關閉作用),水流量亦隨之變化。順時針旋轉,流通截面減少,水量減少而水溫升高;反之,水量增加而水溫下降。
當關斷上水閥門,水氣閥的薄膜右腔壓力等于大氣壓,在彈簧作用下薄膜右移,空氣自呼吸孔進入薄膜左腔,燃氣閥的活門關閉,主燃燒器隨之熄滅。
為了提高燃氣熱水器運行的安全性,目前在熱水器上又增沒了火焰熄滅保護裝置。即當燃燒器因某種原因中途熄火時,該裝置應自動關斷燃氣通路,以防由于燃氣泄漏而引起中毒、爆炸事故。另外還裝設了防止缺氧燃燒的裝置,即當缺氧時(造成化學不完全燃燒),該裝置應及時關斷燃氣通路。
圖3—8—4所示為快速加熱型封閉式容積熱水器,它的燃氣系統包括:燃氣引入管l、燃氣閥門裝置2、電氣點火裝置11、火焰檢測裝置(燃燒器安全裝置)10和主燃燒器13等;水路系統包括給水閥門16、減壓逆止閥17、貯水箱15及6、回流管4、出水閥9和排水閥14等;熱交換系統包括燃燒室3、熱交換器5;煙氣排出系統包括煙管、安全排氣罩18、排氣筒19等。
科技賦能,AI強安——談AI技術在石油…
危險化學品安全技術說明書(PDF版)
170種危險化學品安全技術說明書匯編
化工企業冬季安全生產須知——防火篇
化工企業冬季安全生產須知——防凍凝篇
有限空間作業如何預防窒息和中毒
有限空間作業切記注意安全!
夏季有限空間作業安全風險防范
危險化學品目錄(2015版)
危險化學品分類及其危險特性
對制度落實不到位的原因調查及解決辦…
職工安全生產的權利和義務
危險化學品的儲存
有限空間作業安全知識
柴油罐的存放
加油站安全知識手冊