? 一、概述
銅片腐蝕:在規定條件下,測試液化石油氣對銅的腐蝕趨向的試驗。
液化石油氣的銅片腐蝕試驗,主要是測定液化石油氣的腐蝕性程度。因為液化石油氣在儲運及使用過程中,均采用金屬容器罐裝,如果液化石油氣腐蝕性過強,就會造成儲運設備,容器的嚴重腐蝕,致使縮短使用期限,甚至引發其他危險。因此,這項試驗有重要意義。
我國現行的液化石油氣銅片腐蝕試驗法是采用SH/T 0232《液化石油氣銅片腐蝕試驗法》,該方法等效采用ISO 6521-1982《液化石油氣銅片試驗法》。
二、原理
將磨光的銅片,全部浸入裝有100mL已被水飽和的試樣的容器中,該容器應具有一定的工作壓力(≥7.0MPa),在40℃溫度下放置1h,取出后與標準色板比較,判斷其腐蝕級別。
三、儀器設備
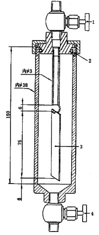
(1)銅片腐蝕試驗彈:由不銹鋼制成,容量約160mL。整套組件應能經受約7.0MPa的靜壓試驗,當用氣體約在3.5MPa壓力下試驗時應無泄漏,見圖1-6-4。
(2)恒溫水浴:能夠維持40℃±0.5℃的水溫并配有使試驗彈保持垂直的懸架或支架,有足夠的空間可以將整個圓筒(包括閥)浸沒。
(3)水銀溫度計:全浸0~50℃分度0.1℃。
(4)銅片磨光夾具:磨銅片用,能夠夾緊銅片且不損傷銅片邊緣,方便銅片磨光操作即可。
四、材料
(1)洗滌溶劑:標準異辛烷,或其他無硫烴類溶劑,例如石油醚(90~120℃)。
?

(2)銅片:電解銅,純度99.9%以上,長7.5cm,寬1.25cm,厚0.15~0.30cm,表面光滑經冷軋淬硬,且在一端中心3.0mm處鉆一直徑為3.0mm的小孔。
(3)磨光材料:65μm碳化硅或剛玉砂紙、砂布,拋光用150目的碳化硅或剛玉砂,以及藥用脫酯棉。
科技賦能,AI強安——談AI技術在石油…
危險化學品安全技術說明書(PDF版)
170種危險化學品安全技術說明書匯編
化工企業冬季安全生產須知——防火篇
化工企業冬季安全生產須知——防凍凝篇
有限空間作業如何預防窒息和中毒
有限空間作業切記注意安全!
夏季有限空間作業安全風險防范
危險化學品目錄(2015版)
危險化學品分類及其危險特性
對制度落實不到位的原因調查及解決辦…
職工安全生產的權利和義務
危險化學品的儲存
有限空間作業安全知識
柴油罐的存放
加油站安全知識手冊