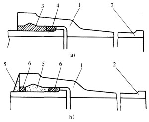
?承插連接主要用于鑄鐵管的連接。承插式鑄鐵管與管件的一端為承口,另一端為插口,在承口與插口之間的環(huán)形間隙中填入麻絲或膠圈,再用水泥或鉛密封,以保證接口的嚴密。見圖6-3。鑄鐵管曾經是燃氣管道的主要管材之一,近年來已逐漸減少,要用于輸水管道。
?
一、用作燃氣管道接口填料要求
1.油麻 用不含雜質、纖維長、韌性好、老皮少的大麻或亞麻放在5%的5號石油瀝青和95%的2號汽油混合液里浸泡晾干,再將油麻絲搓成小股,再把它擰成大股麻辮。使用時可根據承插口間隙的大小,抽若干小股弱緊后使用。
油麻的作用是防止管內燃氣滲漏,并防止外層填料(水泥、鉛等)進入管內。
2.青鉛 青鉛的純度不小于99.5%,鉛的純度愈高,質地就愈柔軟。青鉛應加熱熔化后再用。
3.水泥 應用500#或500#以上硅酸鹽水泥,使用前應用0.5mm的孔眼篩子過篩。不得使用受潮或失效水泥,并沒有結塊和雜物。水灰比一般取1:3~4(質量比)。
4.橡膠圈 人工煤氣中含有多種芳香烴、苯、酚等,對天然橡膠和一般的合成橡膠有腐蝕作用,故應選用耐燃氣腐蝕的丁腈橡膠。橡膠圈外觀應粗細均勻,質地柔軟,無氣泡、裂紋、重皮,膠圈的物理性能應符合表6-4的要求。
?
| 含膠量(%) | 邵氏硬度 | 拉應力/(N/m2) | 伸長率(%) | 永久變形(%) | 老化系數(70℃,72h) |
| ≥65 | 45~55 | ≥1.6×107 | ≥500 | <25 | ≥0.8 |
膠圈的斷面直徑應符合表6-5的要求。
?
| 承口與插口間的空隙 | 8 | 9 | 10 | 11 | 12 | 13 |
| 膠圈斷面直徑 | 17 | 18 | 19 | 21 | 22 | 23 |
橡膠圈的內環(huán)徑一般應為插口處徑的0.85 ~0.87倍。
承插接口密封填料性能及用途,見表6-6。
?
| 接口名稱 | 性能 | 主要填料 | 用途 |
| 水泥接口 | 剛性 | 橡膠圈—水泥 | 1.中壓管道; 2.敷設于車行道下低壓道; 3.臨近建筑物的低壓管 |
| 油麻—水泥 | 埋設于非道路下低壓管 | ||
| 青鉛接口 | 柔性 | 橡膠圈—青鉛 | 1.中壓管道管件接口; 2.中壓管道連接管段的接口; 3.某些場合的特殊要求 |
| 油麻—青鉛 | 1.低壓管道管件接口; 2.低壓管連接管段接口; 3.無法使用橡膠圈的中、低壓管接口 |
?
科技賦能,AI強安——談AI技術在石油…
危險化學品安全技術說明書(PDF版)
170種危險化學品安全技術說明書匯編
化工企業(yè)冬季安全生產須知——防火篇
化工企業(yè)冬季安全生產須知——防凍凝篇
有限空間作業(yè)如何預防窒息和中毒
有限空間作業(yè)切記注意安全!
夏季有限空間作業(yè)安全風險防范
危險化學品目錄(2015版)
危險化學品分類及其危險特性
對制度落實不到位的原因調查及解決辦…
職工安全生產的權利和義務
危險化學品的儲存
有限空間作業(yè)安全知識
柴油罐的存放
加油站安全知識手冊