?


(三)溫度控制系統
以控制空燃比為重點的溫度控制系統有各種方式,為了得到合適的空燃比,最好是通過溫度調節器和流量調節閥,對燃氣量與空氣量進行自動調節。
如圖3—10—13(a)所示,采用自力式調節器可組成能把燃氣量調節為數倍又能保持空燃比一定的燃燒系統。由于這種設備的費用非常便宜,因此很多工廠采用。
圖3—10—13(b)是采用均壓閥的情況。與自力式調節方式相比,燃氣量的調節范圍更廣,而且,還能提高空燃比的控制精度。這些方式都具有利用蝶閥調節空氣量來控制燃氣量的特點。
圖3—10—14所示是對燃氣量和空氣量分別進行控制的典型例子。(a)為串聯式調節系統,具有流量調節幅度大的特點,并可以按照爐內溫度變化,通過溫度調節器直接調節燃氣流量,所以響應性能好。當以空氣量為基準量時,即使流量產生急劇變化,也能保證安全。(b)為并聯式調節系統,適用于能夠預測負荷的變化,且燃氣和空氣的供應都穩定的系統。
另外,供給爐內的熱量如需隨時間而變化,可以對燃燒器實行間隔開關控制。一般情況下是按照空燃比保持恒定進行燃燒,但需要改變爐內氣氛時,通過改變空燃比的方法,使之成為氧化性或還原性氣氛。
?


(四)加熱爐自動控制系統實例
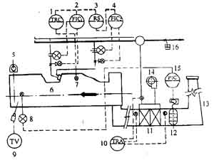
軋鋼加熱爐的自動控制系統如圖3—10—15所示。其主要控制項目如下;
?

1. 爐內溫度控制 在各控制段的爐頂或側墻上插入2~3根熱電偶,有選擇地交替檢測各點的溫度,作為溫度調節器(TRC)的輸入信號,用此信號串級控制流量的調節系統。
2.燃氣流量控制 用孔板流量計測定燃氣的流量,根據流量指示調節計(F1Cl)的信號,驅動流量控制閥,進行其流量控制。
3,空氣流量控制 由溫度記錄調節計(FRC)傳來的信號,通過空氣與燃氣流量的比例設定器(RS),成為空氣流量指示調節計(FIC2)的設定信號,由此控制其流量。助燃空氣經預熱后,由于要測定和控制流量,所以對空氣流量要能自動進行溫度修正。
4.爐內壓力控制 爐壓通過爐壓指示調節計(PIC)接受來自爐壓壓差變送器的信號,操作其爐壓控制閘板,使爐壓保持設定值。
5.間隔點滅火控制 當爐子的負荷需要改變(增大或減小)時,即可對連續加熱爐尾部的燃燒器執行間隔點滅火控制,使加熱爐的操作更具有靈活性。
6.預熱器的保護措施與控制 預熱器以控制入口煙溫、出口煙溫、空氣預熱溫度的記錄和報警,作為保護措施。當使用金屬換熱器時,要用放散熱風的方法來控制流過的最低空氣量。控制溫度超過規定值時要報警。入口煙溫太高時要用空氣稀釋以降低其溫度。
7.其他控制項目 主要是燃燒安全控制、燃燒廢氣中的O2控制等。除此外,還沒置有檢查出鋼位置的裝置及工業電視裝置等。
?
模板施工安全和防火措施
LNG氣站法蘭和閥門泄漏的常見原因及…
火災爆炸事故的防范
設施與物資防火措施
粉塵涉爆企業典型問題隱患圖鑒
電動自行車鋰離子電池回收利用體系建…
2024年消防月活動方案
粉塵爆炸安全提示
物質的火災危險性分類
簡述手提式滅火器的使用方法
初起火災的撲救方法與原則
滅火器使用方法及注意事項
火災的種類及滅火方法
信息機房的防火設計要求
動火作業安全防火基本要求
倉庫的主要防火要求