各有關單位、人員:
為貫徹落實中共中央、國務院《關于分類推進人才評價機制改革的指導意見》和人力資源和社會保障部《關于改革完善技能人才評價制度的意見》,選拔滿足《安全評價師國家職業標準(試行)》能力要求的安全評價師,更好地服務安全生產和應急管理工作,中國安全生產協會決定組織開展2020年安全評價師職業技能等級認定。2020年安全評價師職業技能等級認定工作分為報名和考試兩個階段進行。9月組織考試報名和材料審查,第四季度組織考試,結合國家疫情防控要求,具體考試時間另行通知。現將有關事項通知如下:
一、考試對象
(一)安全生產領域中符合《安全評價師國家職業標準(試行)》規定申報條件的人員,包括首次報考人員和升級人員。
(二)參加2019年安全評價師職業技能等級認定考試未通過,符合補考條件的人員。
二、報考條件
按照《安全評價師國家職業標準(試行)》的規定執行,具體報考條件詳見附件1。
三、時間安排
| 序號 | 內容 | 時間 |
| 1 | 網上報名(包括首次報名考生、升級報名考生和補考報名考生) | 9月7日-9月20日 |
| 2 | 開始查詢報名材料審查結果 | 9月14日 |
| 3 | 審查不合格考生補充材料截止 | 9月23日 |
| 4 | 審查材料合格考生選考點 | 待定 |
| 5 | 開始打印準考證 | 待定 |
| 6 | 考試 | 待定 |
四、考試科目、答題方式、合格標準及題型
(一)考試科目:理論知識、專業能力和綜合評審。
(二)答題方式:閉卷筆試。
(三)合格標準:每個科目滿分100分,取得60分及以上該科目通過,全部科目通過視為考試合格。單科合格成績保留一年,在成績保留期內考生可參加一次補考。
中級注冊安全工程師參加考試,理論知識科目視為合格。
(四)題型:理論知識科目為客觀題,包括單項選擇題和多項選擇題;專業能力科目為主觀題,包括情景分析題、案例分析題和綜合應用題;綜合評審科目為主觀題,為命題寫作。
五、考試報名和費用
(一)考試報名:通過中國安全生產協會網站(網址:www.china-safety.org.cn)“安全評價師職業技能等級認定考試報名平臺”自愿報名。報名程序及報名材料見附件2。
(二)費用:2020年考試不收費。
附件:
1.報名條件
2.報名程序
3.注意事項
中國安全生產協會
2020年8月17日
附件1
報 名 條 件
一、基本文化程度:大學專科學歷。
二、各級別報名條件如下:
(一)三級安全評價師(具備以下條件之一者):
1.取得安全工程類專業大學專科學歷證書,從事安全生產相關工作5年以上。
2.取得其他專業大學專科學歷證書,從事安全生產相關工作5年以上,經三級安全評價師職業培訓達規定標準學時數,并取得結業證書。
3.取得安全工程類專業大學本科學歷證書,從事安全生產相關工作3年以上。
4.取得其他專業本科學歷證書,從事安全生產相關工作3年以上,經三級安全評價師職業培訓達規定標準學時數,并取得結業證書。
(二)二級安全評價師(具備以下條件之一者):
1.連續從事安全生產相關工作13年以上。
2.取得三級安全評價師職業資格證書后,連續從事本職業工作5年以上。
3.取得三級安全評價師職業資格證書后,連續從事本職業工作4年以上,經二級安全評價師職業培訓達規定標準學時數,并取得結業證書。
4.取得安全工程類專業大學本科學歷證書后,連續從事本職業工作5年以上,或取得其他專業大學本科學歷證書后,連續從事本職業工作7年以上,經二級安全評價師職業培訓達規定標準學時數,并取得結業證書。
5.取得碩士研究生以上學歷證書后,連續從事本職業工作2年以上,經二級安全評價師職業培訓達規定標準學時數,并取得結業證書。
(三)一級安全評價師(具備以下條件之一者)
1.連續從事安全生產相關工作19年以上。
2.取得二級安全評價師職業資格證書后,連續從事本職業工作4年以上。
3.取得二級安全評價師職業資格證書后,連續從事本職業工作3年以上,經一級安全評價師職業培訓達規定標準學時數,并取得結業證書。
4.取得碩士研究生以上學歷證書,從事安全生產相關工作10年以上,經一級安全評價師職業培訓達規定標準學時數,并取得結業證書。
三、已經取得《安全評價師職業資格證書》人員只能按照升級條件的要求參加考試,不能越級參加考試。
附件2
報 名 程 序
考試報名考生請于2020年9月7日-9月20日登錄中國安全生產協會網站(www.china-safety.org.cn)安全評價師欄目“安全評價師職業技能等級認定考試報名平臺”,進行網上報名,具體流程如下:
一、上網填寫個人信息,上傳電子證件照片,生成并打印《安全評價師職業技能等級認定考試申請表》,承諾并本人簽字。
二、所在單位審核《安全評價師職業技能等級認定考試申請表》,并蓋章確認。
三、將簽字、蓋章的《安全評價師職業技能等級認定考試申請表》電子掃描件、畢業證掃描件、身份證掃描件(正反面)、中級注冊安全工程師證書掃描件(非注安可不傳),上傳至“安全評價師職業技能等級認定考試報名平臺”,完成報名。
四、報名考生在報名成功后,可根據提示在規定時間登錄平臺查詢申報條件審查結果,不合格人員于9月23日前根據平臺提示補充上傳材料,逾期未補充視為放棄。
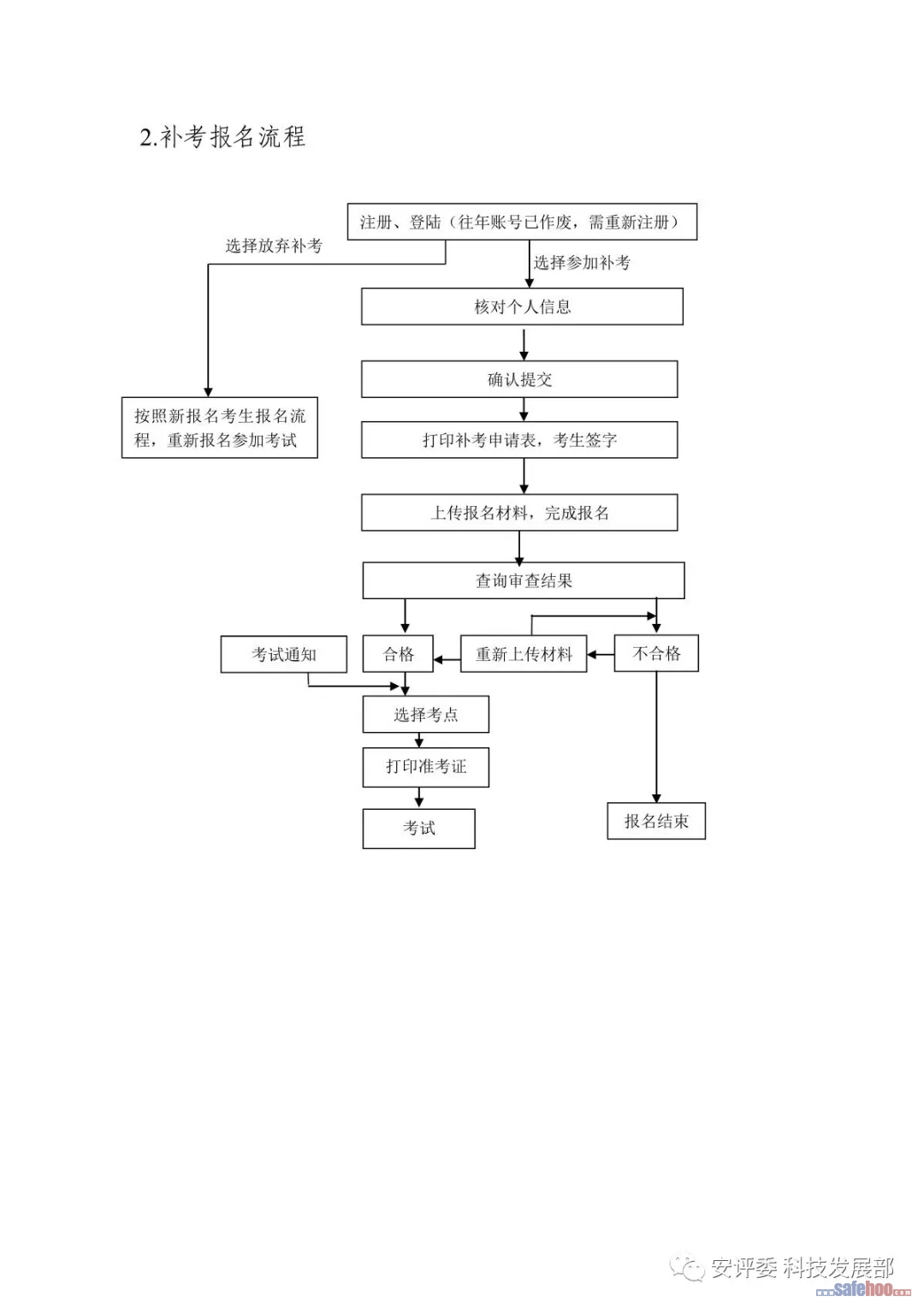
五、參加補考的考生9月7日-9月20日登錄中國安全生產協會網站(www.china-safety.org.cn)安全評價師欄目,進行補考報名并提交《安全評價師補考申請表》,后續程序、時間安排與首次報名考生相同。符合補考條件的考生可自愿放棄補考,重新報名參加考試。報名程序同新報名考生。
六、報名流程圖。


附件3
注 意 事 項
一、每個公民身份號碼只能在報名系統中進行一次注冊,請對照身份證上的信息,確定填寫的注冊信息無誤后進行注冊,注冊成功后注冊信息不能再進行更改。
二、考試報名所使用的有效身份證件須在有效期內,持已過期的身份證無法進行考試報名和進入考場。
三、報名系統中的“級別計算器”可根據考生填寫的個人基本信息計算出可申報級別,考生可參考計算結果進行申報。
四、報名人員網上報名時請認真細致填寫個人基本信息,確保準確無誤,并按要求打印表格、親筆簽署,自制表格無效。
五、考試報名截止前,報名考生可對個人基本信息進行修改,如涉及申報條件、職業技能等級修改則須重新提交報名材料。
六、申報條件中的《學歷證書》指國家承認學歷教育的《畢業證書》或《畢業證明書》,且《學歷證書》應與網上報名時填報的學歷相對應,《學位證書》無效。
七、申報條件中的“安全工程類專業”包括安全工程專業、安全技術管理專業、安全技術及工程專業、礦山通風與安全專業、機電工程專業和工業工程專業,除此六個專業以外的其他專業均屬“非安全工程類專業”,考生報名時請準確填寫畢業證上所學專業名稱。
八、報名人員對申報材料的真實性負責,弄虛作假者將被取消考試資格,3年內不得參加考試;對已參加考試并通過者,將收回其《安全評價師職業技能等級認定證書》,5年內不得參加考試。
九、相關問題可咨詢中國安全生產協會安全評價工作委員會,聯系電話:010-84285160。
關于進一步加強安全評價機構監管的指…
關于推遲2022年安全評價師職業技能等…
關于開展2022年安全評價師職業技能等…
浙江省應急管理廳關于安全評價領域出…
關于推遲2021年安全評價師職業技能等…
關于開展2021年安全評價師職業技能等…
關于開展2020年安全評價師職業技能等…
關于開展2020年安全評價師職業技能等…
關于開展2019年安全評價師職業技能等…
四川省安全評價檢測檢驗機構管理辦法…
天津市安全評價檢測檢驗機構管理實施…
關于重新上傳專職安全評價師社保信息…
關于注銷云南安科安全技術有限公司安…
關于開展2020年安全評價師職業技能等…
關于舉辦2011年安全評價師職業培訓師…
關于注銷福建省為民安全工程師咨詢服…