摘要:針對軸流轉槳水輪機受油器銅瓦磨損嚴重原因分析,發現受油器操作油管越下端擺度較大,修正操作油管軸線至合格。
關鍵詞:油器 銅瓦 軸線
1 概述
沙溪口水電廠共有4臺75MW水輪發電機組,水輪機為軸流轉漿式型號為ZZF01-LH-800,發電機為全傘式,型號:SF75-80/13000,自1987年12月至1990年12月4臺機組相繼投產發電,每臺機組的首次大修都是在發電機組投運一年后引進的,第一輪大修周期間隔5年。但大修分解拆開受油器時均發現受油器銅瓦面磨損嚴重,特別是最下端浮動瓦和中間端之固定瓦,均有不同程度的圓周磨損痕跡,浮動瓦最深磨損痕跡深度達1mm,浮動瓦與回轉軸的間隙大于最大的允許值范圍,同時受油器回轉軸與固定銅瓦也存在刮傷傷痕,初步分析可能是油質不良或安裝質量存在問題造成,處理的辦法是把刮傷的內、外操作油管磨光,重新更換銅瓦,并對配合間隙進行合理的分配后裝復。又經過一段時間運行,受油器外操作油管與浮動瓦配合處出現噴油,調速器漿葉不能投入自動運行,造成壓油泵頻繁啟動,并有溜負荷現象。經對其它臺次的機組大修同樣發現,下端浮動瓦和中端固定瓦均有磨損現象。
2 現狀調查
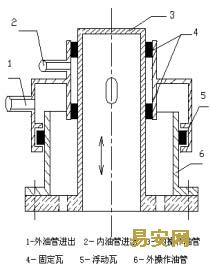
從受油器的結構示意圖(圖1)可以看出,內操作油管的上、下固定銅瓦是固定在受油器本體上的,并于內操作油管(轉動部件)間的配合間隙為0.16mm,另一個起密封作用并與外操作油管相配合的浮動瓦同樣也鑲在受油器的支座上,其徑向移動量(單邊)為1.5mm,與外操作油管的配合間隙為0.28mm,它的上、下端面總間隙為0.10mm ,當外操作油管擺度較大時,可以隨操作油管的擺動而左右移動,自行調節中心,使之處于浮動狀態。
沙電機組內、外操作油管子是可分離式組裝,組裝后將內、外操作油管放在專用測同心度架上進行同心盤車或上

(圖一)
機床進行同心度盤車,其同心度要求在小于0.05mm,并用螺栓聯接,能夠滿足同心要求,與發電機上端軸處操作油管聯接后進行機組整體軸線盤車調整,為了查明受油器銅瓦磨損原因,消除造成受油器銅瓦磨損的隱患,提高機組的安全穩定性,1995年,對# 2機組軸線盤車過程中,在外操作油管同一平面互為90度的底圓處多裝了兩架百分表進行盤車監視,盤車結果發現外操作油管凈擺度值比較大,測量數據見表1。
表一 #2機大修受油器內、外操作油管盤車記錄 單位:0.01mm
凈擺度 內操作油管 -0.11 -0.04 +0.06 +0.13
外操作油管 +0.15 -0.06 -0.19 -0.22
外操作油管底端 +0.19 -0.12 -0.24 -0.29
但由于大修工期等原因,末對其存在的問題進行反工(再吊出上機架、上端軸)進行處理,只是將受油器操作油管法蘭止口進行修刮平移和刮紫銅墊處理,并用定位銷定位。經特殊處理后裝復。
3 因果分析
分析我廠的受油器銅瓦磨損程度可知,內操作油管下端固定銅瓦有少量的磨損,且越靠近內操作油管下端越嚴重,96年#3機組大修操作油管軸線調整時避免95年#2機組大修操作油管軸線調整反工現象,95年#2機組大修操作油管軸線調整已經證實操作油管的安裝時擺度值偏大,操作油管軸線與機組旋轉軸線不重合,從上到下越靠近下端浮動瓦擺度越大。操作油管在運行期間,不僅作旋轉運動,而且還要隨機組負荷變化,操作漿葉的開與關做上、下運動,當油管向上開啟漿葉運動時,內、外操作油管的下端固定銅瓦及浮動瓦處擺度值不斷增大,若擺度值超過銅瓦的配合間隙值,必造成受油器下銅瓦及浮動瓦產生磨損,并隨運動時間的推移而加劇。
從圖二可知,轉輪活塞上端面至受油器長達18m,并由5節長短不同的操作油管通過法蘭連成一體,雖然每一節油管間的法蘭都有止口,但是,法蘭與法蘭之間密封厚度很難保證均勻,致使法蘭螺栓聯結后,預緊力難以保證,上下油管之間的同心度也不能保持一致。大修裝復操作油管時,先把水輪機段操作油管經過修刮其下端法蘭墊片和調整螺絲預緊力,求得與水輪機大軸的同心度,但是,水輪機主軸法蘭至發電機轉子上端的操作油管聯結后,無法保證與水輪機段的同心度,因為不能采用多次起吊轉子來調整其同心度,只能靠測量水輪機主軸與發電機主軸聯接法蘭間的傾斜度和法蘭的同心度,轉子上端操作油管與導向銅套之間的間隙(導向銅襯套與操作油管間的配合間隙為0.30mm),處理兩段操作油管間的紫銅墊片求得同心,再將轉子與水輪機主軸法蘭聯結,繼而測量操作油管與導向銅襯套之間的間隙是否均勻,即可判斷操作油管的傾斜度,但測量的結果多是靠單邊或接近于靠向單邊,必然造成聯結轉子上端軸處的操作油管傾斜度增大。
4 處理方法
1996年在對#3機組大修中,在安裝至發電機轉子上端軸處時,測量其操作油管與轉子中心銅襯套間隙,結果同心度并不理想,(實測結果+X方向0.03mm、-X方向0.25mm、+Y方向0.16mm、-Y方向0.14mm),操作油管靠向+X方向,如果就此裝復上端軸段處的操作油管,勢必造成此段軸的上端不同心度增大。為此我們采取將此段操作油管裝復,再將發電機轉子上端軸裝復,測量發電機轉子上端軸之上端法蘭與操作油管的周邊間隙。(實測結果+X方向1.8mm、 -X方向3.2mm 、+Y方向2.5mm、-Y方向2.5mm)
1、受油器段操作油管 2、上端軸段操作油管 3、發電機軸段操作油管 4、水輪機軸段操作油管
5、槳葉活塞段操作油管 6、受油器上下固定瓦 7、受油器浮動瓦
圖二
根據因果分析和測試結果,須對發電機上端軸段處操作油管進行處理。首先分解拆除發電機上端軸,再根據發電機轉子上端軸之上端法蘭與操作油管的周邊間隙測量結果和已知的操作油管法蘭直徑500mm,長度2500mm。分解拆除發電機上端軸段處操作油管,按以上測量數據,對操作油管法蘭間的紫銅墊片-X方向處梯形比例等分進行精修刮0.14mm,重新裝復操作油管和發電機上端軸。重復上述的測量,檢查調整后的偏心及傾斜,直至偏心達到要求,方可進行上機架和受油器段操作油管的安裝,及機組整體軸線盤車調整。
對受油器整體盤車中,從發電機上端軸處操作油管傾斜后強迫修正修刮受油器段操作油管法蘭紫銅墊,使之法蘭面產生傾斜,只需按照盤車的凈擺度值及公式:
h=DK/L(h-傾斜高度、D-法蘭直徑、K-凈擺度1/2、L-百分表至操作油管法蘭面距離)
按圖二(b)操作油管處理方法,進行受油器的紫銅墊修刮后,受油器段操作油管完全能夠達到擺度要求,消除了造成受油器銅瓦磨損的隱患。
見表(二)
表二(b) #3機大修受油器內、外操作油管盤車記錄 單位:0.01mm
凈擺度 內操作油管 +0.04 0.00 -0.07 -0.09
外操作油管 -0.05 +0.07 +0.10 +0.12
外操作油管底端 -0.07 +0.03 +0.08 +0.11
5 實施效果
綜上所述,機組經過小修及四年后的大修檢查,并未有嚴重的受油器銅瓦磨損現象,漿葉可投入自動運行,調速器壓油泵也無頻繁啟動和溜負荷現象,根據因果分析和測試結果,將發電機上端軸段操作油管法蘭間墊片修刮校正,測量操作油管與上端軸的同心度是否同心,再裝復受油器操作油管,進行機組整體軸線盤車調整,使受油器段操作油管擺度值符合規定要求,經多臺機組實踐證明,用此方法進行軸線調整,受油器徑向銅瓦磨損量小,油泵啟動正常,無溜負荷現象。確保了機組安全、可靠運行。