1 概況
城郊煤礦隸屬永城煤電(集團)有限責任公司,位于華北平原豫東地區永城煤田中部,于2003年10月投產的現代化大型礦井,年產優質無煙煤300萬t以上,礦井服務年限118a。礦井采用立井分水平上下山開拓方式;地表標高+34m,井底大巷標高-495m;礦井采用中央分列式通風,礦井總入風量8 539m3/min,風壓1 832 Pa。
由于井田位于華北石炭二疊系巖溶一裂隙水害區,煤層底板灰巖承壓水涌水、突水頻繁。礦井正常涌水量1 560m3/h,最大涌水量1 940m3/h,礦井排水峒室設1 250kW大型排水設備10臺,平常同時運行3臺以上,峒室出現溫度高,設備散熱效果差,通風不良等情況,急需采取有效措施加以解決。
2 主排水峒室高漸形成原因
(1)峒室位于角聯風路增加風量困難。城郊煤礦礦井中央排水峒室位于副井井底車場內。由于礦井設計時對通風網絡局部考慮欠妥,造成排水峒室段位于通風網絡的角聯風路上,實測峒室兩端壓差2 Pa。由于礦井東翼、東南翼入風風流大部分由井底車場聯接北側巷道流出,東翼入風風流經繞道流量減少,造成通過排水峒室通風網絡自然分配的風量600m3/min左右,而且增加風量困難。
(2)峒室內風流流速小,空氣散熱效果差。排水峒室主體高度大,斷面25.7m2,相對風流風速小,設備運轉產生的熱量不能及時排出峒室,故積熱的高溫空氣流出峒室時間延長。
(3)在型排水設備通風散勢方式不當。大功率排水設備采取強制吸入排除散熱方式,而且設備吸入口與排出口位置相對很近。采用空氣對流散熱,造成設備重復吸入設備散熱剛排出的高溫氣體,嚴重降低設備的散熱效果。
(4)采取的通風措施技術不合理,峒室高溫形成后,在峒致富以入風側增設2臺局部通風機帶風筒進行峒室通風,其作用只是風筒末端風流壓入,提高少量峒室風量,能耗大、效果差。
3 峒室低壓輔助通風
主排水設備峒室在井底車場主要巷道內,生產運輸提升頻繁,增加通風量靠通風網絡自然分風和改造風路方法難以實現。借助輔助通風設備來提高排水峒室供風量是最佳選擇。
3.1 峒室輔助通風參數計算
以2002年9月31日的實測數據:排水設備峒室入口風流溫度22℃,回風道風流溫度35℃,風量652m3/min。
(1)排水設備峒室散熱通風所需風量Q需。
Q需=Q原(t″1-t′0)/(t′2-t′0)
=652(35-22)/(30-22)
=1 059.5m3/min
≈1 100m3/min。
式中 Q需——峒室降溫所需風量,m3/min;
Q原——峒室原實際進風量,m3/min;
t′0——峒室原實際平均進風氣溫。℃;
t′2——峒室允許的最高氣溫。℃;
t″1——峒室回風側原實際平均氣溫,℃。
考慮到7、8月份高溫季節,礦井入風流溫度增高影響,風量調整系數聚1.4。
Q需=1.4Q=1 100×1.4=1 500m3/min
(2)排水峒室通風阻力h。
排水峒室風路全長136.8m,由摩擦阻力公式
h摩=αLpQ2/s3和局部阻力公式
h局=ξρV2 1/2g計算通風阻力h=91.6 Pa。
(3)輔助通風機全壓P全。
P全=h+h動=183.3 Pa
3.2 輔助通風機選型
目前煤礦井下風機均屬中高壓系列,風量偏低,以11 kW局部風機為例:DSFA-52對刻風機(風量46~300 m3min),JBT-52風機(風量42~225 m3min)與同功率K40系列輔助通風機(風量648~1 518 m3/min)比較相差5倍以上。為此先用K40系列低壓輔助風機。
依據峒室通風參數,由風機特性曲線選擇K40-8-14風機,風量732~1 920 m3/min;全壓88.8~470.4 Pa。電機功率15kW;轉數760r/min。風機集風器最大直徑Ф1 692 mm。電動機與風機工作輪直接傳動。風機葉片安裝有32°、29°、26°、23°、22°共5個角度可調。
3.3輔助風機的安裝及應用效果
通風機設在排水峒室回風道風,用隔斷風門將峒室風流與回風隔開做抽出式通風。風機無段施工混凝土基礎,把巷道底板平整墊平,直接將風機平衡放在底板上即可長期運行。
2003年7月輔助風機投入運行至今,風機運行平衡,噪聲較小,峒室通風量為1 640 m3/min,峒室風流溫度降至25℃以下,有效地解決了大型機電設備散熱的峒室通風。
4 大功率排水設備峒室隔熱風道通風
城郊煤礦考慮到礦井隨著開采范圍的擴大,礦井涌水有進一步增加的可能,為提高礦井防治水的可靠性,將在東南翼風井井底增設礦井排水系統,承擔東翼采區涌出的排水工作。在峒室設計上應考慮大功率機電設備特點,對新建的峒室通風方式予以完善。
4.1 大功率排水機電設備散熱方式的特點
大功率機電設備(1 000kW以上)電機均設有設備兩側吸入風流和排出設備散熱風流裝置的接出口,電機運轉時設備內進行強制通風冷卻。設備吸入用于降溫冷卻的風流直接來自峒室內空氣,而設備內排出的散熱風流也直接排入峒室內空氣。有的機電設備吸入口和排風口距離較近,設備運轉溫度升高,是現在機電峒室存在的普遍現象。
解決方法是將設備排出的散熱風流與峒室空氣隔開,杜絕設備重復吸入散熱氣流,設備排出的散熱風流集中專用隔熱風道排至峒室以外。
4.2峒室專用隔熱風道布置
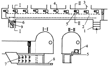
在排水設備峒室的一側或峒室底板下面,設置1條專用隔熱風道,將排水設備電機散熱排風口由引風管路直接排到隔熱回風道內,經降溫處理后,排出峒室以外風流中去(見圖1)。

1-峒室入風;2-隔熱風道;3-水泵給水管道4-水泵電機;5-引風管道;6-隔斷風墻;7-風流冷卻水幕;8-排水溝;9-峒室回風
圖1 排水設備峒室隔熱風道布置
隔熱風道可布置在峒室底板以下,其位置確定即要躲開水泵基礎,又要便于和機電設備的散熱風流排出口聯接(一般采用機電設備排風口用矩形引風管來聯接到隔熱風道內)。專用隔熱回風道在峒室回風巷出口要設隔斷風門,借用礦井負壓加強隔熱風道內風流的排放作用。隔熱風道在峒室內位置要考慮行人和設置引風管道的方便。為降低隔熱風道的風阻,斷面選擇要核算風速控制在10m/s以下。
隔熱風道和引風管路要設隔熱層防護,防止通過巖壁或引風管壁傳熱致使峒室風流增溫。
隔熱風道出口處水冷卻裝置進行熱風流強制降溫。經降溫處理的風流再排入礦井風流或回風中,降溫后的冷卻水由排水溝直接進入水倉排至地面。
機電設備散熱排風口設置的引風管路,設備運轉時排出的熱風經引風管路,導入隔熱風道內,為防止峒室內空氣與隔熱風道經設備內通路聯通短路,在機電設備入風口設風流隔斷裝置,在電機停止運轉時,關閉引風管路切斷入風口,防止新鮮風流經隔熱風道流走,當電機設備運轉時,打開供風通道,進行設備散熱通風。
該隔熱風道布置方式,可使峒室空氣與機械設備運轉散熱風流分開排放處理,峒室內風流不受設備散熱影響,設備散熱用風按需供給,并將散熱風流排入風道內。排入隔熱風道內的設備高溫散熱風流便于冷卻降溫處理,處理后的回風對礦井風流的熱污染程度大幅度減小。
4.3 峒室使用隔熱回風道的通風效果
(1)隔熱回風道有效解決峒室空氣升溫。以現排水設備同時啟動電機容量3 750kW時,峒室內空氣溫升在1~2℃。如采用峒室內通風,空氣溫度升高一般要>60℃以上,高溫季節排水峒室入口風流溫度一般要>28℃以上,峒室內空氣溫度要高于36℃以上。
(2)隔熱風道可減少峒室的實際用風量。隔熱風道內風流溫度《煤礦安全規程》沒有要求,對人員設備環境不造成影響。峒室用風可按每臺機電設備散實際需風量供給,當設備停止運行就不再需要供給風量。峒室的回風側的隔斷風門只需保留少量換氣風量。
(3)集中在隔熱風道內排放的設備散熱高溫風流,便于采用水冷卻裝置進行降溫,處理后的風流能有效的減少熱對礦井風流影響程度。
工作面設備拆除施工組織設計及安全技…
恒寶源綜采工作面回撤拆除安全技術措施
水文技術員員崗位風險告知卡
保管員崗位風險告知卡
跟車工司機崗位風險告知卡
通風設施工崗位風險告知卡
衛生清理工崗位風險告知卡
拉力試驗工崗位風險告知卡
習慣性違章作業產生的原因、危害分析…
露天礦開采工藝
安全風險管控措施
礦井停產檢修安全技術措施
非煤礦山常見事故原因分析及防范措施
煤礦井下運輸安全技術措施
探放水設計及安全技術措施
冬季“三防”安全措施