??? 2. 2 回火的原因
??? (1) 一次空氣系數大小影響,一般穩定燃燒時,大氣式燃燒器α1=0.4~0.8,無焰燃燒器α1約為1.05。燃氣的性質、燃燒形式和燃燒器結構不同,α1也不同。因為火焰傳播速度與可燃混合氣體中的可燃氣體含量有關,而火焰傳播速度是影響回火的一個主要因素,理論上一次空氣系數為1時,火焰傳播速度最大。
??? (2) 燃氣一空氣混合物通過火孔的速度大小的影響,如由于燃燒器在低負荷下運行,燃燒系統壓力下降,或燃燒器火孔堵塞等原因使可燃混合氣體出火孔速度小于火焰傳播速度,產生回火。
??? (3) 氣流在混合管內流動發生振動,而在燃燒室內燃燒也發生振動,當混合氣體在混合管內的脈沖頻率與其燃燒室的脈沖頻率相等時,將會產生共振。共振一方面產生噪音,另一方面則加劇燃燒道的脈沖,也可能引起回火。
??? (4) 燃燒器結構設計不合理或混合管內結垢、結冰等原因,而使速度場不均勻或各火孔流速差別很大,這時,即使預混可燃氣體出火孔的平均流速比火焰傳播速度大很多,但在局部地方或一部分火孔處流速仍可能低于火焰傳播速度而引起回火。
??? (5) 燃燒器頭部加熱情況的影響,如燃燒器頭部冷卻不好,燃氣一空氣混合物溫度升高,火焰傳播速度加快引起回火。
防止回火的措施(3)
??? 防止回火的方法是以降低火焰傳播速度,提高燃氣一空氣混合物的出火孔流速,保證速度場均勻等為前提而制定的。在安裝及生產中采取的防回火措施主有以下幾個方面:
??? 1 根據燃氣的性質合理選取燃燒方法,火焰傳播速度快的燃氣(氫含量高的燃氣)不宜采用大氣式燃燒和無焰燃燒,而采用擴散式燃燒方式,選用外混式燃氣燒嘴。各種燃氣火焰傳播速度見表1:
?
氣體名稱 | 最大火焰傳播速度時,氣體在混合物中的體積百分數 | 最大火焰傳播速度m/s |
一氧化碳 | 45.0 | 1.25 |
氫 | 38.5 | 4.83 |
甲烷 | 9.8 | 0.67 |
乙烷 | 6.5 | 0.85 |
乙烯 | 7.1 | 1.42 |
丙烷 | 4.6 | 0.82 |
丁烷 | 3.6 | 0.82 |
??? 表1 各單一氣體的最大火焰傳播速度(管徑25.4mm)
??? 2 使用較臟的燃氣時,應設置凈化裝置(如過濾器等),當凈化裝置仍不能防止燃氣噴頭和混合管結垢時,應對燃燒裝置進行除垢處理,或采用便于清除污垢的結構,并規定定期清洗的操作制度。
??? 3 使用含水的燃氣時,應該有水分離器,以免燃氣噴頭和混合管在天寒時結冰。
??? 4 爐子在低負荷下操作時,應熄掉部分燃燒器燒嘴,以保證運行的燃燒器負荷不低于允許的最小負荷。
??? 5 工藝上應根據燃氣性質和燃燒器形式規定最低壓力值,當燃氣壓力下降至低限時,應停止運行,以保證燃氣一空氣混合氣體出噴嘴速度不小于火焰傳播速度。
??? 6 根據燃氣的性質,燃燒器結構和工藝情況,如果因燃燒器頭部溫度過高而發生回火,可冷卻燃燒器頭部,減小火焰傳播速度。
??? 6 根據燃氣的性質,燃燒器結構和工藝情況,如果因燃燒器頭部溫度過高而發生回火,可冷卻燃燒器頭部,減小火焰傳播速度。
低壓燃氣系統防回火水封槽(4)
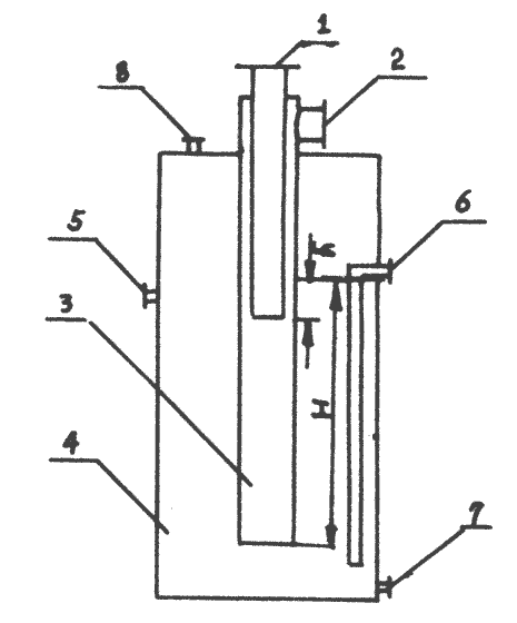
??? 在實際生產當中,很多燃氣的供應系統為低壓燃氣系統,壓力一般在4000~10000Pa,這種低壓燃氣系統在壓力波動時,很容易發生回火。為了使燃燒器安全穩定運行,在燃氣進入燃燒器之前設置一燃氣水封槽,可有效防止回火現象。低壓燃氣水封槽工作原理如圖1,水封槽由燃氣進口管、燃氣出口管、內筒和外筒等組成,正常工作時,外筒水位保持在水滿流口位置,內筒水位保持在燃氣入口管以下,達到正常工作。如果突然停燃氣或燃氣壓力低于工藝要求的下限值時,外筒的水進入內筒,將燃氣入口管封住,防止燃燒器回火或空氣進入燃氣管道。保證水封能按設計條件正常運行,應具備以下條件:
???? 
??? 1―燃氣入口;2―燃氣出口;3―內筒;4―外筒;5―水入口管;6―水出口管(溢流);7―排污口;8―放散口
危險化學品泄漏應急響應和處置措施
液氨儲罐風險點告知卡
低溫甲醇洗消耗偏高原因及解決措施
裝卸搬運作業安全風險告知卡
檢維修作業安全風險告知卡
蒸化作業安全風險告知卡
刷毛作業安全風險告知卡
整經作業安全風險告知卡
受限空間作業安全要求
進入有限空間作業注意事項及預防措施
應急救援預案演練評價報告記錄
天然氣危險性分析
化驗室潛在安全隱患與防護措施
埋地燃氣管道的安全間距控制
危險源辨識及風險控制
重大危險源辨識、評價及監控