前言
本標準根據日本工業標準JIS D4311—1995《汽車用離合器面片》對GB 5764—86進行修訂。
本標準非等效采用JIS D4311—1995,但標準的主要核心內容——摩擦性能及其試驗方法與日本標準是相同的。
本標準與GB 5764—86對照,有些重要技術內容作了修改:
——指標值采用法定計量單位;
——明確最高試驗溫度時△μ;
——尺寸及其偏差簡化;
——摩擦性能試驗方法部分修改;
——彎曲性能夾具支點兩端及加壓頭曲率半徑作修改;
——檢驗規則內容重新編寫;
——標志和包裝修改;
——產品標注取消。
本標準附錄A、附錄B和附錄C均為提示的附錄。
本標準自生效之日起,代替GB 5764—86。
本標準由國家建筑材料工業局提出。
本標準由杭州制動材料廠歸口。
本標準起草單位:杭城摩擦材料有限公司、國家建筑材料工業局咸陽非金屬礦研究設計院。
本標準主要起草人:江世履、蔡仁華、蔣立峰、尚興春、石志剛。
本標準于1986年1月首次發布。
本標準委托杭州制動材料廠負責解釋。
1 范圍
本標準規定了汽車用離合器面片的技術要求、試驗方法、檢驗規則、標志、包裝、運輸與貯存等。
本標準適用于汽車干式離合器面片(以下簡稱面片)。
2 引用標準
下列標準所包含的條文,通過在本標準中引用而構成為本標準的條文。本標準出版時,所示版本均為有效。所有標準都會被修訂,使用本標準的各方應探討使用下列標準最新版本的可能性。
GB/T 2828—87 逐批檢查計數抽樣程序及抽樣表(適用于連續批的檢查)
GB/T 9439—88 灰鑄鐵件
JB/T 7498—94 砂紙
3 技術要求
3. 1 外觀質量
3. 1.1 面片表面加工應平整,不允許有龜裂、起泡、凹凸、翹曲、扭曲等影響使用的缺陷。
3.1.2 面片深加工與否,由供需雙方商定。
3.2 尺寸公差
面片的基本尺寸由需方確定,其偏差和每片的厚薄差應符合表1 的規定。
表1 尺寸公差 mm

3.3 摩擦性能
3.3.1 面片摩擦系數及其允許偏差和磨損率,應符合表2的規定。
3.3.2 試驗后試片不得出現裂紋、凸起等影響使用的缺陷,試片對圓摩擦面不得有明顯劃傷。
表2 摩擦性能

3.4 彎曲性能
面片的彎曲強度及最大應變應符合表3規定。
表3 彎曲性能

4 試驗方法
4. 1外觀質量
用目測方法。
4.2 尺寸
內外徑用精度0.02mm游標卡尺、厚度用0.01mm千分尺測量。
4.3 摩擦性能試驗
4.3.1 試片
4.3.1.1 試片從同一面片取2個。
4.3.1.2 試片摩擦面尺寸為25mm×25mm,允許偏差為-0.2~0mm。
4.3.1.3 試片厚度為面片制品厚度,2個試片的厚度差在0.2mm以下。
4.3.2 試驗設備
試驗設備采用定速式摩擦試驗機,見附錄A。
4.3.2.1 試片中心與旋轉軸中心的距離為0.15m。
4.3.2.2 圓盤材質為GB/T 9439中灰鑄鐵牌號HT250,硬度牌號H195(180~220HB);圓盤金相組織為珠光體。其表面應用JB/T 7498中粒度為P240砂紙處理。
4.3.2.3 摩擦力用自動記錄儀測定。
4.3.2.4 圓盤摩擦面溫度(以下簡稱盤溫)測定,是把焊有熱電偶的銀片(8mm×8mm×0.6mm),以0.1~0.2N的力壓在圓盤的摩擦面上進行;測定位置應在圓盤摩擦部位寬度的中心線上,且從試片中心沿旋轉方向50~100mm處,見附錄B。
4.3.2.5 加熱和冷卻裝置在圓盤里面,盤溫可在100~200℃內進行調整。
4.3.3 試驗條件
4.3.3.1 試驗溫度的允許偏差為±10℃。
4.3.3.2 圓盤轉速恒定在400~500r/min。
4.3.3.3 試片的壓力為0.49MPa。
4.3.3.4 摩擦方向與面片的摩擦方向相同。
4.3.4 試驗步驟
取2個試片裝入試片支承臂內,按下列順序進行試驗:
4.3.4.1 試片在100℃以下進行磨合,至接觸面達95%以上。用精度0.01mm千分尺測量試片厚度。厚度測定應待試片冷致卻至室溫后進行。每個試片測5個點,取其算術平均值。
4.3.4.2 在試驗溫度100℃時,按4.3.3條件測定圓盤旋轉5000轉期間的摩擦力,或將5000轉分成10~20等分,測定每250~500轉期間的摩擦力。摩擦后按4.3.4.1測量試片的厚度。
4.3.4.3 在試驗溫度150℃、200℃時,按4.3.4.2進行同樣試驗。
4.3.4.4 當最高試驗溫度200℃測定結束后,再在100℃時按4.3.3條件測定圓盤旋轉3000轉期間的摩擦力。
注
1 圓盤溫度應在1500轉以內升至各個規定的試驗溫度。
2 圓盤溫度的上升靠試片的摩擦熱,當在1500轉以內達不到各個規定的試驗溫度時,可用輔助加熱裝置。
4.3.4.5 試驗后試片或圓盤摩擦面的外觀用目測。
4.3.5 計算
4.3.5.1 各個試驗溫度時的摩擦系數按式(1)計算。
μ=f/F …………………………(1)
式中:μ——摩擦系數;
f——摩擦力(總摩擦距離的后半部穩定的摩擦力的平均值),N;
F——加在試片上的法向力(試片的壓力×試片面積),N。
4.3.5.2 各個試驗溫度時的磨損率按式(2)計算。

式中:V——磨損率,cm
3/(N·m);
R——試片中心與圓盤旋轉軸中心的距離(0.15m);
n——試驗時圓盤的總轉數;
A——試片摩擦面的總面積,cm
2;
d
1——試驗前試片的平均厚度,cm;
d
2——試驗后試片的平均厚度,cm;
f
m——試驗時總平均摩擦力,N。
注:磨損率(V)試驗結果不允許為負值。
4.4 彎曲性能試驗
4.4.1 試片
4.4.1.1 試片從同一面片沿摩擦方向取3個。
4.4.1.2 試片采用面片制品厚度,長(55±0.5)mm,寬度(15±0.2)mm。若試片長不足55mm時,可取長(40±0.5)mm。取樣時應使試片中央部位不得有溝槽。
4.4.2 試驗設備
4.4.2.1 拉力試驗機,載荷不小于800N,最小分度值1N。
4.4.2.2 試驗夾具見附錄C。
——支點間距離為40mm,若用短試片時可為30mm。
——支點端部的曲率半徑為1.5mm,加壓端部的曲率半徑為3mm。
4.4.2.3 百分表,最小分度值0.01mm。
4.4.3 試驗步驟
4.4.3.1 將試片摩擦面一側朝上,置于試驗夾具支點上。
4.4.3.2 在試片中央部位以不大于10mm/min的速度加壓,測定試片斷裂瞬間的最大負荷及破壞時撓度。
4.4.4 計算
4.4.4.1 面片的彎曲強度按式(4)計算。
σ=3wL/2bd
2 …………………………(4)
式中:σ——彎曲強度,N/mm
2;
d——試片厚度,mm;
b——試片寬度,mm;
L——支點間距離,mm;
w——最大負荷,N。
4.4.4.2 面片的最大應變按式(5)計算。
e=6d/L
2×δ …………………………(5)
式中:e——最大應變,mm/mm;
d——試片厚度,mm;
L——支點間距離,mm;
δ——破壞時撓度,mm。
4.4.5 結果表示
本試驗結果以三個試片試驗結果的算術平均值表示,精確至一位小數。
5 檢驗規則
5.1 出廠檢驗項目
5.1.1 外觀檢驗。
5.1.2 尺寸檢驗。
5.1.3 摩擦性能檢驗。
5.1.4 彎曲性能檢驗。
5.2 組批原則
以同材質或同規格的面片的實際交貨量為一批。當批量過大時,也可分成若干小批。
5.3 抽樣方法與判定規則
5.3.1 面片的外觀與尺寸偏差的檢查采用隨機抽樣方法,按GB/T 2828使用正常檢查一次抽樣方案,取特殊檢查水平S-4,AQL值為4.0。不同批量所需的抽樣量、合格批或不合格批的判定,應符合表4的規定。
表4 片

5.3.2 性能檢驗按表5規定隨機抽樣。
表5 片

其中每個樣本經檢驗后都合格,則判定該批產品為合格;若有任何一項不合格,再加倍取樣復驗,復驗結果如仍有一項不合格,則判定該批產品為不合格。
6 標志、包裝、運輸、貯存
6.1 標志
6.1.1 面片的非工作面上印有制造廠名或商標、生產年月。
6.1.2 面片包裝箱(盒)的四周側面分別有產品名稱、型號規格、制造廠名和/或商標、地址、產品數量、指定摩擦系數、檢驗包裝日期及本標準號。
6.2 包裝
6.2.1 面片應緊密整齊地裝入清潔干燥、堅固耐用的箱(盒)內。
6.2.2 每個包裝箱(盒)內應裝入型號規格相同的面片。
6.2.3 每個包裝箱(盒)內應附有產品合格證。
6.3 運輸
在運輸過程中應做到不使面片受到損壞和被油、水沾污。
6.4 貯存
面片應貯存在通風干燥、地面平坦的室內。
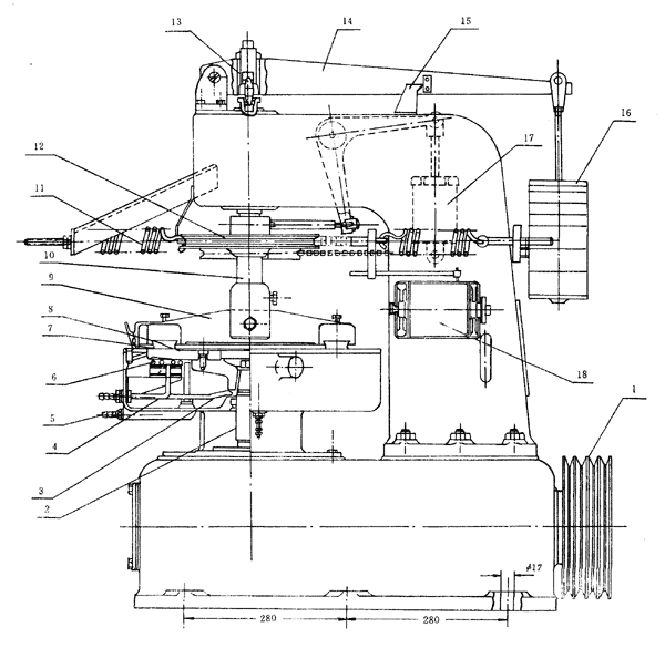
附錄A
?。ㄌ崾镜母戒洠?BR> 定速式摩擦試驗機

1―皮帶輪;2―旋轉軸;3―軸冷卻水噴嘴;4―冷卻水噴嘴(微調);5―冷卻水噴嘴(粗調);6―輔助加熱裝置;7―試片;8―摩擦盤;9―試片支承臂;10―加壓軸;11―測定摩擦力用彈簧;12―鏈輪;13―杠桿水平調整裝置;14―載荷用杠桿;15―杠桿水平指示器;16―砝碼;17―油緩沖器;18―摩擦力記錄滾筒
圖A1 定速式摩擦試驗機
附錄B
(提示的附錄)
圓盤溫度測定裝置與測定位置

1―酚醛樹脂;2―低碳鋼;3―熱電偶;4―黃銅;5―云母片;6―銀片;7―摩擦盤;8―試片;9―溫度測定裝置;10―溫度測定位置
圖B1 圓盤溫度測定裝置與測定位置
附錄C
(提示的附錄)
彎曲試驗夾具

圖C1 彎曲試驗夾具