1 主題內容與適用范圍
本標準規定了GB14371《危險貨物運輸爆炸品分級程序》中爆炸品分級所需的各種試驗方法的原理、目的、設備、材料、試樣要求,試驗步驟及評定結果的方法和判據。
本標準適用于爆炸品運輸危險性的分級試驗。
2 引用標準
GB14371 危險貨物運輸 爆炸品分級程序
GJB722.203 炸藥試驗方法 75℃加熱試驗
GJB722.206 炸藥試驗方法 撞擊感度測定 爆炸概率法
GJB722.208 炸藥試驗方法 摩擦感度測定 爆炸概率法
WJ1627 火工品藥劑75℃熱失重測定法
WJ1679 火藥摩擦感度測定法
WJ1680 火藥撞擊感度測定法
WJ1910 炸藥撞擊感度測定 特性落高法
3 試驗組別和試驗項目名稱
按GB14371的要求,本標準將試驗方法分為以下7組28個項目。
組 別 試驗項目
第1 組 1(a)隔板試驗
1(b)烤燃彈試驗
第2組 2(a)隔板試驗
2(b)烤燃彈試驗
第3組 3(a)撞擊感度試驗
3(b)摩擦感度試驗
3(c)75℃熱安定性試驗
3(d)小型燃燒試驗
第4組 4(a)制品熱安定性試驗
4(b)
1鋼管跌落試驗(用于液態物質)
4(b)
212m跌落試驗(用于制品和固態物質)
第5組 5(a)雷管感度試驗
5(b)燃燒轉爆轟試驗
5(c)外部火燒試驗
5(d)火焰感度試驗
第6組 6(a)單件試驗
6(b)堆垛試驗
6(c)外部火燒試驗
第7組 7(a)雷管感度試驗
7(b)隔板試驗
7(c)蘇珊(Susan)撞擊試驗
7(d)槍彈射擊試驗
7(e)外部火燒試驗
7(f)慢速烤燃試驗
7(g)1.6項制品外部火燒試驗
7(h)1.6項制品慢速烤燃試驗
7(j)1.6項制品槍彈射擊試驗
7(k)1.6項制品爆轟傳遞試驗
4 第1組試驗
第1組試驗的目的是回答GB14371第5.2條“爆炸品認可程序圖”(圖2)中框8的問題:“該物質是否具有爆炸性?”在這組試驗中只要有一項試驗結果為“+”,就認為該物質具有爆炸性。
4.1 1(a)隔板試驗
4.1.1 原理和目的
用主發藥柱產生的強沖擊波作用于試樣,觀察試樣是否被引爆。用以評價該物質對沖擊波作用的敏感度及其爆轟傳播特性。
4.1.2 設備和材料
a.樣品管
材料 精拔管20-內φ40×4T GB3639《冷拔或冷軋精密無縫鋼管》;
尺寸 內徑

,長度200mm;
b.主發藥柱
材料 鈍化黑索今(編者注:“今”應統一為“金”字)GJB297;
尺寸 直徑40mm,高度40mm;
密度 1.65±0.02g/cm
3;
其他要求 藥柱表面平整、光滑、無裂紋;
每發試驗用兩個藥柱;
c.隔板
材料 醋酸纖維片;
尺寸 厚度0.19±0.01mm,邊長為50mm的方片或直徑為50mm的圓片;
d.硬紙板
厚度 1~2nm;
e.見證板
材料 碳素結構鋼Q235—A GB700《碳素結構鋼》;
外形尺寸 長度和寬度均為100mm,厚度10mm的方板或直徑100mm,厚度10mm的圓板;
f.工業電雷管 GB8031,8號雷管;
g.起爆器。
4.1.3 試驗樣品
待運輸狀態下的物質。對成型藥柱應加工成直徑40±0.10mm的藥柱。
4.1.4 試驗步驟
4.1.4.1 將無縫鋼管的底端粘貼上一層硬紙板作底,制成樣品管。
4.1.4.2 將試樣放入管內,試樣的密度要達到敲拍樣品管時觀察不到試樣頂面下沉,最后使試樣頂面與管口平齊。對成型藥柱則直接將試樣藥柱裝入樣品管中,應使藥柱之間緊密接觸,頂面與樣品管口平齊。
4.1.4.3 按圖1所示,將樣品管豎立在見證板上,在樣品管上端面放一片醋酸纖維片,再放上兩個鈍化黑索今藥柱,使之與樣品管保持同軸。在藥柱上面中心位置安裝雷管。

圖1 1(a)隔板試驗裝置示意圖
1— 雷管;2—主發藥柱;3—隔板;4—樣品管;5—硬紙板;6—鋼見證板;7—試樣;8—雷管座
4.1.4.4 人員隱蔽后,用起爆器起爆雷管。觀察記錄見證板的破壞情況。
4.1.4.5 試驗進行三次,但只要有一次試驗見證板上有穿孔或凹坑,即可停止試驗。
4.1.5 評定結果的方法和判據
只要在一次試驗中見證板上有穿孔或凹坑,結果判為“+”;否則判為“-”。
4.2 1(b)烤燃彈試驗
4.2.1 原理和目的
觀察評價試樣在密閉容器中受到外部緩慢加熱時的反應程度。
4.2.2 設備和材料
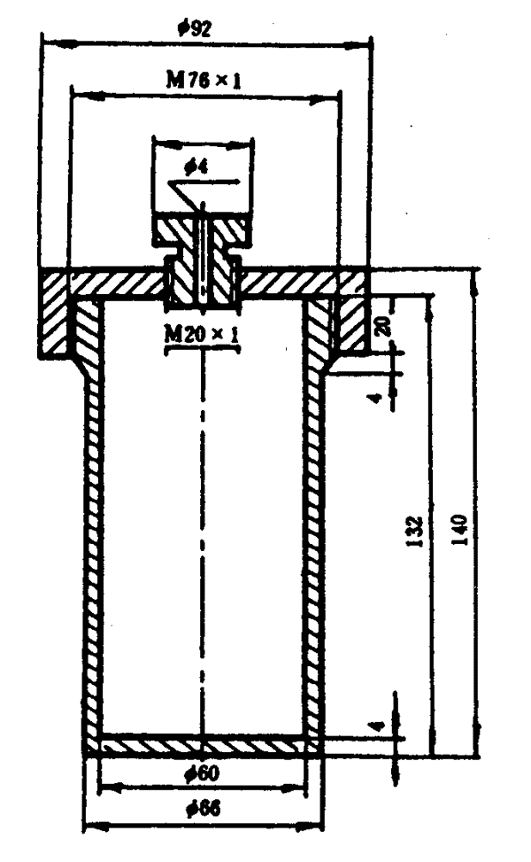
a.烤燃彈(見圖2)
彈體材料 優質碳素結構鋼 45鋼 GB699《優質碳素結構鋼 技術條件》;
尺寸 內徑60±0.5mm,高度140mm,壁厚3±0.1mm;
其他要求:頂端有鋼螺蓋,厚度8mm。項蓋中心有螺孔,配有一帶通風孔的螺栓;

圖2 烤燃彈結構圖
b.電加熱器;
c.夾緊螺栓;
d.上、下夾板
材料 碳素結構鋼 Q235—A GB700;
其他要求 下夾板(即見證板)厚度10mm;
e.測溫探頭及溫度記錄儀
精度 ±1℃;
f.支座墊圈
材料 厚硬紙板;
尺寸 內徑60mm,外徑70~80mm,厚度2mm。
4.2.3 試驗樣品
待運輸狀態下的固態物質。
4.2.4 試驗步驟
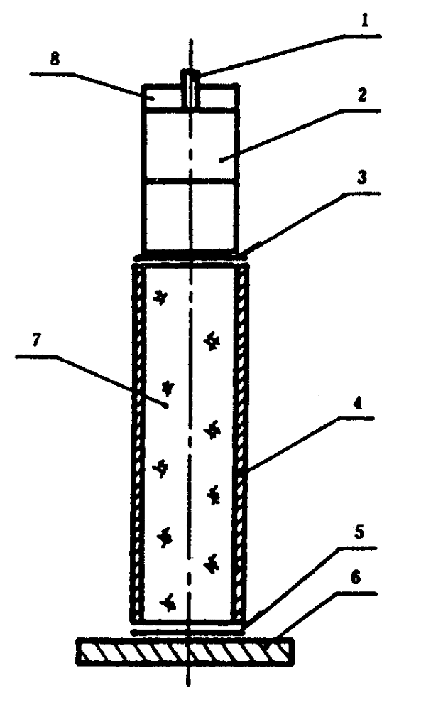
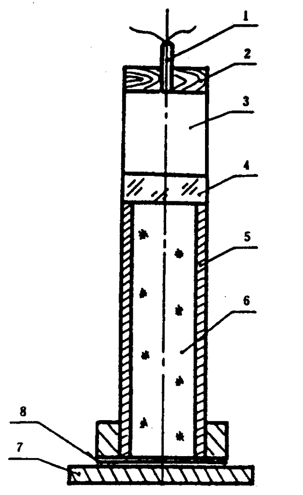
4.2.4.1 將試樣裝入彈體內,不要裝滿,留下適當的空間。插入測溫探頭,旋緊彈體的上蓋及固定測溫探頭引線的螺栓,并將引線孔的縫隙封嚴。然后用夾緊螺栓將彈體按圖3裝配好。

圖3 1(b)烤燃彈試驗裝置
1—烤燃彈體;2—試樣;3—夾緊螺栓;4—支座墊圈;5—下夾板;6—電加熱器;7—測溫探頭;8—上夾板;9—帶通孔的螺栓;10—熱電偶引線;11—烤燃彈蓋
4.2.4.2 將試驗裝置放在有防爆圍墻的試驗地點,人員隱蔽后,接通電源加熱,同時開啟溫度記錄儀。試驗從25±3℃開始。
4.2.4.3 升溫速率控制在3℃/min左右,直至裝置被破壞或溫度上升到400℃為止。
4.2.4.4 試驗進行兩次,但如果第一次彈體就破裂或炸碎,或者夾具底板被炸穿或有凹坑即可停止試驗。
4.2.5 評定結果的方法和判據
只要在一次試驗中彈體破裂或炸碎,或者夾具底板被炸穿或有凹坑。結果判為“+”;試驗中沒有發生上述任一現象時判為“-”。
5 第2組試驗
第2組試驗的目的是回答GB14371第5.2條“爆炸品認可程序圖”(圖2)中框5的問題:“該物質是否過于鈍感,而不屬于第1類?”在這組試驗中,只有當兩項試驗結果都為“-”時,才認為該物質過于鈍感不屬于第1類。
5.1 2(a)隔板試驗。
5.1.1 原理和目的 設備和材料、試驗樣品和試驗步驟均與4.1條1(a)隔板試驗相同(見4.1條),但每發試驗的隔板用240片醋酸纖維片疊加(相應的隔板總厚度為45.6mm);受試物質的密度和形態應與待運輸狀態下的相同。
5.1.2 評定結果的方法和判據
只要在一次試驗中見證板被炸穿或有凹坑,結果判為“+”;否則判為“-”。
5.2 2(b)烤燃彈試驗
5.2.1 原理和目的 設備和材料、試驗樣品和試驗步驟均與1(b)烤燃彈試驗相同(見4.2條)。
5.2.2 評定結果的方法和判據
只要在一次試驗中見彈體被炸碎、或者見證板被炸穿或有凹坑,結果判為“+”;試驗中沒有發生上述任何一現象,或彈體破裂但仍為一整塊,結果判為“-”。
6 第3組試驗
第3組試驗的目的是要回答GB14371第5.2條“爆炸品認可程序圖”(圖2)中框14的問題:“該物質是否對熱不安定?”和框15的問題“該物質在受試狀態下運輸是否太危險?”如3(c)75℃熱安定性試驗結果為“+”,則禁運;如3(c)試驗結果為“-”,其余三項試驗,只要有一項結果為“+”,就認為該物質運輸太危險,需要采取一定措施(見GB14371第5.2.2和5.2.3條)。
6.1 3(a)撞擊感度試驗
6.1.1 原理和目的
本試驗用于測定除液體以外的各種物質的撞擊感度。試驗時將定量試樣限制在兩光滑硬表面間,在落錘儀上用升降法測定試樣50%爆炸概率臨界落高(H
50),作為受試物質的撞擊感度,用以回答“該物質在受試狀態下運輸是否太危險?”
6.1.2 儀器和材料
儀器、設備、撞擊裝置、試劑材料要求見標準GJB772.206和WJ1910或WJ1680。
6.1.3 試驗樣品
試樣應是待運輸狀態下的物質。對于粉狀或粒狀物質,一般不再進行篩分處理。如待運輸物質為藥柱或藥塊,制成直徑6~8mm、厚約1mm的藥片(藥量約50mg)或研磨后篩取粒徑為0.200~0.450mm的藥粒作為試樣。
6.1.4 試驗步驟和結果計算
試驗條件 落錘質量5000±5g,,藥量0.050±0.001g。試驗步驟與結果計算見WJ1910第7~8條。
6.1.5 評定結果的方法與判據
如果受試物質的H
50值小于15.0cm,結果判為“+”,而H
50值大于或等于15.0cm時判為“-”。
6.2 3(b)摩擦感度試驗
6.2.1 原理和目的
本試驗用于測定除液體以外的各種物質的摩擦感度,試驗時,將定量試樣在一定壓力下受一摩擦作用,測定其爆炸概率,作為試樣的摩擦感度值,用以回答“該物質在受試狀態下運輸是否太危險?”
6.2.2 設備和材料
儀器、設備、摩擦裝置、試劑材料要求見標準GJB772.208或WJ1679。
6.2.3 試驗樣品
對試樣的要求與6.1.3條相同。
6.2.4 試驗步驟和結果計算
試驗條件為擺角80°(用于炸藥)或66°(用于火藥),表壓2.45MPa。藥量20mg。試驗步驟和結果計算同GJB772.208第7~11條或WJ1679第5~9條。
6.2.5 評定結果的方法和判據
如果受試物質的爆炸概率大于12%,試驗結果判為“+”;如試樣的爆炸概率小于或等于12%,結果判為“-”。
6.3 3(c)75℃熱安定性試驗
6.3.1 原理和目的
本試驗用于測量物質在高溫條件下的安定性,觀察試樣在75℃環境下是否明顯溫度升高、著火或爆炸現象發生,用以回答:“該物質是否對熱為安定?”
6.3.2 設備和材料
a.恒溫箱
控溫精度±2℃;
b.帶蓋稱量瓶(或配蓋的無嘴燒杯)
規格 直徑35mm,高度50mm;
c.天平
感量 ±1mg;
d.平底試管
規格 直徑50mm,高度150mm;
e.塞子;
f.干燥器;
g.惰性參照物質(如二氧化硅);
h.測溫探頭及溫度記錄儀
測溫范圍0~100℃;
精度 ±1℃。
6.3.3 試驗樣品
待運輸狀態下的物質。
6.3.4試驗步驟
6.3.4.1第一部分試驗
將50g試樣裝入已知質量的帶蓋稱量瓶并稱量。然后將帶蓋稱量瓶放到烘箱中,將烘箱溫度保持在75±2℃。試樣在此溫度下放置48h,并觀察現象。在此過程中沒有發生著火和爆炸,就取出稱量瓶放在干燥器中冷卻,然后稱量,測定樣品減量百分數。處理未知性能物質時先用10g試樣進行預備試驗。
對于軍用炸藥和火工品藥品劑分別按GJB772.203和WJ1627進行試驗。
6.3.4.2 第二部分試驗
如果物質在第一部分試驗中未發生著火或爆炸則進行第二部分試驗,試驗裝置見圖4。稱量100g試樣和100g惰性參照物質,分別裝在兩個平底試管內。將試樣管放入烘箱,箱內溫度調節到75±2℃恒溫48h,如用熱電偶和毫伏計測溫,則將兩支型號完全相同的熱電偶反向串聯起來,再將這兩支熱電偶分別插在試樣和惰性參照物質中,將毫伏計連接在熱電偶的兩個自由端之間,用以指示和監測試樣與惰性參照物質之間是否有溫度差。并觀察試樣是否有分解的跡象。

圖4 3(c)75℃熱安定性試驗
1—試樣;2—參照物質;3—熱電偶;4、7—樣品管;5—塞子;6—接毫伏計
6.3.5 評定結果的方法與判據
6.3.5.1 第一部分試驗如果發生著火或爆炸,結果判為“+”。
6.3.5.2 第二部分試驗如果試樣著火或爆炸,或試樣的溫度比參照物質溫度高3℃或3℃以上,結果判為“+”。如果試驗未顯示上述現象,且無分解現象,結果判為“-”。
6.3.5.3如果記錄到加熱溫升小于3℃,但觀察到有一定分解現象,則需進行附加試驗或評價,再確定試驗結果。
6.4 3(d)小型燃燒試驗
6.4.1 原理和目的
用直接點火的方法觀測被試物質對火焰的響應情況。
6.4.2 設備和材料
a.秒表;
b.牛皮紙;
尺寸 長300mm,寬300mm;
c.黑火藥GJB1056 小粒黑火藥;
d.雷管用電點火頭。
6.4.3 試驗樣品
待運輸狀態下的物質(液體除外)。
6.4.4 試驗步驟
6.4.4.1 按照圖5,將一張牛皮紙放在不能燃燒的干燥表面上,10g試樣放在牛皮紙的中心,堆成圓錐形(圓錐高度約等于圓錐底的半徑),再將10g黑火藥圍繞試樣沿紙的四邊布成條狀,把兩個點火頭放在黑火藥的對角對頂點。接通電源點火,點火頭從兩個相反方向點燃黑火藥,緊接著牛皮紙被黑火藥點著,火焰傳播到試樣。觀察記錄試樣反應的情況:
a. 點火熄滅;
b.點著并燃燒,記錄燃燒持續時間;
c.爆炸,記錄燃燒至爆炸時間。

圖5 3(d)小型燃燒試驗
1—試樣;2—黑火藥;3—牛皮紙;4—點火頭
6.4.4.2 如按6.4.4.1 試驗,試樣未發生爆炸,再用100g試樣,重復上述步驟。
6.4.5 評定結果的方法和判據
如果試樣發生爆炸,結果判為“+”;否則判為“-”。
7 第4組試驗
第4組試驗的目的是回答GB14371第5.2條“爆炸品認可程序圖”(圖2)中框22的問題:“該制品或包裝后的物質是否對運輸太危險?”在這組試驗中只要有一項試驗結果為“+”,就認為該物質或制品運輸太危險。
7.1 4(a)制品熱安定性試驗
7.1.1 原理和設備
將待分級的制品或制品包裝件放在75℃的環境中,觀察它是否發生變化。用以評價該制品的熱安定性。
7.1.2儀器和設備
a.恒溫裝置
控溫精度 ±2℃;
其他要求 具有通風、雙重控溫和防爆電氣特性;
b.測溫探頭及溫度記錄儀
測溫精度 ±1℃。
7.1.3 試驗樣品
待運輸狀態下的單件制品或制品的最小包裝件。
7.1.4 試驗步驟
將試件放在恒溫裝置內,測溫探頭應與制品的外殼或接近包裝件中心制品外殼接觸,測溫探頭引線接到記錄儀上,將恒溫裝置溫度調節到75±2℃,保持48h。觀察并記錄試件的反應情況。
7.1.5 評定結果的方法和判據
如果出現下列任何一種情況,結果判為“+”:
a.制品爆炸;
b.制品燃燒;
c.產生有色的煙或氣味;
d.制品溫度超過恒溫裝置溫度3℃以上。
e.制品的外殼或制品包裝件的外部損壞。
7.2 4(b)跌落實驗
7.2.1 4(b)
1鋼管跌落試驗(用于液態物質)
7.2.1.1 原理和目的
觀測密閉在鋼管中的液態物質,從不同高度跌落到鋼板上是否發生爆炸反應。
7.2.1.2 設備和材料
a.樣品管
材料 精拔管 45—Ø42×4.5(或4)T GB3639;
尺寸 長度500mm;
其他要求 底端焊上直徑42mm、厚度4mm的圓形鋼片做管底;上端配有螺蓋,蓋的中心鉆有一個8mm的軸向孔。
b.跌落架
有效跌落高度不小于5m,并帶有懸吊松脫裝置;
c.鋼板
硬度 HB>200;
尺寸 長度和寬度均不小于750mm,厚度不小于75mm。
7.2.1.3 試驗樣品
待運輸狀態下的液態物質。
7.2.1.4 試驗步驟
7.2.1.4.1選用成分均勻,有代表性的試樣裝入樣品管中,試驗前1h內攪拌10s左右,記錄下樣品的初始密度和溫度,然后旋緊螺蓋,螺蓋要用聚四氟乙烯膠帶密封,并用塑料塞封閉小孔。
7.2.1.4.2 按圖6裝置進行試驗。鋼板平放在混凝土基礎上,試驗從某一高度開始做,每次落高按0.25m間隔變化,每一高度做三次試驗,每一試件只許跌落一次,試驗時應使管子垂直下跌,測出試樣不爆炸的最大高度;也可只做5m高度的三次試驗。觀察記錄跌落后發生的現象。
7.2.1.5 評定結果的方法和判據
a.在5m或5m以下的高度進行跌落試驗時,試樣發生爆轟,樣品管被炸碎或破裂,結果判為“+”。
b.在5m高處落下后,三次試驗試樣均不發生反應,結果判為“-”。
c.在5m高處落下后,樣品管雖未破裂,但有試樣發生反應的證據,則禁止用金屬容器運輸。
7.2.2 4(b)
212m跌落試驗(用于制品和固態物質)
本試驗適用于包裝的固態物質和軍用引信以外的制品。

圖6 4(b)
1鋼管跌落試驗裝置
1—懸吊松脫裝置;2—樣品管;3—試樣;4—鋼板;5—混凝土地基
7.2.2.1 原理和目的
利用物體自由落下撞擊硬質表面,觀察包裝的固態物質或制品(軍用引信除外)是否會發生燃燒或爆炸反應。
7.2.2.2 設備和材料
a.跌落架
最大有效高度 不小于12m,并帶有懸吊松脫裝置;
b.鋼板
尺寸 長寬至少為包裝件尺寸的1.5倍,厚度不小于75mm,
硬度HB>200;
c.照相機或錄像機。
7.2.2.3 試驗樣品
待運輸貨物的最小包裝件或制品。
7.2.2.4 試驗步驟
將試件懸掛在跌落架上,鋼板平放在最小厚度0.6m的混凝土基礎上,試件的最低點至撞擊面12m,每個試件只許跌落一次。試驗時注意觀察或記錄撞擊姿態。撞擊后要等待一段時間后再接近試樣,檢查、記錄外包裝的破壞情況,內部物質是否有可見的引發和點燃的證據,是否發生燃燒或爆炸。
試驗進行三次,但只要有一次試驗發生燃燒或爆炸即可停止試驗。
7.2.2.5 評定結果的方法和判據
試驗后發生燃燒或爆炸,結果判為“+”。僅包裝破裂不判為“+”。
8 第5組試驗
第5組試驗的目的是回答GB14371第6章的“爆炸品分項程序圖”(圖3)中框28的問題:“是否為很不敏感爆轟性物質?”在這組試驗中,只有當四項試驗結果均為“-”時,該物質才能定為1.5項。
8.1 5(a)雷管感度試驗
8.1.1 原理和目的
用雷管引爆試樣評定物質對雷管作用的敏感程度。
8.1.2 設備和材料
a.雷管
工業電雷管GB8031《工業電雷管》中8號雷管;
b.樣品管
材料 硬紙板;
尺寸 內徑80mm,高度160mm,厚度不大于1.5mm;
c.見證板
材料 碳素結構鋼薄鋼板Q235 —A GB11253;
外形尺寸 長度和寬度均為160mm,厚度1mm;
d.支架
材料 普通鋼管
尺寸 內徑100mm,高度50mm;
e.普通鋼板
尺寸 長度和寬度均不小于160mm,厚度不小于25mm;
f.起爆器。
8.1.3 試驗樣品
待運輸狀態下的物質。
8.1.4 試驗步驟
8.1.4.1 將試樣均勻裝入樣品管中,要求最終密度等于或小于它的裝運密度,并測量記錄試樣密度,精確至±0.01g/cm
3。裝藥時應注意下列各點:
a.對粒狀物料分三份裝入,每裝完一份后要輕拍,從50mm處豎直落下墩數次后再裝下一份,直至裝滿。
b.對膠狀物料要逐漸加入,并用輕輕震動等方法小心裝好,消除空隙;
c.對于特殊的高密度藥包可不用樣品管,而直接采用原藥包做試驗。假如原藥包過長,允許將不少于160mm長的一部分藥包切割下來做試驗。在這種情況下,雷管應插入沒有受到切割作用影響的一端。
d.對于那些雷管感度與溫度有關的炸藥必須在試驗前,在28~30℃下至少存放30h;
e.對含有粒狀硝酸銨的炸藥,必須于試驗前進行總時間為48h的溫度循環:25℃→40℃→25℃→40℃→25℃。相對濕度25℃時應不大于60%,40℃時應不大于50%(如溫度循環試驗在封閉條件下進行,僅控制25℃時相對濕度不大于60%即可)。
8.1.4.2 按圖7裝配試驗裝置,在樣品管頂端中心位置沿軸向插入雷管,插入深度等于雷管長度。人員隱蔽后起爆。

圖7 5(a)雷管感度試驗裝置
1— 雷管;2—樣品管;3—試樣;4—見證板;5—支架;6—鋼板
8.1.4.3 檢查、記錄見證板的破壞情況。
8.1.4.4 試驗進行三次,但只要有一次試驗見證板被炸穿,即可停止試驗。
8.1.5 評定結果的方法和判據
試驗中只要有一次見證板被炸穿,結果判為“+”,若見證板僅有凹痕、裂紋、折皺現象不判為“+”。
8.2 5(b)燃燒轉爆轟試驗
8.2.1 原理和目的
用定量黑火藥點燃密閉在鋼管中的試樣,觀測該物質由燃燒轉爆轟的難易程度。
8.2.2 設備和材料
a.樣品管(見圖8)

圖8 樣品管結構圖
材料 精拔管 45—Ø48×4T GB3639;
尺寸 長度1200mm;
其他要求 兩端配有螺帽封口,耐靜壓不小于74.5MPa。
b.黑火藥 GJB1056 小粒黑火藥;
c.雷管用電點火頭;
d.見證板
材料 鋁板 GB3194《鋁及鋁合金板材的尺寸及允許偏差》;
尺寸 長度1200mm,寬度80mm,厚度10mm。
8.2.3 試驗樣品
待運輸狀態下的物質。
8.2.4 試驗步驟
8.2.4.1 按圖9所示,將試樣裝入樣品管中,用5g黑火藥放在點火頭周圍,計算出試樣密度,應使其接近或等于待運輸狀態時的密度。再將裝好試樣的樣品管平放在見證板上,并記下藥柱長度、密度、見證板與藥柱的相對位置。

圖9 5(b)燃燒轉爆轟試驗裝置
1—樣品管;2—試樣;3—點火頭;4—黑火藥;5—見證板
8.2.4.2 人員隱蔽好后,點火引燃試樣,觀察記錄樣品管和見證板的破壞情況,及見證板上有無表征燃燒轉為爆轟的壓痕,如有壓痕,記下轉為爆轟前的長度。
8.2.4.3 試驗進行兩次,但只要有一次發生爆炸,即可停止試驗。
8.2.5 評定結果的方法和判據
如果見證板上有明顯的壓痕,則認為發生了爆轟,只要有一次發生了爆轟,結果判為“+”,如果連續兩次試驗均未爆轟,見判為“-”。
8.3 5(c)外部火燒試驗
8.3.1 原理和目的
觀察試件處在外部火焰中,是否會發生爆炸。
8.3.2 設備和材料
a.鋼支托架
支托架上有放置試件的格柵,格柵距地面約1m;
b.燃料
木柴及其他液體燃料;
c.點火材料
點火頭、黑火藥及工業酒精;
d.托盤
8.3.3 試驗樣品
待運輸狀態下的爆炸物質的包裝件。被試包裝件的總體積不小于0.15m
3,所含爆炸物的質量不超過200kg。
8.3.4 試驗步驟
8.3.4.1 將浸過液體燃料的木條,交錯地架在支托架格柵的下面,包裝件放在支托架的格柵上。
8.3.4.2 用點火材料點燃木條,使火焰至少達到包裝件所有側面的一半。燒烤時間應在10min以上。
在試驗過程中觀察有無爆炸的證據,如:從著火區是否發出強大的聲響和拋出破片。
8.3.5 評定結果的方法和判據
在試驗中發生爆炸,結果判為“+”;否則判為“-”。
8.4 5(d)火焰感度試驗
8.4.1方法原理
用導火索產生的火焰直接作用于試樣表面,觀察試樣是否發火。
8.4.2 儀器和材料
a普通工業導火索 GB 9108《工業導火索》;
b.耐熱玻璃試管
尺寸 長125±3mm,外徑15±1mm;壁厚1.00±0.25mm;
c.試驗箱
試驗箱應能承受或防護約5g猛炸藥爆炸,側面有一個有機玻璃觀察窗,箱內置有可夾持試管和導火索的支架。
8.4.3 試驗樣品
試樣應是待運輸狀態的代表性物質,對于粉狀或粒狀物質,一般不再進行篩分處理,必要時經研磨篩取小于850μm的顆粒,推進劑或其他成型藥柱經研磨后通過篩孔基本尺寸為1mm的試驗篩,也可以從固體件上割取直徑4mm、厚度2mm的圓片作為試樣。
8.4.4 試驗步驟
8.4.4.1 在干燥潔凈的試管內放入3g試樣,輕拍試管,使試樣表現平整,然后將裝有試樣的試管豎直地夾在試驗箱內的支架上。
8.4.4.2 截取長為23cm的導火索,與試樣接觸的截面應與導火索軸線成直角,將導火索夾持在支架上,調節其高度,使導火索端面正好與試樣表面中心部分接觸。
8.4.4.3 用點火具點燃導火索上端,點燃后人員退至安全位置,并注意觀察和記錄試樣發生的現象。
8.4.4.4 試驗進行五次,但只要有一次試驗發生燃燒或爆炸,即可停止試驗。
8.4.5 評定結果的方法和判據
只要有一次試驗發生燃燒或爆炸,結果判為“+”;否則判為“-”。
9 第6組試驗
第6組試驗的目的是要對已被暫定為爆炸品的物質包裝件或制品,按照GB14371第6章“爆炸品分項程序圖”(圖3)和8.6條的規定進行分項試驗。
9.1 6(a)單件試驗
9.1.1 原理和目的
在單個包裝件內部點火或起爆后,觀測評價能否引起燃燒或爆炸,燃燒或爆炸能否在包裝件內傳播,以及這些效應對周圍環境的危害。
9.1.2 設備及材料
a.見證板
材料 碳素結構鋼 Q235—A GB700;
厚度≥3mm;
b. 工業電雷管 GB8031 8號雷管;
c.點火頭;
d.黑火藥GJB1056 小粒黑火藥;
e.起爆或點火用電源;
f.爆炸波測量裝置;
g.砂箱或砂袋。
9.1.3 試驗樣品
待運輸狀態下的單個包裝件。
9.1.4試驗步驟
9.1.4.1將包裝件放在一塊置于地面上的見證板上,用裝滿泥土和砂子的箱子或砂袋圍在四周和頂部,其約束厚度視包裝件大小而定。包裝件不足0.15m
3,各邊厚度至少0.5m,包裝件大于0.15m
3,各邊厚度至少1m。
9.1.4.2 引發方式
a.對包裝好的物質
爆炸性物質用8號電雷管起爆;
爆轟性物質用點火頭和黑火藥點火,強度以能恰好點燃為度,但所用黑火藥不應超過30g;
如果該物質不是用作產生爆炸效應的,則先用雷管起爆,如果不爆,再用點火頭和黑火藥點火。
b.對包裝好的制品
制品本身帶有引爆或點火裝置的,則使位于包裝件中央的一個制品,以其自身的引發裝置引發,如果用其自身的引發裝置不現實,則用一引發強度相近的裝置來代替;
如果制品本身不帶引發裝置,則將位于包裝件中央的一個制品按原設計要求的方式引發。
9.1.4.3 每次試驗都要觀察記錄整個包裝件的熱效應、爆炸波以及是否發生了爆轟、爆燃或爆炸的證據,如:試驗地點產生的爆炸噴口情況,見證板破壞情況,爆炸波信號強弱,約束材料被炸壞和拋散情況,以及殘留的試樣情況等。
9.1.4.4 試驗進行三次,但只要有一次試驗包裝件的全部內裝物同時爆炸,即可停止試驗。
9.1.5評定結果的方法和判據
根據試驗證據進行綜合分析,如果判斷為整個包裝件發生爆炸,則判定該貨物為1.1項。
9.2 (6)b 堆垛試驗
9.2.1 原理和目的
對一堆包裝件或無包裝的制品進行試驗,其目的是為了確定堆垛中的燃燒或爆炸能否由一個包裝件傳播到另一個或由一個無包裝的制品傳播到另一個;以及這種效應對周圍環境的危害。
9.2.2 設備及材料
設備及材料與單件試驗相同(見9.1.2條)。
9.2.3 試驗樣品
待運輸狀態下的包裝件或無包裝的制品。
9.2.4 試驗步驟
9.2.4.1 將不少于兩個且總體積不小于0.15m
3的包裝件或無包裝的制品按運輸時的方式堆放在見證板上。在堆垛的四周和頂部堆放砂箱或砂袋,約束厚度至少1m。
9.2.4.2 引發方式
a.對包裝好的物質
與9.1.4.2a條相同。
b.對包裝好的制品和無包裝制品。
制品本身帶有引爆或點火裝置的,則使位于堆垛中央的包裝件的中心部位的一個制品,以其自身的引發裝置引發。如果用其自身的引發裝置不現實,則用一引發強度相近的裝置來代替;
制品本身不帶引發裝置的,則將位于堆垛中央部位的一個制品按原設計要求的方式引發。
9.2.4.3 每次試驗都要觀察記錄整堆包裝件或制品的熱效應、爆炸波以及是否發生了爆轟、爆燃或爆炸的證據。
9.2.4.4 試驗進行三次。但只要有一次試驗發生了整體爆炸,即可停止試驗。
9.2.5 評定結果的方法和判據
發生下列情況之一,即判定整個堆垛發生爆炸,將該種貨物判定為第1.1項:
a.在試驗地點所產生的爆炸噴口比單件試驗明顯地大;
b.試件堆下的見證板受到嚴重破壞;
c.爆炸波的測量值大大超過單件爆炸物的測量值;
d.大部分約束材料被嚴重破壞并拋散。
9.3 6(c)外部火燒試驗
9.3.1 原理和目的
觀測一堆包裝件或無包裝的制品,在外部火焰作用下的反應情況和它是否有危險,以及以什么方式(爆炸波、熱效應或危險拋射物等)危害周圍環境。
9.3.2 設備和材料
a.鋼支托架
支托上有放置樣品用的格柵,格柵距地面約1m;
b.燃料
木柴及其他液體燃料;
c.點火材料
點火頭、黑火藥及酒精或廢火藥等;
d.托盤
e.見證板
材料 鋁板或等效的其他板材;
尺寸 長度和寬度均為2000mm,厚度2mm;
f.電影攝影機或錄像機
g.爆炸波檢測儀,輻射能通量計及其有關記錄裝置。
9.3.3 試驗樣品與9.2.3條相同。
9.3.4 試驗步驟
9.3.4.1 將不少于三個且總體積不小于0.15m
3的包裝件或無包裝的制品堆放在支托架格柵上,并用鐵絲捆在一起。
9.3.4.2 在支托架格柵的下面及周圍放置足量的燃料,使燃燒至少維持30min。堆放方式應使燃料燃燒時空氣暢通減少冒煙。其加熱速率盡量與運輸事故中可能出現的情況相當。
9.3.4.3 用木樁將見證板豎立在試樣堆的三面,見證板距離試樣堆外表面4m,下風面不放置見證板。在適當位置裝置好測試和記錄儀器。
9.3.4.4 用點火材料點燃燃料,燒烤樣品堆。
9.3.4.5 觀察記錄下列效應:
a.樣品堆的內裝物發生爆轟、爆燃或爆炸的證據;
b.危險的拋射物;
c.熱效應(例如火球、輻射照度等)。
9.3.5評定結果的方法和判據
9.3.5.1 在試驗中如果全部內裝物實際上同時爆炸則判定該貨物為1.1項。
9.3.5.2 如果不是全部內裝物同時爆炸,但出現下述任何一種情況,則判定該貨物為1.2項:
a.三塊垂直見證板中至少一塊有穿孔;
b.有10個以上且每個質量超過25g的金屬拋射物拋出堆垛邊界50m以外處;
c.至少有一個質量超過150g的金屬拋射物拋出堆垛邊界15m以外處。
9.3.5.3 如果沒有出現9.3.5.1和9.3.5.2條所述的現象,但出現下述情況之一,則判定該貨物為1.3項:
a.火球延伸到任何一塊見證板之外;
b.噴射火焰超出燃料火焰3m以上;
c.在離堆垛邊界15m處噴射火焰比燃料火焰的輻射照度超過4kW/m
2(記錄到的最大輻射的輸出時間應超過5s)。
d.從堆垛中拋射出的試件燃燒拋射物,拋出堆垛邊界15m以外。
9.3.5.4 如果沒有出現9.3.5.1~9.3.5.3條所述的現象,但出現下述情況之一,則判定該貨物為1.4項(不屬于S組):
a.三塊見證板中至少一塊出現壓痕;
b.拋射物、熱效應或爆炸波效應嚴重地妨礙在包裝件附近(5m處)采取滅火或其他應急措施。
9.3.5.5 如果沒有出現9.3.5.1~9.3.5.4條所述的現象,雖產生一定的拋射物、熱效應和爆炸波效應、但不致嚴重妨礙在包裝件附近(5m處)采取滅火或其他應急措施,則判定該貨物為1.4項S組。
9.3.5.6 如果沒有出現9.3.5.1~9.3.5.5條所述的現象,則有以下幾種可能:
a.如果產品是一種為了產生實際的爆炸和煙火效應而生產的制品,而在制品(裝置)本身以外有某些效應(拋射物、火焰、煙、熱或大的聲響)產生,則該包裝的制品屬于1.4項S組;但如果在制品(裝置)本身以外沒有上述任何效應,則根據GB14371中4.1.2e條,該制品(裝置)不屬于第1類;
b.如果產品不是為了產生實際的爆炸和煙火效應而生產的,則根據GB14371中4.1.2e條該產品不屬于第1類。
10 第7組試驗
第7組試驗的目的是要回答:GB14371第6章中“爆炸品分項程序圖”(圖3)中框39的問題:“是否為極不敏感的制品?”。本組試驗包括兩個部分:7(a)~7(f)是針對制品中所含的物質進行的試驗;7(g)、7(h)、7(j)和7(k)是針對制品本身進行的試驗。只有當10項試驗結果均為“-”時,該制品才能定為1.6項。
10.1 7(a)雷管感度試驗
10.1.1 原理和目的
用雷管引爆待定的極不敏感的爆轟性物質評定其受雷管作用的敏感程度。
10.1.2 設備和材料
與5(a)雷管感度試驗相同(見8.1.2條)。
10.1.3 試驗樣品
含在制品中的待定為極不敏感的爆轟性物質。如果為大藥塊,則加工成直徑80mm,高度160mm,并在一端帶有雷管孔的藥柱。
10.1.4 試驗步驟
參照5(a)雷管感度試驗的步驟進行,先根據試樣的特點裝好樣品管,然后進行爆炸試驗(見8.1.4.1~8.1.4.3條)。
10.1.5 評定結果的方法和判據
與5(a)雷管感度試驗相同(見8.1.5條)。
10.2 7(b)隔板試驗
10.2.1 原理和目的
用主發藥柱產生的沖擊波經過一定厚度的有機玻璃隔板衰減后作用于試樣,觀察試樣是否被引爆。用以評價待定的試樣對沖擊波作用的敏感度。
10.2.2 設備和材料
a.樣品管
材料 精拔管20—Ø100×11T GB3639;
尺寸 外徑100mm、壁厚11mm、長度280mm;
b.主發藥柱
材料 鈍化黑索今 GJB297;
密度 1.60±0.05g/cm
3;
尺寸 直徑100mm,高度100mm;
c.隔板
材料 有機玻璃;
尺寸 直徑100mm(或邊長100mm的方塊)、厚度70mm;
d.工業電雷管GB8031 8號雷管。
e.見證板
材料 碳素結構鋼Q235—A GB700;
硬度 HB>130;
尺寸 長度和寬度均為200mm,厚度20mm的方板或直徑為200mm,厚度為20mm的圓板;
f.帶有中心孔的木制雷管座 直徑100mm,高度25mm,中心孔徑8.5mm;
g.墊片
材料 硬紙板;
厚度 2mm;
h.起爆器。
10.2.3 試驗樣品
取制品中的爆炸物質,如為大藥塊應加工成長度為280mm,直徑78mm(略小于樣品管的直徑)的藥柱。
10.2.4 試驗步驟
10.2.4.1按圖10所示將雷管、主發藥柱、隔板和試樣藥柱同軸地放在見證板上,在試樣藥柱的底端與見證板之間加一片2mm厚硬紙板墊片,要確保雷管與主發藥柱、主發藥柱與隔板以及隔板與試樣藥柱之間接解良好,最后安裝雷管,連接起爆導線。

圖10 7(b)隔板試驗裝置
1—雷管;2—雷管座;3—主發藥柱;4—隔板;5—樣品管;6—試樣;7—見證板;8—墊片
10.2.4.2 人員隱蔽后,用起爆器引爆雷管,引爆后檢查見證板破壞情況。
10.2.4.3 試驗進行三次,但只要有一次試驗試樣發生爆轟,即可停止試驗。
10.2.5 評定結果的方法與判據
只要在一次試驗中見證板被打穿,結果判為“+”,否則判為“-”。
10.3 7(c)蘇珊(Susan)撞擊試驗
10.3.1 原理和目的
將受試爆炸物質裝入特制的彈體中,以一定的速度撞擊靶板,觀測評價該物質在高速撞擊條件下發生爆炸反應的程度。
10.3.2 設備和材料
a.滑膛炮
口徑82.0mm;
b.靶板
材料 裝甲鋼;
厚度 60mm;
c.彈丸(圖11)
總質量 5.44kg;
尺寸 直徑82.0mm,長度234mm;
d.試樣
密度 與制品中裝藥密度相同;
尺寸 直徑50.0mm,長度100.0mm;
e.發射藥裝藥;
f.測量撞擊速度的儀器;
g.有三個測壓探頭的測量爆炸波超壓的儀器,系統頻響不低于20kHz。

圖11 蘇珊彈丸示意圖
1—密封皮碗;2—鋼彈體;3—鋁帽;4—試樣
10.3.3 試驗步驟
10.3.3.1 試驗場地的布置見圖12,測壓探頭距彈丸撞擊點3.05m,炮口距裝甲鋼靶板3.7m,彈丸飛行彈道高于地面約1.2m。
10.3.3.2 調整發射藥裝藥量使彈丸撞擊速度為333~366m/s。
10.3.3.3 以333~366m/s的撞擊速度進行試驗,同時記錄爆炸波的壓力—時間關系,至少獲得5次試驗的10個壓力—時間記錄。

圖12 蘇珊撞擊試驗場地布局示意圖
1—靶板;2—三個測壓探頭;3—擋板;4—滑膛炮;
10.3.4 評定結果的方法和判據
從每次試驗所得的壓力—時間記錄確定出最大超壓。再由至少10個壓力記錄求出最大超壓的平均值。如果最大超壓的平均值大于或等于27kPa。結果判為“+”;否則判為“-”。
10.4 7(d)槍彈射擊試驗
10.4.1 原理和目的
以一定速度的槍彈射擊裝在樣品管中的試樣,觀測評價被試物質的反應情況。
10.4.2 設備和材料
a.槍
口徑 12.7mm;
b.穿甲槍彈
彈徑 12.7mm;
質量 46g;
槍彈初速 820±60m/s;
c.樣品管
材料 精拔管 20—內Ø40×4T GB3639;
尺寸 內徑40mm,壁厚4mm,長度200mm;
其他要求 兩端有鋼螺蓋,端面厚度4mm。
10.4.3 試驗樣品
密度 與制品中裝藥密度相同;
尺寸 長度200mm,直徑40±0.10mm。
10.4.4 試驗步驟
10.4.4.1 將試樣緊密接觸地裝入樣品管中,旋緊螺蓋,轉矩為204N·m。
10.4.4.2 將試件牢固地安裝在距槍口20m的柱基上,并使試件在受子彈撞擊時不致移動。
10.4.4.3 每組試驗徑向、軸向至少各試驗3次,以槍彈穿過管壁或管蓋為有效。
10.4.4.4 觀測試樣受槍彈撞擊時的響應,并收集樣品管的碎片。
10.4.5 評定結果的方法和判據
只要在一次試驗中樣品管全部炸碎,結果判為“+”。所有試驗中都不爆炸,結果判為“-”。
10.5 7(e)外部火燒試驗
10.5.1 原理和目的
觀測受試物質在有外殼約束的條件下,受到外部火燒時的反應情況。
10.5.2 設備和材料
a.樣品管
與10.4.2c條相同;
b.鋼支托架
支托架上有放置樣品用的格柵,格柵距地面約1m;
c.燃料
木柴和其他液體燃料;
d.點火材料
與9.3.2c條相同;
e.見證板
與9.3.2e條相同;
f.爆炸波檢測儀,輻射熱通量計及其有關記錄裝置。
10.5.3 試驗樣品
與10.4.3條相同;
10.5.4 試驗步驟
10.5.4.1 將試樣裝入樣品管中,旋緊螺蓋,轉矩為204N·m。
10.5.4.2 將5個裝好的樣品管并綁在一起作為一組,平放在支托架上。
10.5.4.3 堆放燃料、豎立見證板及點火試驗操作與6(c)外部火燒試驗相同(見9.3.4.2~9.3.4.4條)。
10.5.4.4 記錄每次試驗后樣品反應的情況、爆坑的情況及樣品管爆炸破片的尺寸和位置。
10.5.4.5 試驗進行三次,但只要有一次試驗發生爆轟反應,即可停止試驗。
也可以將15個樣品管捆在一起,放在支托架上進行一次試驗。
10.5.5 評定結果的方法和判據
在試驗中發生爆轟反應或使破片拋出15m以遠,結果判為“+”;否則判為“-”。
10.6 7(f)慢速烤燃試驗
10.6.1 原理和目的
觀測受試物質在慢速升溫的環境下是否發生反應及發生反應的溫度。
10.6.2 設備和材料
a.樣品管
與10.4.2c條相同;
b.加熱爐
控溫范圍 40~365℃;
其他要求 能控制以3~4℃/h的升溫速率提高爐內溫度;具有保險裝置和壓力釋放裝置;
c.測溫探頭及溫度記錄儀
測量精度 ±2%。
10.6.3試驗樣品
與10.4.3條相同。
10.6.4 試驗步驟
10.6.4.1 按10.4.4.1 條的方法準備三個試件。
10.6.4.2 將一個試件放入加熱爐中,并放置好記錄爐內溫度和試件外表面溫度的測溫探頭。拍攝彩色照片,記錄試驗設備和條件。
10.6.4.3 從比預估發生反應的溫度低至少55℃的條件開始升溫,升溫速率為3~4℃/h。用溫度記錄儀監測爐內溫度和試件外表面溫度,每隔10min記錄一次(若能連續監測更好),加熱至試件發生反應或至365℃時為止,同時記錄時間。
10.6.4.4 拍攝試驗后的彩色照片。回收試驗區內的試件、樣品管或其碎片,收集、記錄是否發生了猛烈爆炸的證據(如彈坑的情況以及破片的大小和位置等)。
10.6.4.5 試驗進行三次,但只要有一次試驗發生了爆轟或猛烈反應,即可停止試驗。
10.6.5 評定結果的方法和判據
發生爆轟或猛烈反應(樣品管炸成了4塊或4塊以上)結果判為“+”;否則判為“-”。
10.7 7(g)1.6項制品外部火燒試驗
10.7.1 原理和目的
觀測待定的1.6項制品受到外部火燒時的反應情況。
10.7.2 設備和材料
與6(c)外部火燒試驗相同(見9.3.2條)。
10.7.3 試驗樣品
待定為1.6項的制品。
10.7.4 試驗步驟
與6(c)外部火燒試驗相同(見9.3.4條)。
10.7.5 評定結果的方法和判據
用6(c)外部火燒試驗的判據評定結果。如果試驗中出現了應判定為1.1、1.2或1.3各項的任何一種情況(見9.3.5.1~9.3.5.3條),則結果判為“+”;否則判為“-”。
10.8 7(h)1.6項制品慢速烤燃試驗
10.8.1 原理和目的
觀測待定的1.6項制品在慢速升溫的環境中是否會發生反應。
10.8.2 設備和材料
除不用樣品管外其他與7(f)慢速烤然試驗相同(見10.6.2的b、c條)。
10.8.3 試驗樣品
待定為1.6項的制品。
10.8.4 試驗步驟
與7(f)慢速烤燃試驗基本相同(見10.6.4.2~10.6.4.4條),但試驗只做一次。試驗時將兩個制品按運輸時的情況分開放置在加熱爐內。
10.8.5 評定結果的方法和判據
如果反應比普通燃燒激烈,有爆炸或其他激烈反應的證據(如殼體的破片和試驗裝置的部分器件材料被拋出至15m或15m以外處),結果判為“+”。
如果未發生上述現象或制品內的物質雖被點火,燃燒,制品殼體熔化或破裂有燃燒氣體逸出,但未發生爆炸沒有產生破片,燃燒殘骸及包裝材料均留在原試驗位置或被拋出不足15m,結果判為“-”。
10.9 7(j)1.6項制品槍彈射擊試驗。
10.9.1 原理和目的
以一定速度的槍彈射擊待定的1.6項制品,觀測評價試件的反應情況。
10.9.2 設備和材料
槍和槍彈與7(d)槍彈射擊試驗相同(見10.4.2的a、b條)。
10.9.3 試驗樣品
待定為1.6項的制品。
10.9.4 試驗步驟
10.9.4.1準備三個試件。
10.9.4.2 將試件牢固地安裝在距槍口20m的柱基上,使試件在受彈射擊時不致移動。
10.9.4.3 用槍瞄準試件中最敏感元件或材料的部位(選擇彈著點使槍彈穿入沒有被隔板或其他安全裝置與主裝藥隔開的最敏感元件或材料),以820±60m/s的初速、每分鐘600發的發射速率連射三發槍彈。
10.9.4.4 拍攝試驗照片,記錄試件破壞情況,收集破片。
10.9.4.5 試驗進行三次,應分別對著試件的三個不同方位進行射擊,但只要有一次試驗觀察到試件爆轟的證據,即可停止試驗。
10.9.5 評定結果的方法和判據
只要在一次試驗中觀測到試件爆轟的證據,結果判為“+”;如果三次試驗試件均無反應或只發生燃燒或爆燃,結果判為“-”。
10.10 7(k)1.6項制品爆轟傳遞試驗
10.10.1 原理和目的
觀測待定的1.6項制品在運輸條件下,引爆后是否會將爆轟傳給相鄰制品。
10.10.2 設備和材料
a.引發裝置;
b.攝影或錄像裝置。
10.10.3 試驗樣品
待定為1.6項的制品。
10.10.4 試驗步驟
10.10.4.1 將試件排成它們在運輸時所要求的形式,每組至少三個試件,其中至少一個被發試件放在最容易傳爆的位置上。當不知這個位置時,應多放幾個被發試件。
10.10.4.2 如果試件帶有自身引發裝置,則主發試件就用它自身的引發裝置引發;若用其自身的引發裝置不現實,或試件本身不帶有自身的引發裝置,則按原設計要求的方式引發。
10.10.4.3 拍攝試驗照片,記錄被發試件破片的大小、數目以及彈坑的尺寸。
10.10.4.4 試驗進行三次,但只要有一次試驗被發試件發生了爆轟,即可停止試驗。
10.10.5 評定結果的方法和判據
只要在一次試驗中觀測到被發試件爆轟的證據(如破片和彈坑等),結果判為“+”。如果三次試驗的被發試件均無反應或只發生燃燒或爆燃,結果判為“-”。
11 試驗報告要求
11.1 爆炸品分級試驗結果報告應至少包括以下內容:
a.物質的成分或制品的結構和材料;
b.試樣狀態,包括物態、密度、粒度等;
c.試驗裝置,包括試件數量、包裝構造和類型、引發裝置特征等;
d.試驗過程特征,包括從開始直到物質或制品出現明顯化學反應經過的時間,反應的持續時間和特征,以及對后者完整性的評價;
e.試驗結果,包括各種發生燃燒、爆炸或不反應的征(編者注:應為“證”字)據,以及反應對周圍環境的影響;
f.試驗時的環境條件。
11.2 試驗報告的格式參見附錄A(參考件)和附錄B(參考件)。
附錄A
爆炸物質分級試驗報告格式
(參考件)
爆炸物質分級試驗報告
試驗方法: 試驗日期: 年 月 日
物質名稱: 批號: 制造日期: 年 月 日
化學結構式或組成:
試樣狀態:物態: 密度: 粒度: 其他:
試驗裝置:
試驗過程特征:
試驗結果:
結論:
環境條件: 溫度: 濕度: 其他:
備注:
試驗人員: 復核: 批準:
附錄B
爆炸制品分級試驗報告格式
(參考件)
爆炸制品分級試驗報告
試驗方法: 試驗日期: 年 月 日
制品名稱: 批號: 制造日期: 年 月 日
結構和內裝物:
(附圖)
試驗裝置:
試驗過程特征:
試驗結果:
結論:
環境條件: 溫度: 濕度: 其他:
備注:
試驗人員: 復核: 批準:
附加說明:
本標準由中國兵器工業總公司提出。
本標準由中國兵器工業標準化所歸口。
本標準由中國兵器工業第二○四研究所負責起草。
本標準主要起草人趙壯華、王明珠、尹孟超、王愛玉、謝玉立、張銀亮、張計康、李晉慶、任智勇、羅驥、劉民生、劉萍、趙祖禮、米立田、林瑛、劉竹青、俞統昌、楊錦芳、陳佩廉、王桂琴。