本標準適用于原油及汽油、煤油等輕質油品儲罐上安裝的阻火器(以下簡稱阻火器)阻火性能的評定和試驗。
1 技術要求
1.1 阻火器的材料
1.1.1 阻火器殼體宜用鑄鐵,其性能應符合GB 976-67《灰鐵鑄件 分類及技術條件》;也可用鑄鋁,其性能應符合JB 2120-78《鋁合金鑄件 技術條件》,還可用其他等效材料。
1.1.2 阻火層必須選用在使用條件下耐腐蝕性的金屬材料。
1.1.3 阻火器內及連接處的墊片不得使用動物或植物纖維。
1.2 阻火器的性能
1.2.1 阻火器殼體應能承受不小于0.9MPa的水壓,無泄漏、無裂痕或永久變形。
1.2.2 阻火器應能連續阻爆試驗十三次,每次都能阻火。
1.2.3 阻火器應能經受耐燒試驗1h,在此期間無回火。
1.3 連接型式
1.3.1 阻火器的連接型式為法蘭連接或螺紋連接。
1.3.2 阻火器的連接法蘭慶符合JB 78-59《鑄鐵法蘭》的規定。
1.3.3 阻火器的連接螺紋應符合YB 822-57《圓錐狀管螺紋》的規定。
2 試驗方法
2.1 水壓試驗
2.1.1 進行水壓試驗時,壓力應逐漸提高到規定值,不要使壓力急劇地增加,并在2.1.2款規定的時間內,其壓力應保持不變。
2.1.2 阻火器殼體承受不小于0.9MPa的壓力,歷時不小于1min,其結果應符合1.2.1款的要求
2.2 阻爆試驗
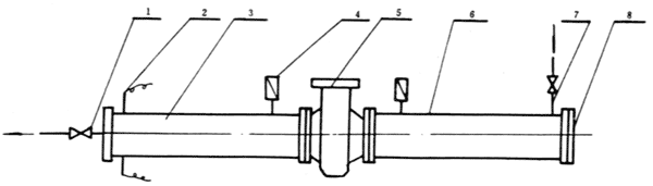
2.2.1 阻爆試驗裝置見圖1,爆炸管段和觀察管段的長度均應不小于1.5m,其直徑與被測阻火器公稱直徑相同。在爆炸管段和觀察管段的末端分別設置空氣出口管和試驗介質入口管。
2.2.2 點火電極應安裝在爆炸管段的末端,距端面80mm。
2.2.3 在爆炸管段的觀察管段上分別安裝一個檢測火焰的探頭,距被測阻火器法蘭面的距離為100mm,以檢測阻火器是否阻火。
2.2.4 試驗介質用石腦油蒸氣與空氣的混合氣,所選用的石腦油規定為恩氏蒸餾10%點低于175℃,95%點不高于240℃的餾分,混合氣體中石腦油蒸氣的體積濃度應為1.9%±0.1%。
2.2.5 將觀察管段的末端用塑料膜封閉。
2.2.6 試驗介質從入口管導入,管段內的空氣中出口管排出,確定管段內氣體濃度的樣品從出口管抽取,必須使管段內的氣體濃度達到2.2.4款的要求。

圖1 阻爆裝置示意圖
1—出口管;2—點火電極;3—爆炸管;4—檢測火焰探頭;
5—被測阻火器;6—觀察管;7—入口管;8—塑料膜
2.2.7 試驗在常壓下進行,用點火電極點燃試驗裝置內的混合氣體。觀察2.2.5款的塑料膜入是否有火焰出現,以判斷阻火器是否阻火。
2.2.8 試驗結果必須符合1.2.2款的要求。
每次試驗結束后,應當用空氣清掃試驗裝置內的殘余氣體,然后再進行下一次試驗。
2.3 耐燒試驗
2.3.1 試驗介質用石腦油蒸氣與空氣的混合氣,其石腦油蒸氣的體積濃度應為3%±0.2%。
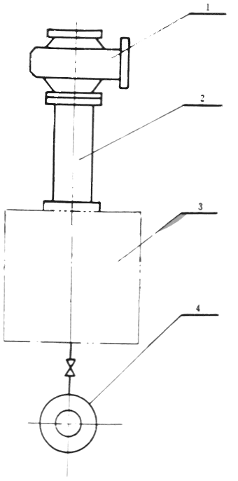
2.3.2 試驗裝置應包括能連續供給試驗介質的動態配氣系統。
2.3.3 被測阻火器應豎立放置,見圖2,自動態配氣系統供給試驗介質,在阻火器出口點燃。

圖2 耐燒裝置示意圖
1—被測阻火器;2—穩流管;3—動態配氣系統;4—氣源
2.3.4 供氣流量按下表,應使混合氣體在阻火層表面燃燒。

2.3.5 試驗期間,每隔10min從被測阻火器的供氣入口處抽取試驗介質的樣品進行分析,必須使混合氣濃度達到2.3.1款的要求。
2.3.6 試驗期間,每隔10min應測阻火器殼體上、中、下溫度各一次。
2.3.7 從點火后開始計時,直觀檢查被測阻火器有無回火,整個試驗歷時1h,其結果應符合1.2.3款的要求。
3 標志及產品合格證
3.1 標志
在阻火器容易看見的部位設置銘牌,表示以下內容:
a.名稱;
b.型號和規格;
c.制造廠名或廠標;
d.制造日期和編號。
3.2 產品合格證
每個阻火器均應附有產品合格證,注明以下內容:
a.名稱;
b.型號和規格;
c.氣體流量及壓力降;
d.產品阻火性能;
e.制造廠名;
f.出廠日期和編號。
_____________________
附加說明:
本標準由中華人民共和國公安部提出。由公安部天津消防科學研究所、中國石油化工總公司北京設計院和石油部撫順石油機械廠負責起草。
本標準主要起草人宋旭東、郭義田、趙大林、鄭學志、常冠杰。