
圖4.1 到運動部件的距離要求
(1)為了提供合理的安全要求,圖4.1給出了防護裝置所允許的最大網格尺寸與距運動部件最大距離之間的關系。這樣,網格最大為6.4mm(1/4in)時,允許距運動部件的距離小于31.8mm(5/4in);網格最大為12.7mm(1/2in)時,距運動部件的距離應為63.5mm(5/2in)或更大;網格最大為22.2mm(7/8in)時,距運動部件的距離應為165.1mm(13/2in)或更大,等等。

圖4.2 圖4.1中所列距離要求的測定
(2)當護罩靠機器一側局部敞開時,如圖4.2所示,護罩距運動部件的距離隨開口“A”的大小而異,應取距離B或距離C+D兩者中的較小者(C+D為護罩靠近機器端的側板深度與該側板外緣到運動部件的距離之和)。
e)潤滑、調整和檢查用的開口,應裝有鉸鏈連接的滑動蓋板或螺栓連接的蓋板。當開口不使用時,蓋板應關閉。
4.2 護欄
a)保護欄桿是由上欄桿、中間欄桿或等效防護物和立柱組成。從上欄桿到地面、平臺、走道或工作面的公稱垂直高度為914.4mm(36in)~1219.2mm(48in)。上欄桿的所有表面應是光滑的。中間欄桿應大致安裝在上欄桿與地面、平臺、走道或工作面的中間處。這一部位也可采用金屬網、橫桿或其它結構。欄桿的末端不可伸到端部立柱之外,除非伸出部分不會構成危險。許多抽油機安裝在高于地面處。如果將護欄固定于抽油機機架上,下面的欄桿都可能離地面過高,這時可要求在現場改裝護欄以適應這種情況。
b)對護欄的最低要求如下:
?。?)護欄的設計和制造應保證其全部欄桿能承受由任何方向施加的37.2kg/m(25lb/ft)的載荷。中間欄桿應能承受29.76kg/m(20lb/tf)的水平載荷。端部立柱的頂部應能承受由任何方向施加的90.72kg(200lb)載荷。上述載荷不能疊加。

圖4.3 開口“A”的測量方法(見圖4.1)
c)護欄的欄桿與運動部件表面之間的最小水平距離為381.0(15in),最大水平距離為1066.8mm(42in)。護欄在最小水平距離處的高度應為1219.2mm(48in)。如果水平距離增加,護欄高度允許按比例減小到最小高度914.4mm(36in)。但是,若欄桿運動部件的距離小于914.4mm(36in),欄桿的最小高度就不是914.4mm(36in)了。當欄桿與運動部件的水平距離大于508.0mm(20in)時,則應設立標志牌,禁止在機器運轉中將這一空間作為過道。
4.3 定位防護
a)定位防護的設備應遠離人員工作區,以防人員接觸設備而發生危險。
(1)為了實現定位或位置防護,任何運動部件都應高出過道、平臺或供人行走的地面2133.6mm(84in)。
(2)在不能采用4.3中a)中及其(1)作法的地方,則應采用4.1或4.2的防護措施。
?。?)如果設備被圍在一個入口加鎖的區域內,則也可認為是定位防護。該區域四周有高度不小于2438.4mm(96in)的圍墻和柵欄。除非在防護區入口打開時至動機或原動機內的動力能源自動切斷,否則機械動力傳輸部件都應按照4.1和4.2的方式單獨裝設防護裝置。原動機重新啟動要求手動操作。
5 等效安全
5.1 本標準提到了專用防護設施或方法,但亦可采用其它具有等效安全的防護設施或方法。
6 警告標志牌和顏色標記
6.1 經營者可任意選用表示人身危險的標志牌和顏色標記。以提高和擴大護罩和護欄的防護效果。
a)標志牌:標志牌應符合現行有關主管部門的要求。
b)顏色標記:應使用鮮明且反差大的色彩,如橙或黃來指明機器或動力設備上有可能造成割傷、壓傷、電擊或其它傷害的危險部件,以強調其危險性。抽油機部件作顏色標記的部位示例見附錄A(提示的附錄)中圖A5。
7 抽油機剎車
7.1 為了便于操作,抽油機剎車和發動機離合器的手柄應延伸到抽油機防護裝置的外面。
7.2 抽油機的剎車并不是作安全制動用的,而只是作工作制動用的。
7.3 當需要在抽油機上或在抽油機周圍作業、維護時,應用鏈條或其它適當的方法把曲柄和平衡塊固定在一個穩定的位置上。
8 梯子與平臺
8.1 一般要求
設置梯子是為了提供到游梁和或一些機架支座的通道,有助于安裝和維護抽油機??蓪⒂瘟旱南峦咕壸鳛樘葑拥钠脚_高度。
a)抽油機運轉時,不宜使用梯子。
b)設置梯子應謹慎,不得造成危險因素。不得讓人員在曲柄擺動范圍內使用梯子。
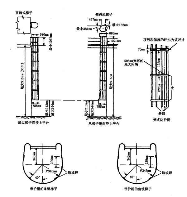
c)梯子攀登側應至少有762mm(30in)的空間,見附錄A(提示的附錄)中圖A6。無護柵梯子的中心線到兩側的空間間隔最小各為381mm(15in)。
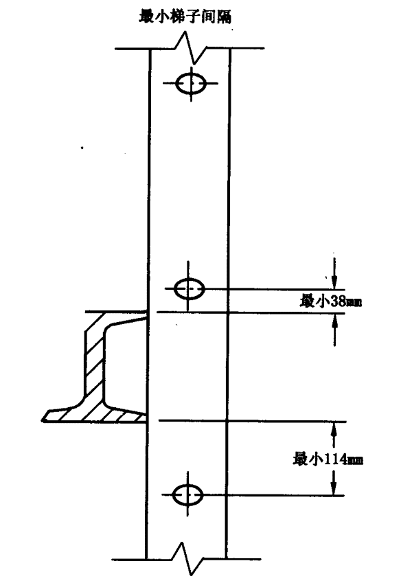
d)梯子背面腳趾間距[梯子中心線距抽油機機架邊緣的距離至少為177.8mm(7in)]見附錄A(提示的附錄)中圖A6。無法避開的障礙物的間距見附錄A(提示的附錄)中圖A7。
8.2 設計要求
所有梯子、附件、緊固件都應設計為鋼制的,以滿足如下要求:
a)載荷要求:
?。?)最小設計動載荷應是單一的90.7kg(200lb)的集中載荷。
(2)在設計中,應根據使用情況來確定額外90.7kg(200lb)集中動載荷的數目與作用位置。
(3)爬上梯子的人所產生的動載荷應認為集中在使構件產生最大應力的一些點上。
(4)設計梯子扶手和緊固件時,應考慮動載荷加上梯子和附件的質量。
b)外形:所有梯級的最小直徑應為19mm(3/4in),或由至少具有相同強度的其它合適斷面構成。梯級間的中心距不得大于304.8mm(12in),并且沿梯子長度均勻分布。梯級的最小凈長度為406.4mm(16in)。側扶手的斷面應具有足夠的把握面。
c)加工質量:梯子的各零部件都應無毛刺(銳邊或凸出物)。側扶手上的連接處應呈平滑過渡,并無銳利的或伸出的凸臺。
d)傾斜度:梯子應與水平面成75°~90°角,并安裝牢固。
8.3 護柵
超過6096mm(20ft)直到最大的9144mm(30ft)的連續應配備護柵。
a)由梯子的長度而不是由梯子的高度決定護柵的規格。以梯子最下梯級的上側作為梯子的底端來測量梯子長度,而不是從地面或梯子的著地高度測量梯子長度。因此,梯子的長度是指從梯子最下梯級的上側到最上梯級的上側或到平臺的距離。梯子的外伸部分是為安全登上平臺而設置的,確定梯子長度時,并不將它們視作梯子的一部分。
b)護柵應超出梯子頂部梯子平臺高度至少1066.8(42in),沿梯子向下延伸到離梯子底端不小于2133.6mm(7ft),并不大于2438.4mm(3ft)處。護柵底部應向外張開最少101.6mm(4in)。護柵從梯級中心線向外延伸不應小于685.3mm(27in),并不大于711.2mm(28in)。護柵寬度不應小于685.8mm(27in)。其內部應無凸出物。
應在護柵的圓周上以不超過40°的間隔設置垂直條板。這樣可保證條板中心距的最大值約為241.3mm(19/2in)。帶護柵的梯子應按附錄A(提示的附錄)中圖A8制造。
8.4 平臺
平臺常用于較大的結構。帶護柵的梯子的末端到平臺的最大距離為6096mm(20ft),或9144mm(30ft)。
a)梯級(或跨過式的扶手桿)至少應高出平臺1066.8mm(42in)。側扶手或梯級應伸至高出1066.8mm(42in)的下一梯級外,見附錄A(提示的附錄)中圖A9。梯級中應有一根與梯子平臺位于同一高度。
b)所有的梯子固定平臺都應裝設欄桿和踏腳板。其安裝方式應便于安全登梯。平臺的最小寬度應為609.6mm(24in),最小長度應為762mm(30in)
附錄A
(提示的附錄)
防護裝置示例

圖A1 皮帶防護示例

圖A2 平衡塊防護裝置示例

圖A3 飛輪防護示例

圖A4 驢頭防護示例

涂有反差大的顏色區的面積應控制到最小,
其它涂漆區域的實際標記圖案由制造廠或用戶自定。
圖A5 顏色標記運用示例

圖A6 條鋼側扶手和圓鋼梯級的梯子

圖A7 固定梯子的背面有無法避開的障礙物的間隔

圖A8 帶護柵的梯子

圖A9 偏置的固定梯段
C5-C10混合烯烴中含氧化合物的測定 …
1,2,4-三甲基苯純度及烴類雜質的測…
高酸原油加工裝置設備和管道設計選材…
高硫原油加工裝置設備和管道設計選材…
有機熱載體熱穩定性測定法 氣相色譜…
塑料 發泡用聚丙烯(PP)樹脂
重負荷車輛齒輪油(GL-5)換油指標
液化烴球形儲罐安全設計規范
石油化工靜電接地設計規范【作廢】
石油化工企業衛生防護距離
小型石油庫及汽車加油站設計規范
石油化工企業可燃氣體和有毒氣體檢測…
易燃和可燃液體基本分類
石油企業職工個人勞動防護用品管理及…
石油工業動火作業安全規程
天然氣汽車和液化石油氣汽車 標志