前言
本標準的3.1.1、3.1.4、3.3、4.2均為推薦性條文,其余為強制性條文。
本標準是對JB 4029—85《磨床砂輪防護罩 安全防護技術要求》的修訂。修訂時參照了ANSIB 11.9—1975《磨床的制造、維護和使用安全要求》和其他國外先進標準。
本標準與JB 4029—85的主要差異是:
——適用范圍改為“本標準適用于外圓磨床和平面磨床用的砂輪防護罩,其它磨床也可參照執行”。
——修改了砂輪防護罩的材料選用灰鑄鐵的壁厚要求。改為“當選用抗拉強度不低于150N/mm2的灰鑄鐵時,其壁厚不應低于表3所列數值”。
——刪除原標準中涉及砂輪機砂輪防護罩的內容。
本標準自實施之日起代替JB 4029—85。
本標準由全國金屬切削機床標準化技術委員會提出并歸口。
本標準負責起草單位:上海磨床研究所。
本標準于1983年5月首次發布。
1 范圍
本標準規定了砂輪防護罩的技術要求。
本標準適用于外圓磨床和平面磨床用的砂輪防護罩,其他磨床也可參照執行。
2 引用標準
下列標準所包含的條文,通過在本標準中引用而構成為本標準的條文。本標準出版時,所示版本均為有效。所有標準都會被修訂,使用本標準的各方應探討使用下列標準最新版本的可能性。
GB 2494—1995 磨具安全規則
GB 2894—1996 安全標志
3 技術要求
3.1 一般要求
3.1.1 外圓磨床和平面磨床的砂輪應設有防護罩(萬能外圓磨床內圓磨具的砂輪除外)。砂輪防護罩一般由圓周板及兩側板組成,兩側板一側為固定板,一側為活動板,使用砂輪端面的防護罩(環帶式砂輪防護罩)則由可移動的圓周板組成。
3.1.2 砂輪防護罩組裝或焊接時,構件之間必須有足夠的連接強度,砂輪防護罩必須牢固可靠地固定在機床上。
3.1.3 為便于觀察和修整砂輪必須在砂輪防護罩上開窗口時,其窗口處應有足夠的強度,并能防止磨粒、火花、水霧濺出。
3.1.4 對于操作位置在砂輪防護罩前方的外圓磨床機床,其防護罩的圓周板應設有隨砂輪變小而調整的機構。例如通過移動砂輪防護罩(見圖1)或安裝可調護板(見圖2)達到。可調護板的安裝必須保證牢固可靠。砂輪圓周表面與防護罩可調護板之間的距離,或是與防護罩開口的上端邊緣之間的距離一般應可調整至6mm以下。

3.1.5 立軸平面磨床用的環帶式砂輪防護罩,應具有調整砂輪防護罩移動的機構,其環帶式砂輪防護罩必須用壓延鋼板制成,中間不得開口(裝砂瓦的例外),接縫處聯接可靠。
3.1.6 砂輪的安全使用要求應符合GB 2494的規定。
3.2 防護罩壁厚
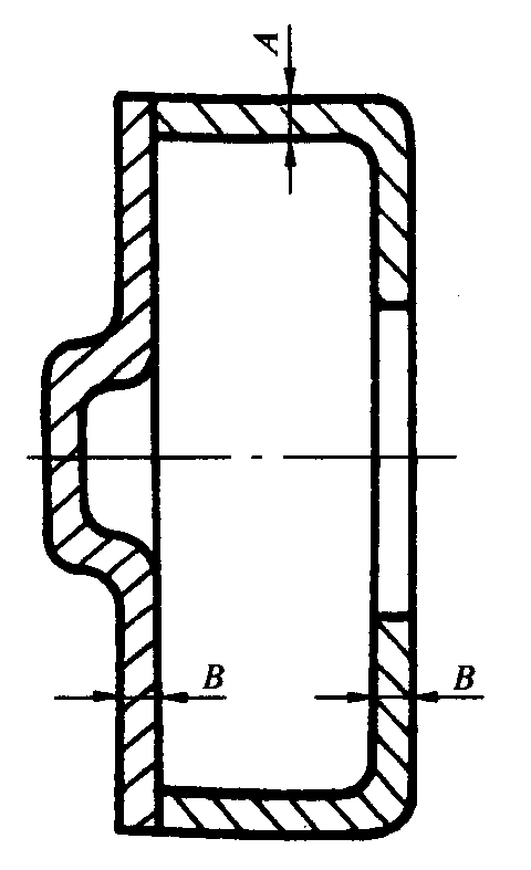
3.2.1 砂輪防護罩應優先選用抗拉強度不低于415 N/mm2的壓延鋼板,其壁厚(圓周板厚度A及側板厚度B見圖3)可采用不低于表1所列數值;若選用焊接性能較好的Q235壓延鋼板時(抗拉強度為375~460N/mm2),其壁厚不應低于表1所列數值;當選用抗拉強度不低于415N/mm2的鑄鋼時,其壁厚不應低于表2所列數值;當選用抗拉強度不低于150N/mm2的灰鑄鐵時,其壁厚不應低于表3所列數值;當選用可鍛鑄鐵時,其壁厚不應低于表1所列數值的2倍;當選用表1、表2、表3中未規定的材料或參數時,應經試驗或采用其他驗證方法證明安全可靠。

圖3
表1

表2

表3

3.2.2 采用兩個及兩個以上砂輪的磨床,在選擇砂輪防護罩壁厚時,表1中砂輪厚H應按下列規定計算:
a)采用圖4方法安裝砂輪時,砂輪厚度等于砂輪外側面最大間距(H=H1+H2+S,見圖4);

圖4
b)采用圖5方法安裝砂輪時,其砂輪厚度等于各砂輪厚度之和(H=H1+H2+H3,見圖5)。

圖5
3.2.3 環帶式砂輪防護罩的壁厚尺寸不得低于表4中所列數值。
表4 mm

3.3 防護罩與砂輪的間距
3.3.1 防護罩與砂輪的間距按安裝最厚砂輪時,砂輪卡盤外側面與砂輪防護罩開口邊緣之間的間距應盡可能小,推薦不大于15mm。
3.3.2 環帶式砂輪防護罩內壁與砂輪圓周表面之間的間距應盡可能小,推薦小于15mm(見圖6中E)。
3.4 砂輪外露量
立軸平面磨床用的環帶式砂輪防護罩,砂輪最大的外露量不得超過表5規定(見圖6中C)。
表5 mm


圖6
3.5 磨削區開口角度
砂輪防護罩用于磨削區的開口角度應為最小,按機床類別應符合表6的規定。在測量防護罩開口時,觀測用的遮板或其他附加裝置不應作為防護罩部分計算在內(該裝置具有和防護罩同等強度的除外)。
表6

4 標志
4.1 在砂輪罩的明顯部位(一般置于活動板上)應設有砂輪旋轉方向的安全標志,其安全標志的要求應符合GB 2894的規定。
4.2 在砂輪罩上或使用說明書內應設有下列安全使用信息:
a)活動板緊固后,才能啟動砂輪旋轉;
b)砂輪旋轉時,嚴禁打開活動板;
c)最大砂輪直徑,最大砂輪厚度,最高砂輪線速度等技術參數。
石油、天然氣工業用清管閥
煙道蝶閥
PN2500超高壓閥門和管件 第2部分:技…
柴油機電控共軌系統噴油器總成可靠性…
電袋復合除塵器性能測試方法
自升式海洋平臺齒條式樁腿鎖緊裝置
液壓打樁錘主體鍛件技術規范
編織吊索安全性 第2部分:一般用途合…
砂輪機 安全防護技術條件
機械防護安全距離【作廢】
建筑塔式起重機安全規程【作廢】
機械加工設備危險有害因素分類【作廢】
起重機械安全規程【作廢】
機械設備防護罩安全要求【作廢】
塔式起重機操作使用規程
金屬切削機床安全防護通用技術條件【…