前言
本標準在技術內容方面是等效采用ISO/DIS14122—4:1996制定的,與ISO/DIS14122—4的主要差別有以下兩點:
取消了ISO/DIS14122—4的引言,因為該引言只是對歐盟而言的。
在ISO/DIS14122—4中所引用的歐洲標準或標準草案,凡有相應國家標準或正在制定相應國家標準的都改為引用相應的國家標準了,對無相應國家標準或尚未著手制定相應國家標準的只保留了正文中真正用到的EN353—1,其余正文中未提到的均未列入。
本標準是《進入機器和工業設備的固定設施》系列標準的第4部分。該系列標準共由四個標準構成,其余三個標準分別是:
第1部分:進入兩級平面之間的固定設施的選擇。
第2部分:工作平臺和通道。
第3部分:樓梯、階梯和護欄。
本標準的附錄A是提示的附錄。
本標準由國家機械工業局提出。
本標準由全國機械安全標準化技術委員會歸口。
本標準負責起草單位:機械科學研究院。參加起草單位:吉林省勞動保護科學研究所,中國標準化與信息分類編碼研究所。
本標準主要起草人:馬賢智、石俊偉、肖建民、張銘續、李勤、隰永才、肖維。
ISO前言
本標準是由CEN/TC114第17工作組制定的。是《機械安全 進入機器和工業設備的固定設施》標準的第4部分。該標準的幾個部分是:
第1部分:進入兩級平面之間的固定設施的選擇。
第2部分:工作平臺和通道。
第3部分:樓梯、階梯和護欄。
第4部分:固定式直梯。
使用非金屬材料(木材、復合材料等)不改變本標準的應用。無論在什么情況下,都應遵守本標準的全部規定。
1 范圍
本標準規定了適用于有、無防墜落裝置的單立柱或雙立柱固定式梯子的安全要求和預防措施。本標準適用于作為進入機器通道的固定式梯子。該梯子可以是:
—機器的組成部分;
—固定到機器上的;
—固定到機器附近的其他構件上的。
對于作為進入機器通道的梯子的選擇,見GB17888.1。
2 引用標準
下列標準所包含的條文,通過在本標準中引用而構成本標準的條文。本標準出版時,所示版本均為有效。所有標準都會被修訂,使用本標準的各方應探討使用下列標準最新版本的可能性。
GB12265.1—1997 機械安全 防止上肢觸及危險區的安全距離
GB12265.3—1997 機械安全 避免人體各部位擠壓的最小間距
GB/T15706.1—1995 機械安全 基本概念與設計通則 第1部分:基本術語、方法學
GB/T15706.2—1995 機械安全 基本概念與設計通則 第2部分:技術原則與規范
GB/T16755—1997 機械安全 安全標準起草與表述規則
GB/T16856—1997 機械安全 風險評價的原則
GB17888.1—1999 機械安全 進入機器和工業設備的固定設施 第1部分:進入兩級平面之間的固定的設施
GB17888.2—1999 機械安全 進入機器和工業設備的固定設施 第2部分:工作平臺和通道
GB17888.3—1999 機械安全 進入機器和工業設備的固定設施 第3部分:樓梯、階梯和護欄
GB/T17889.2—1999 梯子 第2部分:要求、試驗和標志
3 定義
本標準中除使用GB/T15706.1的有關定義外,還采用下列定義。本標準中所用的主要定義例子如圖1、2、3、4所示。

圖1 梯段高度和平臺位置

①固定支架;②踏棍;③梯框;④安全護籠垂直構件;⑤籠箍;⑥出口部分下箍;⑦夾板;⑧踢腳板;⑨斜扶手;⑩平臺踏板;⑾門;⑿上箍
A―出口部分;B―安全護籠
圖2 帶安全護籠的固定式直梯

① 立柱②踏棍③防滑下保護裝置④固定點
a)兩側踏棍等高 b)兩側踏棍交錯
圖3 單立柱梯子

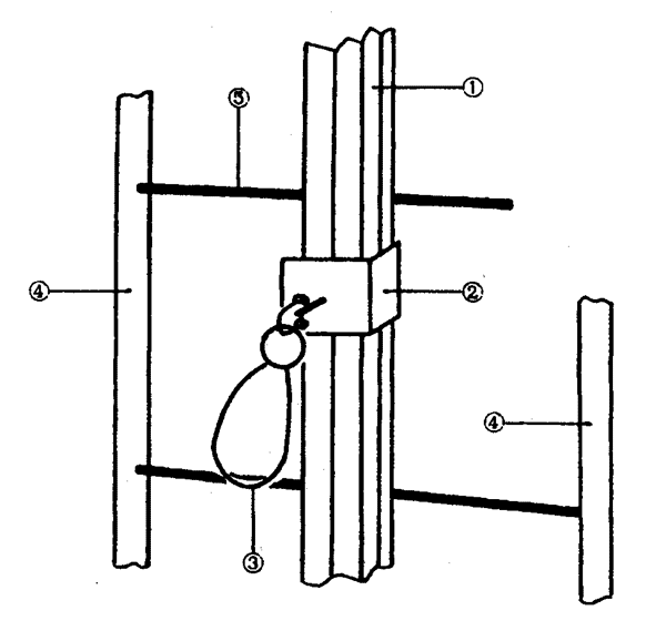
① 剛性錨軌;②防墜器;③連接器;④立柱;⑤踏棍
圖4 剛性錨軌式防墜器
3.1 固定式直梯 fixed ladders
固定式直梯是一種穩定地進入升高的工作位置的通道。它具有牢固的固定于雙立柱或單立柱上的踏棍和75°~90°的傾斜角。
3.2 雙立柱固定式直梯fixed ladders with two uprights
各踏棍被固定于兩立柱之間的固定直梯。由兩根立柱承擔載荷(見圖2)。
3.3 單立柱固定式直梯fixed ladders with one upright
各踏棍被固定于立柱兩側的固定式直梯,只有一極立柱承擔載荷(見圖3)。
3.4 梯段ladder flight
固定式直梯的連續部分:
a) 對于無平臺梯子,它們于起程面和到達面之間;或
b) 分別位于起程面與最近的平臺和到達面與最近的平臺之間;或
c) 位于各休息平臺之間(見圖1)。
3.5 固定式直梯的上升高度H climbing height H of a fixed ladders
整個梯子頂部到達面的步行表面和梯子底部起程面的步行表面之間的垂直距離(見圖1)。
3.6 梯段高度h height h of the ladder flight
該梯段的起始平面與末端平面之間的垂直距離。
3.7 防墜落裝置anti-fall devices
為防止或減少人由固定式直梯上的墜落風險的技術設施。
常用的防墜落裝置是:
—安全護籠;
—剛性錨軌上的防墜器。
3.8 安全護籠safety cages
用于限制人由梯子上墜落風險的一種組合式框架(見圖2)。
3.9 剛性錨軌上防墜器guided type fall arresters on rigid anchorage line(fall arrester)
與使用梯子前每個人都必須配帶的個人防護裝備聯合使用的、固定于梯子上的防護裝備。當使用者與固定在梯子上的防護裝備聯系起來時,在失去平衡的情況下,該裝備能防止墜落(見圖4)。
3.10 到達面arrival level
梯子或中介平臺上面的平面,上升到該平面后人可以行走。
3.11 起程面departure level
梯子或中介平臺下面的平面,人由該平面開始攀登固定式直梯。
3.12 中介平臺intermediate platform
梯子的使用者通過它可以到達交錯梯段的相鄰梯段的平臺(見圖1)。
3.13 休息平臺rest platform
裝備有所需保護設施的一塊區域,設計用于使梯子的使用者在攀登上去或下到地面之前可進行休息。這些休息平臺裝備有門,并且尺寸應定得允許采取緊急干預措施(見圖1)。
3.14 進入平臺access platform
安排在到達面或起程面供人步行用的平臺。
3.15 活板門trapdoor
一個常閉裝置,它可以打開讓人進入通過平臺或通過其他類似的水平結構。
3.16 閉鎖(防闖入保護)lockout(intruder-proof protection)
阻止進入固定式直梯的一種裝置。
4 安全要求和/或設施
4.1 一般要求
各元件材料的選擇、尺寸和構造模式的確定應滿足本標準安全要求和第5章中規定的各種試驗數據。
進入機器的設施應在與作為參考機器的同樣安裝條件下標定,如果需要,還要考慮環境的腐蝕現象、振動對結構的損傷、材料的老化等。
可能與使用者接觸的所有零件都應設計得不會對人產生傷害(如避免尖角、焊接毛刺或粗糙的邊緣等)。打開或關閉活動部分(門、閉鎖)不應對使用梯子的人或梯子周圍的人們產生進一步危險(例如剪切或偶然墜落)。
各種接頭、鉸鏈、支座、支撐件和安裝件都應保證裝配得充分牢固和穩定,以保證在正常使用條件下使用者的安全。
4.2 固定式直梯的強度
4.2.1 一般要求
梯子、平臺和安全護籠(當安裝時)的結構都應能承受以下規定的預期載荷:
4.2.1.1 梯子元件
梯子各元件應滿足GB17889.2的要求。最大偏移量應不超過30mm(見5.3.1)。
在單立柱梯子的情況下,用400N試驗力作扭轉試驗代替橫向彎曲試驗,梯子的偏移應不超過20mm(見圖16)。對于踏棍,載荷施加在靠近橫向防滑裝置100mm長度上。踏棍的殘余偏移量應不超過踏棍長度的3‰(見圖5.3.2)。
4.2.1.2 安全護籠
在1000N垂直載荷作用下,永久變形不大于50mm,在300N水平載荷作用下,永久變形不大于10mm(見5.2),則該安全護籠被認為滿足要求。
4.2.1.3 裝有防墜器的固定式直梯
在梯子的使用者向下墜落并被防墜器制止的情況下,在剛性錨軌上裝有防墜器的固定式直梯應能支撐該載荷(見第5章)。
4.2.2 連接元件
連接元件如各種接頭、支座、鉸鏈、支撐件和安裝件都應裝配得充分牢固和穩定,以保證在正常使用條件下使用者的安全(見第5章)。
裝有防墜器的固定式直梯,各連接元件應能承受住由防墜器截獲人向下墜落所產生的應力。
4.2.3 平臺
見GB17888.2。
4.3 防墜落裝置的安裝條件
在以下情況時,梯子應裝有防墜落裝置。
a) 梯段的高度在3000mm以上;
b) 梯子的高度等于或小于3000mm,但起程處有墜落風險。
4.4 梯子
梯子的主要尺寸如圖5和圖6所示。

①傾斜連接元件 350≤A≤400
②門框 700≤B≤800
圖5 梯子和安全護籠的主要尺寸
注:當由梯子的中心到平臺(或類似結構)的非保護邊的距離小于3000mm(見圖7)時,認為存在墜落風險。

① 見4.4.1.2
② 見4.4.1.2和圖8a。
③ 對進入平臺和其他面的要求見4.7和圖11。
圖6 單立柱固定式直梯的主要尺寸

圖7 梯子底部的起程面
4.4.1 踏棍的位置
4.4.1.1 兩踏棍的間距
相鄰兩踏棍的間距應是一致的,并應為250~300mm之間。
4.4.1.2 踏棍和起程面、到達面之間的距離
起程面的步行表面和第1級踏棍間的距離建議采用與相隔踏棍間的距離相等。對于在不平坦地面上使用的可移動機械的情況,起程面的步行表面和第1級踏棍之間的距離最大可變為400mm。
頂部踏棍應定位在到達面的步行表面同一水平。偏差最大為150mm(見圖8a)

圖8 踏棍的位置和結構
4.4.1.3 單立柱固定式直梯的踏棍位置
立柱兩邊的踏棍應在同一水平上或等距離交錯配置(見圖6)。
4.4.1.4 多邊形踏棍位置
多邊形踏棍的踩踏深度至少為20mm。多邊形踏棍的踩踏邊只有在特殊使用時才加工成平面(見圖8b)。
4.4.2 踏棍長度
4.4.2.1 雙立柱固定式直梯的踏棍長度
踏棍的長度應在400~600mm之間(見圖5)。但是,在靠近的環境使它們不能使用400mm時,采用300~400mm之間的較短長度是允許的。在這種情況下,事先應進行檢查,看是否能找到梯子的有利位置允許踏棍的長度為400mm或更長。
4.4.2.2 雙立柱固定式直梯踏棍長度和防墜器用剛性錨軌
防墜器用剛性錨軌和立柱之間踏棍長度至少應為150mm(見圖9)。

圖9 雙立柱固定式直梯的踏棍長度和防墜器的剛性錨軌
4.4.2.3 單立柱固定式直梯的踏棍
立柱和防滑倒裝置之間踏棍長度應在150~250mm之間,并且立柱的厚度應小于80mm(見圖6)。
4.4.3 踏棍的橫截面
踏棍的直徑應在25~35mm之間,多邊形踏棍的踏面的寬度至少應為20mm。踏棍的橫截面應便于用手抓握。
4.4.4 踏棍表面
踏棍表面應不引起損傷,尤其應注意對雙手的損傷(見圖8c)。
踏棍表面應能阻止腳(鞋底)打滑。當由于環境因素(如油等)使打滑風險增加時,需要提供專門防滑措施。
4.4.5 防滑出裝置
單立柱固定式直梯踏棍的末端應裝有防止由踏棍側向滑出的防護裝置。這些防滑出的防護裝置至少應有20mm高(見圖6中的A)。
4.4.6 梯子和周圍固定部分之間的距離、
梯子和周圍固定部分之間的距離在梯子的前面至少應為650mm,在踏棍的后側面至少應為200mm,在有斷續障礙物的情況下,踏棍的后側面至少應為150mm(見圖5和圖6)。
4.5 安全護籠
安全護籠應起始于起程地面以上2200~3000mm之間。在安全護籠的下面的進入邊,安全護籠應沒有妨礙進入梯子的元件。在到達平面,安全護籠應延伸至到達面護欄的高度(見圖5)。
籠箍內的安全護籠直徑應在700~800mm之間(見圖5中的D)。由踏棍到安全護籠的距離應為700~800mm之間。
在踏棍橫線上測量的籠內凈空,即籠的內側面和踏棍之間至少應為700mm。
兩箍之間的距離不應超過1500mm,籠的兩立桿之間的距離應不超過300mm。各箍應垂直于籠的立桿安置。安全護籠的各立桿應等距離的固定于箍的里面。它們的連接元件應無任何可能掛住或損傷使用者的粗糙表面。
如果在梯子前面和側面的周圍結構(墻、機器部件等)能提供等效墜落防護水平,則護籠就不必要。
4.6 起程面、到達面和平臺
起程面和到達面,以及中介平臺與橫向平臺都應符合GB17888.2的有關要求。
作為在起程面和到達面以及在中介平臺和橫向平臺上防止由高處墜落風險的防護裝置的護欄應符合GB17888.3的有關要求。
4.6.1 起程面
如果起程面的步行表面相對周圍或不能承受載荷的起程面的周邊(如由玻璃或合成材料構成處)高出0.5m以上,則該起程面應具有護欄或能防止人由高處墜落的設施。
4.6.1.1 進入平臺
如起程面在機器、建筑物等結構上,不能認為是一個符合GB17888.2有關要求的平面時,應提供進入平臺。
4.6.1.2 帶安全護籠的固定式直梯
如果帶安全護籠的固定式直梯到升高的起程面的護欄水平距離不大于1.5m,該護欄應裝有延長桿或者護籠結構應向下延伸至護欄(見圖10)。

圖10 延長桿完善的起程面護欄防護功能
延長桿頭部至少應達到以下要求:
a) 護籠和延長桿之間的最短距離應不超過400mm,或
b) 垂線與連接延長桿上部與安全護籠的最接近部分的直線構成的角度應等于或大于45°;
c) 在護欄的扶手高度上延伸部分的寬度至少應為1000mm,延伸部分上端的寬度至少應等于安全護籠的直徑。延伸部分的凈空應設計得使其面積不大于0.40m
2,這些空間的水平寬度不應超過300mm。
4.6.2 到達面
4.6.2.1 進入平臺
如果到達面在機器、建筑物等結構上,且不能認為是一個符合GB17888.2對工作平臺有關要求時,應設置進入平臺。
4.6.2.2 防止由高處墜落的設施
在到達面的下降邊應提供防止人由高處墜落的適當設施,如護欄。梯子垂軸兩邊護欄的長度至少為1500mm,或者當到達面的邊長小于3000mm時,應超過全部邊長。這與這一長度外安裝的某種防墜落裝置無關。
4.6.3 出入口
4.6.3.1 前面或側面出口
梯子可以從前面或側面出口至到達面。
出口的寬度至少應為600mm。
4.6.3.2 門
為防止由到達面的出口處墜落,該出口應安裝門。
門應符合下列要求:
a) 該門的打開方向不應朝向墜落邊;
b) 該門應設計得使其很容易打開;
c) 該門應自動關閉,如借助彈簧或重力效應使其半閉;
d) 該門至少應有符合GB17888.3中有關扶手和橫桿的要求。
4.6.3.3 平臺的出口、活板門
由于技術原因需要時,平臺可以有一個開口允許進入(或由此出去)到該平臺下邊的梯子。該平臺的尺寸至少應等于安全護籠的直徑。
為了防止通過這一開口產生墜落風險,該開口處應裝有活板門或提供帶門的護欄。護欄應符合GB17888.3的要求,門應符合本標準4.7.3.2的要求。
活板門應設計得:
a) 開口至少應等于梯子護籠所需的尺寸(D=700mm,見4.5)。
b) 活板門應不能向下打開,應向上或水平方向移動。
c) 門應容易打開并且打開操作不應出現任何新的危險。為了保證門的自動關閉,它應不能自身保持在打開位置。
d) 活板門的關閉應是自動的(例如通過彈簧或重力),關閉操作應不妨礙使用者由該開口通過。
e) 該門應不產生任何使用者可能觸及的擠壓或剪切點。
4.6.4 安全上下固定式直梯的措施
4.6.4.1 安全上下沒有防墜落裝置的雙立柱梯子(≤3000mm)的措施
在兩立柱頂端和到達面護欄扶手之間應安裝有斜扶手。(見圖11)。

①到達面的步行表面;②門;③護欄;④斜扶手;⑤無防墜器的單立柱梯子;⑥無妨墜器的雙立柱梯子
圖11 在到達面處的斜扶手
4.6.4.2 安全上下沒有防墜落裝置的單立柱梯子(≤3000mm)的措施
在梯子的兩邊至到達面護欄的扶手之間應安裝斜扶手,該斜扶手起始于倒數第二級踏棍的位置(見圖11)。
4.6.4.3 安全上下有墜落防護裝置梯子的措施
這種設施應能使梯子的使用者不解除移動式防墜落裝置就能達到到達面。
4.6.5 平臺
4.6.5.1 平臺的安裝條件
如果固定式梯子的上升高度H大于10m,則該梯子應設有平臺。
到達面、起程面分別與最接近的平臺之間的梯段或相鄰兩休息平臺之間的梯段(見圖1b、圖1c)高度h應不大于6m。
4.6.5.2 中介平臺
建議兩梯段之間的中介平臺的長度至少應為700mm(見圖5),中介平臺應符合4.6.1和4.6.2的要求。
4.6.5.3 休息平臺
休息平臺的寬度至少應為700mm,位于梯子附近空檔中的休息平臺部分安裝有門和扶手。它們的尺寸要設計成滿足進行緊急干預的要求。
4.6.5.4 交錯梯段
如果需要,通過機器或周圍環境的安排使兩相繼的梯段可以是相鄰的,而沒有分離的平臺(見圖5)。在這種情況下,下面的梯段應延伸至休息平臺以上至少2200mm,以為梯子的使用者提供良好的扶手(見圖12)。

圖12 中介平臺的例子(交錯梯段)
4.7 閉鎖的一般要求
為了避免無資格的人進入,需要在固定式梯子上安裝閉鎖時,可采用以下規定。在通過梯子到達的地方可能存在的危險見GB/T16755—1997的附錄A。
閉鎖應設計得不改變安裝閉鎖后的梯子的特征。當閉鎖關閉時,應不明顯增加梯子自身需要的空間。當閉鎖打開時,應不妨礙各踏棍的使用和不減小由安全護籠與梯子的其他限定的空間。
附錄A指明了可以應用的進入限制措施處的不同高度,在任何情況下,撤離方面應保持暢通。
閉鎖的設計需避免使用時出現諸如碰頭、夾手指等風險。為此,建議不使用繞水平軸線轉動系統。
閉鎖應設計得:
—由起程面打開的操作可由操作者站在地面上進行;
—用一個動作就能打開。
當危險區包括幾個進出口時,所有的閉鎖都應裝有緊急開啟裝置。
圖13和圖14顯示出了由閉鎖元件給出的保護所覆蓋的面積;
—A類元件預定用于禁止直接靠近梯子;
—B類元件禁止進入梯子;
—C類元件禁止通過上述兩種元件所包圍的保護區使用梯子。
閉鎖有效性程度的提高是通過聯合使用元件A,A+B和A+B+C實現的。

圖13 梯子下部閉鎖元件的防護面積

圖14 梯子上部閉鎖元件的防護面積
5 檢驗
第4章中的安全要求和/或設施可以通過測量、檢查、計算和/或試驗檢驗。采用試驗時,應按本章所述的試驗程序進行。
5.1 雙立柱固定式直梯的試驗
梯子的要素應滿足在GB/T17889.2中規定的如下試驗:
—梯子的強度試驗
—梯子的彎曲試驗
—梯子的橫向彎曲試驗
—踏棍的彎曲試驗
—踏棍的扭轉試驗
這些試驗根據GB/T17889.2—1999的4.1中的原則按上面指出的順序在一個梯子上進行。
對于強度、彎曲和橫向彎曲試驗考慮的距離L是梯子的兩相鄰支座之間的距離。
彎曲試驗的合格判據:在負載下,最大允許偏移量應低于5×L
2×10
-6mm且不超過30mm。
5.2 安全護籠試驗
該試驗是以梯子在使用現場條件進行。安全護籠固定于梯子上。
1000N的垂直載荷借助于100mm寬的夾子施加于安全護籠最不利的位置上。
允許的永久變形在載荷作用點處測量是不超過50mm。
然后將300N水平載荷借助100mm寬的夾子施加于安全護籠上認為最不利的點。在載荷作用點測得的允許永久變形量不超過10mm。
5.3 單立柱固定式直梯的試驗
5.3.1 梯子要素應滿足GB/T17889.2中規定的如下試驗:
—強度試驗
—彎曲試驗
—踏棍扭轉試驗
對于強度和彎曲試驗所考慮的距離L應為梯子的兩相鄰支座間的距離。
彎曲試驗的合格判據在載荷下最大允許偏移量應小于5×L
2×10
-6mm且不超過30mm。
5.3.2 踏棍的強度
單立柱梯子的踏棍彎曲試驗應按圖15所示進行。

①作用線圖
圖15 單立柱梯子踏棍的試驗方法
將200N的預加載荷垂直地施加于踏棍的踩踏面上,時間1min。去除預加載荷后踏棍的位置考慮作為進行負荷試驗的參考位置。
預加載荷和2600N的試驗載荷的方向均應垂直于踏棍的踩踏面。預加載荷和試驗載荷均勻地分布在靠近踏棍的橫向防滑出裝置10mm長度上。
去除試驗載荷后踏棍的殘余偏移量應不大于相關踏棍長度的3‰。測量點是在距踏棍的橫向防滑出保護裝置50mm處;測量方向與試驗載荷作用線的方向相同。偏移量的測量在去除試驗載荷后1min內進行。
5.3.3 立柱的強度
梯子應承受按圖16施加的應力。

試驗載荷:400N①作用線;②測量點;③踏棍間距的四倍
圖16 單立柱梯子的扭轉試驗
400N試驗力的方向垂直于梯子的端面。支座的距離為踏棍間距的四倍(見圖16)。
在載荷的作用下梯子的偏移量應不超過20mm。測量點是在承受試驗力的踏棍上距橫向防滑出保護裝置50mm處。測量方向與測量載荷作用線方向一致。
5.4 支座試驗
5.4.1 雙立柱固定式直梯
雙立柱固定式直梯支座的強度應考慮按每立柱3000N的力計算,沿立柱中心線的方向作用(見圖17)。

① 踏棍;②立柱;③支架;④緊固件
圖17 雙立柱固定式直梯的固定點強度、載荷
每個立柱四個支座,可考慮承受的力將傳遞給周圍的固定部分(例如墻、機殼)。
5.4.2 單立柱固定式直梯
單立柱固定式直梯的支座強度應考慮按6000N力計算,沿立柱中心線方向作用(見圖18)。

①踏棍;②立柱;③支架;④緊固件
圖18 單立柱固定式直梯的固定點強度、載荷
每個立桿至多四個支座,可考慮承受的力將傳送給周圍的固定部分(例如墻、機殼)。
附錄A
(提示的附錄)
梯子閉鎖的表示
在梯子頂部、中間或在這些地方聯合應用閉鎖的表示分別見圖A1、圖A2、圖A3。

圖A1 防止由頂部進入的保護

圖A2 防止由中間進入的保護

A3 防止多處進入的保護