1 主題內容與適用范圍
本標準規定了抗溶性泡沫滅火劑的技術要求、試驗方法、檢驗規則、標志、包裝、運輸和貯存等內容。
本標準適用于能配制泡沫混合液的抗溶性泡沫滅火劑。
本標準不適用于金屬皂型抗溶性泡沫滅火劑。
2 引用標準
GB 514 石油產品試驗用液體溫度計 技術條件
3 技術要求
3.1 一般要求
泡沫液和泡沫混合液對生物無明顯毒性,對環境無污染。
3.2 主要技術要求
抗溶性泡沫滅火劑的性能應符合表1中所規定的技術要求。
表1

4 試驗方法
4.1 密度
4.1.1 儀器
a. 精密密度計:1.000~1.200g/cm
3;
b. 溫度計:量程0~100℃,分度值1℃;
c. 量筒:250mL;或100mL;
d. 恒溫水浴:控溫精度±1℃
4.1.2 試驗步驟
4.1.2.1 將恒溫水浴調至20±1℃。
4.1.2.2 將混合均勻的適量被測泡沫液慢慢注入干燥、潔凈的量筒中。如果有氣泡產生,應靜止放置。待氣泡升至液面,用濾紙刮去。
4.1.2.3 將裝有泡沫液的量筒垂直放入恒溫水浴中,使泡沫液面低于水浴液面。
4.1.2.4 待泡沫液恒溫至20±1℃時,手拿潔凈的密度計上端,慢慢放入泡沫液中,密度計穩定后讀數。
4.1.3 結果
取兩次試驗結果的平均值作為測定結果,兩次試驗結果之差不得大于0.002g/cm
3。
4.2 pH值
4.2.1 儀器、試劑
a. 酸度計:范圍0~14pH,精度0.1pH;
b. 燒杯:50mL;
c. 溫度計:量程0~100℃,分度值1℃;
d. 容量瓶:250mL
e. 二次蒸餾水;
f. pH基準試劑(市售品):
四硼酸鈉(Na
2B
4O
7·10H
2O),pH9.182(25℃);
混合磷酸鹽(KH
2PO
4、Na
2HPO
4等摩爾混合物)pH6.864(25℃);
鄰苯二甲酸氫鉀(KHC
8H
4O
4)pH4.003(25℃)。
4.2.2 準備工作
用pH值基準試劑和二次蒸餾水分別配制250mL緩沖溶液。
4.2.3 試驗步驟
4.2.3.1 將被測泡沫液約35mL注入干燥、潔凈的燒杯中。
4.2.3.2 將電極浸入盛泡沫液的燒杯中。
4.2.3.3 調整被測泡沫液溫度至20±1℃,測定攪拌均勻的泡沫液的pH值。
4.2.4 結果
取二次試驗結果的平均值作為測定結果。兩次結果之差不得大于0.1pH。
4.3 粘度
4.3.1 儀器
a. 旋轉粘度計:量程0~100,精度±5%;
b. 恒溫水浴:控溫精度±1℃;
c. 高型燒杯:250mL;
d. 溫度計:量程0~100℃,分度值1℃。
4.3.2 試驗步驟
4.3.2.1 按儀器使用說明書把粘度計安裝調試好,裝上3號轉子。
4.3.2.2 將被測泡沫液注入干燥潔凈的高型燒杯中,將燒杯浸入恒溫水浴中,并使泡沫液面低于水浴液面。
4.3.2.3 調整粘度計高度,使轉子標線在泡沫液面以下,啟動轉子開關。
4.3.2.4 當泡沫液恒溫至20±1℃時,以60r/min轉速進行測定,測定時指針的指示值應在20~90刻度之間。如指針的指示值超出上述刻度范圍,可選用其他適當轉子以60r/min轉速測定。
4.3.3 結果
指針讀數乘以轉子的相應系數即為泡沫液粘度值。取兩次試驗結果的平均值作為測定結果。
4.4 流動點
4.4.1 儀器、材料
a. 半導體凝固點測定儀:制冷溫度-50℃;
b. 凝固點用溫度:量程-30~60℃,分度值1℃,應符合GB 514的規定;
c. 磨口凝固點測定管;
d. 50%乙醇水。
4.4.2 試驗步驟
4.4.2.1 把裝有適量的50%乙醇水的凝固點測定管放入半導體凝固點測定儀的冷卻室內,啟動測定儀,控制溫度低于被測樣品型號指標10~15℃。
4.4.2.2 在干燥、潔凈的凝固點測定管的內管注入混合均勻的泡沫液,液面距內管底部約50mm左右。
4.4.2.3 用軟木塞或橡膠塞把凝固點溫度計固定在內管中央,使溫度計毛細管下端浸入泡沫液面下3~5mm。
4.4.2.4 把凝固點測定管內管裝入外管中。
4.4.2.5 當內管的泡沫液溫度降至5℃時開始觀察泡沫液的流動情況。方法是把內管從外管中取出,使其傾斜,如果泡沫液有流動則立即放回外管中(每次觀察不得超過3s),繼續降溫,做下一次觀察。普通型泡沫液每下降1℃時觀察一次;耐寒型泡沫液每下降2.5℃時觀察一次。當泡沫液降至某一溫度,取出內管使其傾斜觀察泡沫液不流動時,在5s內反復傾斜仍無任何流動,則記錄此溫度。普通型泡沫液由此溫度上推1℃為流動點;耐寒型泡沫液上推2.5℃為流動點。
4.4.3 結果
每個樣品做兩次試驗,兩次試驗結果差值:普通型泡沫不應超過1℃;耐寒型泡沫液不應超過2.5℃。如果差值超過上述規定,應進行第三次試驗,取其較高的值作為測定結果。
4.5 腐蝕率
4.5.1 儀器、設備、材料
a. 天平:量程0~200g,精度0.1mg;
b. 游標卡尺:量程0 ~150mm,精度0.02mm;
c. 電熱鼓風干燥箱:控溫范圍0~200℃,精度±2℃;
d. 錐形燒瓶:250mL;
e. 硬毛刷;
f. 水砂紙:200號、400號;
g. 塑料薄膜;
h. 棉質手套;
i. 優質吸水紙;
j. A
3鋼片:75mm×15mm×1.5mm;
k. LF
2i鋁片:75mm×15mm×1.5mm;
l. 硝酸:密度1.4g/cm
3;
m. 磷酸-鉻酸水溶液:85%磷酸35mL加無水鉻酸20g,用水稀釋至1L;
n. 10%檸檬酸氫二銨水溶液;
o. 無水乙醇;
p. 氯化鈣干燥器。
4.5.2 試驗步驟
4.5.2.1 取鋼片和鋁片各四片,先用200號水砂紙打磨,去掉氧化膜,并用400號水砂紙磨光(鋁片在室溫下放在密度為1.4g/cm
3硝酸中浸泡2min),再用硬毛刷在自來水中沖刷、洗凈,最后用無水乙醇洗滌后用吸水紙擦干,將處理好的試片放入恒溫60±2℃的電熱鼓風干燥箱中干燥30min,取出后放入干燥器內,經20min冷卻,稱量每個試片質量(精確至0.5mg),并編號。
4.5.2.2 用游標卡尺測量每個試片的長、寬、厚(精確至0.1mm),計算出每個試片的表面積。
4.5.2.3 將量好的鋼片和鋁片各四片分別放入兩個250mL的錐形燒瓶中,倒入混合均勻的泡沫液。應使每個試片都完全浸沒在泡沫液中(注意試片不要相互接觸),然后用塑料薄膜封閉瓶口。
4.5.2.4 將錐形燒瓶放在恒溫38±2℃的電熱鼓風干燥箱內,連續保持21d。
4.5.2.5 從錐形燒瓶中取出試片,分別用硬毛刷在自來水中沖刷腐蝕生成物(如沖刷不掉,則鋼片用10%檸檬酸氫二銨水溶液浸泡,鋁片用磷酸-鉻酸水溶液浸泡,除去腐蝕生成物),沖刷干凈后,用無水乙醇洗滌,并用吸水紙擦干。然后放入恒溫60±2℃的電熱鼓風干燥箱內,干燥30min,取出放入干燥器內,經20min冷卻,稱量每個試片質量(精確至0.5mg)。
4.5.3 結果
腐蝕率按式(1)計算:
C=1000m/21A ………………………………(1)
式中:C——腐蝕率,mg/(d·dm
2);
m——四個試片的總失重值,g;
A——四個試片的總表面積,dm
2。
4.6 發泡倍數和25%析液時間
4.6.1 儀器、設備、材料
a. 秒表:精度0.1s;
b. 玻璃溫度計:量程0~100℃,分度值1℃;
c. 托盤天平:量程1000g,精度1g;
d. 臺秤:量程5kg,精度5g;
e. 量筒:量程1000mL,分度值10mL;
f. 刮板:300mm×300mm×3mm,木、塑料材質均可;
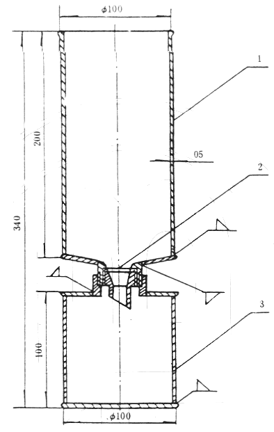
g. 發泡倍數測定器:1000mL搪瓷量杯;
h. 析液測定器:黃銅制,板厚0.5mm(見圖1);
i. 50L混合液配制計量罐;
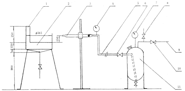
j. 泡沫產生系統:由5L/min標準泡沫管槍(見圖2)、1.5級0~1MPa壓力表、內徑20mm耐壓膠管、12.7mm閥門、50L耐壓混合液貯罐、空壓機等組成(見圖3)。

圖1 析液測定器
1―泡沫接收罐;2―雙層金屬網,孔徑0.125mm;3―析液接收罐

圖2 5L/min標準泡沫管槍及其附件
1―5L/min標準泡沫管槍;2―135°彎頭;3―7mm流量調節頭

圖3 泡沫產生滅火系統示意圖
1―泡沫降落板;2―燃燒盤;3―標準泡沫管槍;4―壓力表;5―耐壓膠管;6―閥門V
3;7―壓力表;8―閥門V
2;9―氣源;10―閥門V
1;11―混合液貯罐
4.6.2 準備工作
4.6.2.1 發泡倍數測定器容積的標定:
用20℃的水柱滿洗凈的發泡倍數測定器,稱重(精確至1g)。后將水倒掉,擦干內、外壁的水,再稱出空杯的質量(精確至1g)。將兩次質量之差視為發泡倍數測定器的容積值,測定二次,取其平均值。
4.6.2.2 按圖3所示安裝泡沫產生系統,具體要求:
a. 整個系統不能泄漏,工作壓力應能控制在0.70±0.01MPa;
b. 整個系統安裝好后或更換被測樣品前都要用清水洗滌、排凈,試驗完畢也要用清水洗滌、排凈。
4.6.2.3 配制40L泡沫混合液
把20L左右的自來水加到50L混合液配制計量罐中,按混合比加入泡沫液(6%型加2400mL,3%型加1200mL),然后再加水至40L刻度,攪拌均勻,應控制泡沫混合液的溫度,使產生泡沫溫度為20±2℃。
4.6.3 試驗步驟
4.6.3.1 稱量干凈的倍數測定器質量(精確至1g)和析液測定器質量(精確至1g)。然后取下析液測定器下部析液接受罐,稱取質量(精確至1g)。再裝好備用。
4.6.3.2 啟動空壓機,待系統壓力達到0.7MPa時,打開泡沫管槍閥門V
3,并迅速調節排氣閥門V
2,使泡沫管槍的壓力控制在0.70±0.01MPa。
4.6.3.3 泡沫管槍在規定的壓力下噴射5~10s后,用倍數測定器接收泡沫,接滿后立即用刮板刮平,擦去外壁泡沫。再用析液測定器接收泡沫,泡沫打入析液測定器時啟動秒表,接滿后立即用刮板刮平,擦去外壁泡沫。
4.6.3.4 關閉閥門V
3和空壓機開關。
4.6.3.5 稱量接滿泡沫的析液測定器質量(精確至1g),按式(2)計算25%析液質量:
m
3=(m
2-m
1)/4 …………………………(2)
式中:m
3——25%析液質量,g;
m
2——析液測定器接滿泡沫后的質量,g;
m
1——析液測定器質量,g。
將析液接受罐放在天平托盤上,把泡沫接收罐放在托架上,使析液流入析液接收罐內。記錄析液的質量達到25%析液質量的時間。
4.6.3.6 稱量接滿泡沫的倍數測定器質量(精確至1g)。同時用溫度計測量泡沫中心位置的溫度,并按式(3)計算發泡倍數:
N=V/(m
5-m
4)×ρ ………………………………(3)
式中:N——發泡倍數;
V——倍數測定器容積,cm
3;
m
5——倍數測定器接滿泡沫時質量,g;
m
4——倍數測定器質量,g;
ρ——析出液密度(ρ≈1g/cm
3)。
4.6.4 結果
取發泡倍數和25%析液時間各兩次試驗結果的平均值作為測定結果。
4.7 滅火時間和封閉時間
4.7.1 儀器、設備、材料
a. 泡沫產生系統:同第4.6.1條;
b. 5L/min標準泡沫管槍及其附件(見圖2);
c. 0.25m
2圓形燃燒盤:泡沫降落板長300mm×高250mm,鋼制板厚2.5mm(見圖3);
d. 點火棒:長1m,端頭纏繞5cm寬棉紗并浸有乙醇;
e. 臺秤:量程5kg,精度5g;
f. 秒表:精度0.1s;
g. 燃料:95%以上的工業乙醇(如能撲救其他的水溶性或非水溶性液體火災時,其性能指標由生產廠家注明);
h. 酒精計:量程0~100,分度值1。
4.7.2 試驗條件
試驗應在設有排煙裝置的室內進行。
4.7.3 試驗步驟
4.7.3.1 按第3.6條試驗完畢后,卸下泡沫管槍前端135°彎頭,換上7mm流量調節頭。當整個系統壓力控制在0.70±0.01MPa時,調節套環的位置,使噴嘴噴出泡沫流量為1250±25g/min。
4.7.3.2 調整管槍的位置,使之水平并高出燃燒盤上沿150mm,并使泡沫噴射到泡沫降落板中央。
4.7.3.3 用清水洗凈燃燒盤,加95%以上的工業乙醇(用酒精計測定)15L。
4.7.3.4 打開排煙裝置,點燃燃燒盤內的乙醇,同時開啟第一只秒表,并啟動空壓機,使整個系統壓力控制在0.70±0.01MPa。預燃3min時,打開泡沫管槍閥門V
3開始滅火,同時開啟第二只秒表,當燃燒盤火焰全部消失后,卡停第二只秒表,該時間即為滅火時間。繼續供泡沫,當第一只秒表到第7min時,關閉泡沫管槍閥門V
3,停止供泡沫。
4.7.3.5 從停止供泡沫開始,開啟第三只秒表,14min后用點燃的點火棒,在高出泡沫層2.5cm處不時地移動,當燃燒盤內乙醇被點燃時,卡停第三只秒表,該時間即為封閉時間。
4.7.4 結果
取滅火時間和封閉時間各兩次試驗結果的平均值作為測定結果。
5 檢驗規則
5.1 取樣
5.1.1 每一生產批號為一取樣單位,樣品總量不得少于10L。
5.1.2 型式檢驗的樣品應從出廠檢驗合格的產品中取樣。
5.1.3 取樣要有代表性,應保證樣品與總體的一致性,取樣前應將包裝中的產品混合均勻,從三個不同部位或不同的包裝中取等量的樣品,每一項性能在測試前也應將樣品混合均勻方能進行測試。
5.2 出廠檢驗
應按本標準中第4.1、4.2、4.3、4.4、4.6和4.7條規定的試驗方法進行檢驗。
5.3 型式檢驗
應按本標準第4章規定的全部試驗方法進行檢驗。有下列情況之一時,要進行型式檢驗:
a. 新產品鑒定或老產品轉廠生產時;
b. 正式生產后,如原材料、工藝有較大改變時;
c. 正常生產時,定期進行一次檢驗;
d. 長期停產、恢復生產時;
e. 國家質量監督機構提出進行型式檢驗要求時。
5.4 檢驗結果判定
出廠檢驗或型式檢驗的結果必須符合本標準第3章技術要求和6.3.3貯存期限的規定,如有一項不合格時,應重新自兩倍的包裝中取樣,復測后如仍有一項不合格,則判為不合格產品。
6 標志、包裝、運輸和貯存
6.1 標志
包裝桶上必須清晰、牢固地標明生產廠名、產品名稱、商標、型號、混合比、生產日期或生產批號、合格標記、重量、本標準編號和簡單的貯存保管要求。
6.2 包裝
抗溶泡沫滅火劑用鐵桶或聚乙烯塑料桶包裝,包裝應符合表2所列要求。
表2 L

6.3 運輸和貯存
6.3.1 產品在運輸、貯存期間不得混入其他雜物和其他類型的滅火劑。
6.3.2 產品應存放在陰涼、干燥的庫房內,防止曝曬,貯存的環境溫度范圍普通型為0~40℃,耐寒型為-10~40℃。
6.3.3 產品在上述環境中貯存期為二年,其各項性能指標不得低于本標準規定的技術要求。
附加說明:
本標準由中華人民共和國公安部提出。
本標準由全國消防標準化技術委員會歸口。
本標準由公安部天津消防科學研究所負責起草。
本標準主要起草人劉金聲、閻章祺、胡晏、國鼎。