1 主題內容與適用范圍
本標準規定了自動噴水滅火系統灑水噴頭的技術要求、試驗方法、檢驗規則和標志、包裝、運輸、貯存要求。
本標準適用于自動噴水滅火系統直立型、下垂型、普通型、邊墻型、吊頂型灑水噴頭及干式下垂型灑水噴頭。
本標準不適用于自動噴水滅火系統中的水霧噴頭、水幕頭。
2 術語
2.1 灑水噴頭
在熱的作用下,按預定的溫度范圍自行啟動,或根據火災信號由控制設備啟動,并按設計的灑水形狀和流量灑水滅火的一種噴頭。
2.2 濺水盤
在噴頭的頂端,能使水流分灑成規定的灑水形狀的元件。
2.3 框架
指噴頭的支撐臂及其連接部分。
2.4 熱敏感元件
在規定的溫度下能夠使灑水噴頭發生動作的元件。
2.5 公稱口徑
根據流量的大小而規定的噴頭噴水口的名義尺寸。
2.6 釋放機構
噴頭中由熱敏感元件,密封件等零件所組成的機構。即噴頭啟動時,能自動脫離噴頭本體的部分。
2.7 靜態動作溫度
在試驗室,按規定的條件升溫,閉式灑水噴頭受熱后,其熱敏感元件動作時的溫度。
2.8 公稱動作溫度
表示在不同的使用環境條件下,閉式灑水噴頭在不同溫度范圍內啟動的名義動作溫度。
2.9 沉積
噴頭受熱動作后,釋放機構中的零件或熱敏元件的碎片滯留于噴頭框架或濺水盤等部位,明顯影響噴頭按設計形狀灑水1min以上的現象,即為沉積。
3 灑水噴頭的分類
3.1 按結構形式分類
3.1.1 閉式灑水噴頭
具有釋放機構的灑水噴頭。
3.1.2 開式灑水噴頭
無釋放機構的灑水噴頭。
3.2 按熱敏感元件分類
3.2.1 玻璃球灑水噴頭
釋放機構中的熱敏感元件為玻璃球的灑水噴頭。噴頭受熱時,由于玻璃球內的工作液發生作用,使球體炸裂而開啟。
3.2.2 易熔元件灑水噴頭
釋放機構中的熱敏感元件為易熔元件的灑水噴頭。噴頭受熱時,由于易熔元件的熔化、脫落而開啟。
3.3 按安裝方式和灑水形狀分類
3.3.1 直立型灑水噴頭
噴頭直立安裝于供水支管上,灑水形狀為球形,它將水量的60%~80%向下噴灑,同時還有一部分噴向頂棚。
3.3.2 下垂型灑水噴頭
噴頭下垂安裝于供水支管上,灑水形狀為拋物體形,它將水量的80%以上向下噴灑。
3.3.3 普通型灑水噴頭
噴頭既可直立安裝也可下垂安裝,灑水形狀為球形,它將水量的40%~60%向下噴灑,同時還將一部分水噴向頂棚。
3.3.4 邊墻型灑水噴頭
噴頭靠墻安裝,分為水平和直立兩種形式。噴頭的灑水形狀為半拋物體形,它將水直接灑向保護區域。
3.3.5 吊頂型灑水噴頭
噴頭隱蔽安裝在吊頂內的供水支管上,分為平齊型、半隱蔽型和隱蔽型三種形式。噴頭的灑水形狀為拋物體形。
3.4 特殊類型的灑水噴頭
3.4.1 干式灑水噴頭
具有一段無水的特殊輔助管件的灑水噴頭。
3.4.2 自動啟閉灑水噴頭
具有在預定溫度下自動啟動閉性能的灑水噴頭。
3.5 灑水噴頭的公稱口徑和接頭螺紋
灑水噴頭的公稱口徑和接頭螺紋各有三種規格,見表1。
表1 灑水噴頭的公稱口徑和接頭螺紋

3.6 公稱動作溫度和顏色標志
閉式灑水噴頭的公稱動作溫度和顏色標志如表2所示。
玻璃球灑水噴頭的公稱動作溫度分為13檔,應在玻璃球工作液中作出相應的顏色標志。
易熔元件灑水噴頭的公稱動作溫度分為7檔,應在噴頭軛臂上作出相應的顏色標志。
表2 閉式灑水噴頭的公稱動作溫度和顏色標志

4 灑水噴頭的技術要求
4.1 密封性能
4.1.1 制造廠生產的每只閉式噴頭都應通過靜水壓3MPa保持3min的密封試驗。
4.1.2 閉式灑水噴頭按5.2條進行試驗時,在升壓和保壓過程中應無滲漏。
4.2 流量特性系數
4.2.1 灑水噴頭的流量特性系數K的計算公式:

式中:Q——流量,L/min;
P——壓力,MPa。
4.2.2 按5.3條方法試驗,所確定的噴頭流量特性系數K值應符合表3的要求。
表3

4.3 布水性能
4.3.1 噴頭應按5.4條進行布水試驗,其布水的均勻性應符合表4的規定。
表4

4.3.2 邊墻型灑水噴頭按5.4條進行布水試驗時,應打濕距噴頭濺水盤1.2m以下的全部墻面,并在噴頭的保護面積內均勻布水,低于平均灑水密度50%的面積應小于10%。
4.4 灑水噴頭濺水盤上、下的噴水量
4.4.1 按5.5條方法試驗,直立型灑水噴頭向下的水量占60%~80%。
4.4.2 按5.5條方法試驗,下垂型灑水噴頭向下的水量占80%以上。
4.4.3 按5.5條方法試驗,普通型灑水噴頭向下的水量占40%~60%。
4.5 靜態動作溫度
按5.6條試驗方法測定噴頭的靜態動作溫度。
4.5.1 易熔元件灑水噴頭的靜態動作溫度不得超過下式規定的溫度范圍:
X±(0.035X+0.62) ………………………………(2)
式中:X——公稱動作溫度,℃。
4.5.2 玻璃球灑水噴頭和玻璃球的動作溫度應符合表5要求。玻璃球碎片的最大尺寸應小于上下球座間的最小距離。
表5 ℃

4.6 功能要求
4.6.1 灑水噴頭按5.7條進行功能試驗,噴頭熱敏元件應啟動靈活,并且不發生沉積。
4.6.2 在任一壓力和安裝位置進行功能試驗時,若噴頭出現沉積,則應另取24只噴頭重作該壓力和該安裝位置的功能試驗,噴頭應啟動靈活。在每種壓力下所測試的所有噴頭中,發生沉積的噴頭總數不應超過一只。
4.7 抗水沖擊性能
在按5.8條進行水沖擊試驗的過程中,噴頭不應出現滲漏和破壞。本項試驗后,還應通過0.035MPa壓力的功能試驗。
4.8 框架強度
灑水噴頭按5.10條進行試驗,其框架的永久性變形不得大于噴頭負荷支承點之間距離的0.2%。
4.9 熱敏感元件的強度
熱敏感元件按5.11條進行強度試驗,不得發生變形或破損。
4.10 濺水盤強度
灑水噴頭按5.12條進行強度試驗時,連續灑水15min,噴頭的濺水盤不得出現松動,脫落,永久變形或破損。
4.11 疲勞強度
玻璃球灑水按5.13條進行疲勞強度試驗,其玻璃球不得有任何損壞,本項試驗后,還應通過5.7條規定的0.35MPa壓力的功能試驗。
4.12 熱穩定性能
玻璃球灑水噴頭按5.14條進行試驗,其玻璃球不得有任何損壞,隨后還應通過5.7條進行0.35MPa壓力的功能試驗。
4.13 抗振動性能
灑水噴頭按5.15條進行試驗,噴頭組件應無松動、變形和損壞。振動試驗后,應通過5.2條的密封試驗和5.7條進行0.35MPa壓力的功能試驗。
4.14 抗機械沖擊性能
噴頭按5.16條進行機械沖擊試驗,應無損壞。試驗后還應通過5.2條密封性能試驗。
4.15 環境溫度的適應性能
噴頭按5.17條進行試驗,在90天的試驗過程中,不得出現任何破損。本項試驗后,各用4只噴頭分別進行5.2和5.6條試驗。另四只噴頭按5.7條各用兩只分別進行壓力為0.35MPa和1MPa的功能試驗,此三項試驗出現不合格時,對不合格的項,取8只噴頭,重作環境溫度試驗,再通過此項試驗。
4.16 耐低溫試驗
灑水噴頭按5.18條進行低溫試驗,噴頭涂層和鍍層不能出現任何破裂或卷層。
4.17 耐高溫性能
噴頭本體按5.19條進行高溫試驗,應能耐高溫。試驗后,不得發生嚴重變形和損壞。
4.18 應力腐蝕性能
噴頭按5.20條或附錄 B(補充件)進行試驗,其任何部件不得出現影響其性能要求的裂紋、脫層和破損。在試驗后,還應對該噴頭進行壓力為1.2MPa、歷時 l min的密封試驗,不得有滲漏。還應通過0.035MPa壓力下的功能試驗。
4.19 耐二氧化硫腐蝕
噴頭按5.21條進行試驗后,噴頭各部位應無明顯腐蝕損壞。本項試驗結束后,噴頭還應通過0.3MPa壓力下的功能試驗。
4.20 耐鹽霧腐蝕
噴頭按5.22條進行試驗后,噴頭各部位應無明顯的腐蝕損壞。本項試驗結束后,噴頭還應通過0.035MPa壓力的功能試驗。
4.21 滅火性能
4.21.1 噴頭按5.23條進行試驗后,在30 min試驗過程中,應能控制住木垛火,并在火熄滅后 l min內撲滅木垛火,試驗后,木垛重量損失不得超20%。
4.21.2 試驗過程中,在點火后6 min內,吊頂處熱電偶所測得的空氣溫度應降到低于(275℃十環境溫度)。在其余的24 min的試驗過程中,熱電偶測得的平均空氣溫度應低于(250℃十環境溫度),且熱電偶所測得的空氣溫度高于(270℃十環境溫度)的連續時間不得超過3 min。
5 試驗方法
制造廠應將設計圖紙、說明書及本標準規定數量的產品一起提交檢測部門;以便進行檢測試驗。
5.1 外觀檢測
5.1.1 全部試樣的各種標志均應齊全并符合要求。
5.1.2 從試驗中,抽取5只噴頭對照設計圖紙和說明書進行檢查,應符合設計、加工的技術要求。
5.1.3 檢驗試樣的工藝一致性情況,目測有無加工缺陷和機械損傷等現象。
5.2 密封性能試驗
5.2.1 噴頭安裝在試驗管網上,先排除管網中空氣,使管網充滿水,然后加壓。壓力從零開始,按0.1±0.025MPa/s的速率上升到3.0MPa,保持3min,再降壓到零。然后,在5s內使壓力由零再升到0.05MPa,保持15s后卸壓。試驗過程中應注意檢查噴頭的滲漏情況。本試驗要求在室溫20±5℃的環境條件下進行。 ’
5.2.2 密封性能不合格時,該批噴頭樣品不再進行以下各項試驗。再次檢驗時,進行本項試驗的噴頭數量應加倍。
5.3 流量特性試驗
5.3.1 試驗的專用裝置如圖 l所示,噴頭從框架間距離最大處去掉框架后,安裝在專用裝置上,試驗采用凈水。噴口水壓為0.05、0.15、0.25、0.35、0.45、0.55、0.65MPa。進行測試時,采用專用水箱和稱重器收集水量并稱重,稱重精度應精確到1%。每次灑水的時間不得少于2 min。使噴口水壓再由高到低重作上述試驗。
5.3.2 將所測得的數據按4.2.1條中公式(l)進行計算,流量特性系數K應為計算數值的平均值。試驗所得的K值應符合4.2.2條表3的規定。
5.4 布水試驗(5.4.2條參照執行)
5.4.1 試驗室的面積不小于7 m×7 m。噴頭的布置如圖2和圖3所示。4只相同類型的去掉釋放機構的噴頭按4.3.1中表4的要求呈方形布置在試驗室的中部。噴頭安裝在試驗管網上,支撐臂與供水管平行。用方形集水盒密布在噴頭的保護面積內,每只集水盒的面積不大于0.5 m×0.5 m,集水盒的口平面距吊頂2.7 m。
對于直立型、下垂型、普通型及干式噴頭,直立安裝時,噴頭濺水盤與吊頂的距離為50 mm。下垂安裝時,噴頭濺水盤距吊頂的距離為275 mm。
5.4.2 兩只邊墻型灑水噴頭按正常形式安裝在靠墻的試驗管網上。如圖4所示噴頭的間距為3 m,支撐臂應保持在同一方向上。噴頭軸線與墻面的距離為150 mm,濺水盤與吊頂的距離為100 mm。吊頂與 集水盒口平面的距離為2.7 m。集水盒以3 m×3 m的方形密布在兩只噴頭之間的地面上,與墻面的距 離為0.6 m。
5.4.3 每次試驗的灑水時間應不少于3 min,測定灑水時間內集水量。計算出每個集水盒測得的灑水密度和整個保護面積的平均灑水密度。
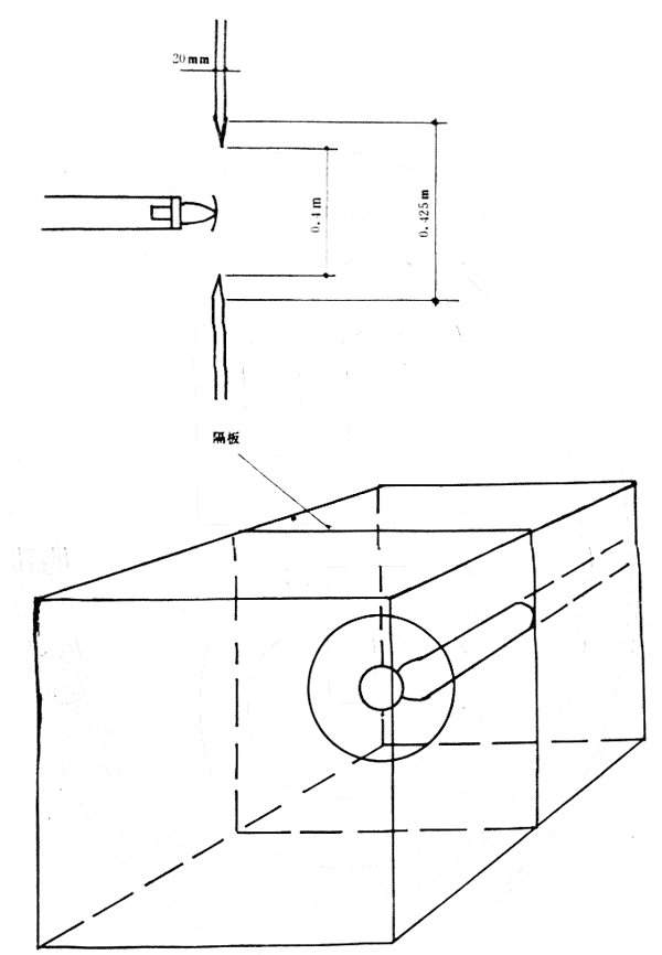
5.5 噴頭濺水盤上、下噴水量測定試驗。
5.5.1 將噴頭按圖5所示水平安裝在試驗裝置上。
5.5.2 使噴頭的濺水盤位于試驗裝置隔板孔口的中央,濺水盤的端面與隔板處于同一平面,噴頭的軸線與隔板孔的中心線重合。
5.5.3 噴頭按表6規定的條件進行試驗。
表6

5.5.4 試驗后計算出兩個集水容器中的水量,應符合4.4條的要求。
5.6 靜態動作溫度試驗
5.6.1 本試驗要求環境溫度為20±5℃。試驗在液浴中進行。公稱動作溫度不大于79℃的噴頭或玻璃球,采用水浴(蒸餾水);79℃以上的采用油浴(適當的油)。將試樣置于試驗容器中,以低于20℃/min的速率,從室溫升到低于公稱動作溫度20土2℃,保持10 min后,以0.4℃/min~0.7℃/min的速率升溫,直至噴頭動作為止。所測得的數據對易熔元件灑水噴頭應符合4.5.1條要求,玻璃球灑水噴頭和玻璃球應符合4.5.2條要求。
5.6.2 液浴容器內部的溫度應均勻,試驗區內偏差不得超過0.5℃。溫度的測量采用2級標準玻璃溫度計。
5.6.3 本試驗需要采用10只灑水噴頭作為試驗樣品。若系玻璃球灑水噴頭,則應另外附加40個玻璃球作為試樣。
5.6.4 試驗中出現1只噴頭或玻璃球不符合4.5.1條或4.5.2條的要求,則應另取加倍數量的試樣重作本試驗。這時,全部試樣對易熔元件灑水噴頭應符合 4.5.1條要求;對玻璃球灑水噴頭和玻璃球應符合4.5.2條要求。
5.7 功能試驗
5.7.1 功能試驗裝置如圖6所示。噴頭試樣按正常使用的安裝形式進行安裝。試驗箱的熱源采用液化石油氣。試驗箱內的溫度應在 3min內達到400±20℃。對于公稱動作溫度超過79℃的灑水噴頭,可以直接用火炬加熱,以便啟動噴頭。
5.7.2 對于灑水噴頭的每個正常安裝位置,在0.035、0.35、1.0MPa 的水壓下,分別采用8只灑水噴頭進行功能試驗。噴頭啟動后,在5s內達到規定壓力。灑水時間應不少于90s。
5.7.3 噴頭啟動后達到規定壓力,應仔細觀察沉積現象,如出現沉積現象,不得超過1min。
5.8 水沖擊試驗
5.8.1 灑水噴頭按正常工作位置安裝在試驗裝置上,試驗室溫度應保持在20±5℃。以0.4±0.2MPa到2.5±0.5MPa,交變水壓對噴頭進行水沖擊試驗。交變水壓的頻率為1Hz。
5.8.2 灑水噴頭應能經受連續3000次的沖擊試驗,不得發生滲漏和損壞。
5.9 工作荷載的確定
5.9.1 本試驗要求環境溫度為20±5℃。將5只噴頭安裝在試驗機上,試驗機上應帶有讀數精度為0.001mm的千分表。在噴頭的進口處,加1.2MPa的液壓,在液壓荷載下讀出噴頭濺水盤端面的讀數。
5.9.2 卸去液壓,采用局部加熱的方法去掉熱敏感元件,注意不得改變被試噴頭的位置和框架的機械性能。待噴頭恢復至室溫后,讀出此狀態下干分表的讀數。
5.9.3 隨后,以不超過500 N/min的速率逐漸對噴頭施加機械荷載,直至噴頭濺水盤端面的讀數值恢復到1.2MPa液壓時的讀數值。這時,所施加的機械荷載即為噴頭的工作荷載。5只試樣的工作荷載的平均值即為噴頭的平均工作荷載。
5.10 框架強度試驗
本試驗在環境溫度為20±5℃的條件下進行。對5.9條試驗所用的5只噴頭,以不超過500 N/min的速率,逐漸加壓到2倍平均工作荷載,并保持此荷載不少于 l min。
然后,卸去機械荷載,記下噴頭濺水盤末端的讀數值。該讀數值和5.9.2條讀數之差,即為框架的永久變形值。
5.11 熱敏感元件的強度試驗
5.11.1 試驗在室溫為20±5℃的環境中進行,玻璃球按正常裝配狀態安裝在試驗夾具中,其受力狀態,應與產品裝配時完全相同。試驗機以250 N/min的速率對玻璃球逐漸施加壓力。
對玻璃球應施加6倍平均荷載,并保持此荷載2 min。玻璃球座無破損。
5.11.2 對易熔元件施加相當于5.9條所測定的5只噴頭中的最大工作荷載15倍的機械荷載,并保持荷載100h。易熔元件應無破損。
或者按附錄 A(補充件)所述的方法進行試驗,證明易熔元件的性能符合4.9條的要求。
5.12 濺水盤強度試驗。
在每個正常安裝位置上,噴頭按5.7條的試驗方法進行水壓為1.2MPa的功能試驗。噴頭啟動后,應在1.2MPa水壓下連續灑水15min。符合4.10條的要求。
5.13 疲勞強度試驗
本試驗要求環境溫度為20±5℃。試驗在液浴中進行,公稱動作溫度不超過79℃的玻璃球灑水噴頭采用水浴(蒸餾水),79℃以上玻璃球灑水噴頭采用油浴(適當的油)。將試樣置于試驗容器中,以低于20℃/min的速率,從室溫升高到低于公稱動作溫度20± l℃,然后,以 l℃/min的速率逐漸升溫,直至玻璃球內的氣泡消失或低于公稱動作溫度5℃為止。立刻將試樣從液浴中取出置于空氣中自然冷卻,直至玻璃球內的氣泡重新出現。冷卻時,應保持玻璃球的密封尖朝下。
本試驗采用5只玻璃球灑水噴頭,每只噴頭重復試驗6次。
5.14 熱穩定性試驗
試驗在液浴中進行,試驗開始前,玻璃球灑水噴頭應處于20±5℃的環境溫度中。試驗時,將玻璃球灑水噴頭浸入低于公稱動作溫度10±2℃的液浴中。5 min后,取出噴頭,使玻璃球的密封尖朝下,立即浸入10±l℃的水中
5.15 振動試驗
5.15.1 本試驗要求室溫為20±5℃,將噴頭按正常的安裝形式固定在振動試驗臺上。按照圖7所示的試驗曲線進行正弦振動。振動方向應與噴頭的安裝平面垂直。
5.15.2 試驗以30 min/倍頻程的速率在5~60 Hz的頻率范圍內進行。試驗過程中,若出現1個或多個共振點,則在試驗曲線完成后,噴頭應在所測得的共振頻率下,按圖7所示的振動加速度峰值振動 l h;若未出現共振、則噴頭應以35Hz的頻率,1mm的振幅,振動120 h。
5.16 機械沖擊試驗
5.16.1 試驗在機械沖擊試驗臺上進行。噴頭分別以正常安裝的正、反兩個方向和一個側向(垂直于兩端框架構成的面的方向)固定在試驗臺上。保持沖擊加速度為 l00g,每一方向各沖擊3次。
5.16.2 沖擊試驗后,檢查噴頭有無損壞和零件移位、松動等情況,再按5.2條要求進行密封性能試驗。
5.17 環境溫度試驗
5.17.1 將噴頭置于試驗箱中,箱內的溫度應保持在低于公稱動作溫度16℃。噴頭應保持在1.2MPa的壓力下試驗。試驗箱工作室溫度的精度應符合表7中的要求。
表7

5.17.2 試驗時,應每隔7天,從試驗箱中取出,在室溫度下冷卻2至4 h,檢查樣品,不得出現損壞。
5.17.3 本試驗歷時90天。應符合4.15條的要求。 ,
5.18 低溫試驗
5.18.1 將噴頭置于低溫試驗箱中,箱內的溫度應保持在一10±2℃,歷時24 h。
5.18.2 試驗后,取出噴頭,在室溫下放置24 h。然后仔細檢查涂層或鍍層,應符合4.16條要求。
5.19 高溫試驗
將去掉釋放機構的灑水噴頭直立放入溫度為800土20℃的試驗爐中,受熱15 min后,夾住噴頭進水口的螺紋部位,取出灑水噴頭,立即浸入溫度為15℃的水中,待噴頭冷卻后,進行檢查,應符合4.17條要求。
5.20 應力腐蝕試驗
5.20.1 本試驗在化工腐蝕試驗箱中進行。試驗箱的工作室內放一個平底大口的玻璃容器。按照每1cm
3的試驗容積加氨水0.01mL的比例,將比重為0.94的氨水加入玻璃容器。讓其自然揮發。以便在試驗區內形成潮濕的氨和空氣的混合氣體。其成分約為:氨35%;水蒸氣5%;空氣60%。
5.20.2 將灑水噴頭去掉油脂,懸掛在工作室的中間部位。工作室內的溫度應保持在34±2℃,歷時10天。試驗后,將噴頭沖洗,烘干,再仔細檢查,應符合4.18條要求。
5.21 二氧化硫腐蝕試驗
5.21.1 試驗在化工腐蝕試驗箱中進行。工作室內按體積比,24 h內加入1%的二氧化硫。在工作室的底部,用平底大口的器皿盛人足夠的蒸餾水,讓其自然揮發,以形成潮濕的環境。工作室內的溫度保持45土2℃。
5.21.2 將灑水噴頭用支撐架懸吊于工作室的中間部位,在距噴頭5 Cm的上部加罩,以免工作室頂部所凝聚的液滴滴在噴頭上。
5.21.3 本試驗歷時16天。試驗結束后,將噴頭洗凈,并在20土5℃,相對濕度不超過70%的環境中干燥7天,然后,檢查噴頭的腐蝕情況。應符合4.19條要求。
5.22 鹽霧腐蝕試驗
5.22.1 試驗在鹽霧腐蝕試驗箱中進行。用20%的食鹽水溶液(重量比)噴射而形成鹽霧。食鹽溶液的密度為1.126~ 1.157g/cm
3,pH值為6.5~7.2。
5.22.2 將5只灑水噴頭按正常的安裝形式,用支撐架懸掛在試驗箱工作室的中間部位。工作室的溫度應為35土2℃。應收集從噴頭上滴下的溶液,使其不回流到儲液器中作循環使用。在工作室 內至少應從兩處收集鹽霧,以便調節試驗時所用的霧化速率和鹽溶液的濃度。對于每80cm2的收集面積,連續收集16h,每小時應收集到1.0~2.0mL的鹽溶液,其濃度(重量化)應為19%~21%。
5.22.3 本試驗歷時10天。試驗結束后,取出噴頭,在溫度20土5℃、相對濕度不超過70%的環境中干燥7天,然后,檢查噴頭的腐蝕情況。
5.23 滅火試驗
用于輕危險級建筑的公稱口徑10mm的灑水噴頭,不進行滅火試驗。
試驗布置如圖8所示(5.23.1.3條參照執行)。
5.23.1.1 試驗室的地面面積應不小于144m
2,且通風良好。吊頂的面積不小于5 m×5 m,吊頂與木垛頂面的距離為2500±100 mm。
5.23.1.2 4只無釋放機構的灑水噴頭分別排成3m×3m的方形,安裝在試驗室中的管網上。噴頭軛臂應與供水管平行。噴頭安裝時,濺水盤與吊頂的距離為250±100 mm。吊頂型噴頭可以按正常安裝形式裝在吊頂上。
5.23.1.3 4只無釋放機構的邊墻型灑水噴頭排成3 m×6 m的長方形安裝在試驗室中部的管網上。沿著6 m的方向,噴頭的噴口相對。直立邊墻型噴頭濺水盤與吊頂距離為300 mm。水平邊墻型噴頭的濺水盤與吊頂距離為240 mm。
5.23.1.4 兩根相距30 mm的熱電偶安裝在4只灑水噴頭的中心位置處,熱電偶的末端應彎曲向上,測溫點距吊頂50 mm。
5.23.1.5 試驗用的木垛采用刨光的杉木或松木條堆成,如圖9所示。木條尺寸如下:100 mm×150mm×2400 mm的2根,100 mm×100 mm×1200 mm的13根,50 mm×100 mm×1200 mm的28根,木條的平均濕度為6%~14%。整個木垛應預先稱重。木垛安放在試驗室中央的鋼架上。在木垛正下方的地面上.應設置一個2400 mm×1800 mm×300 mm的長方形鋼盤,鋼盤應不漏水。在試驗前注水,并使鋼盤內始終保持100 mm深的水。
5.23.1.6 火炬由噴霧嘴將90號石油醚噴出點燃。90號石油醚的霧化速率為0.06 L/s。石油醚的貯量應能滿足連續試驗30 min的需要,其溫度應為5~25℃。
5.23.2 試驗
5.23.2.1 同類型噴頭的滅火試驗共進行兩次。每次試驗歷時30 min。第一次試驗時,每個灑水噴頭的流量60 L/min;第二次試驗時為90 L/min。對于公稱口徑20 mm的灑水噴頭,第一次試驗時每個灑水噴頭的流量為80L/min;第二次試驗時為135 L/min。
5.22.2.2 試驗時,點燃火炬后60±10 s或吊頂處溫度達到700℃(兩者取后發生的情況),4只噴頭同時開始灑水。本試驗也可以采用閉式灑水噴頭,但噴頭應在70 s內啟動灑水。試驗進行到30 min時,熄滅火炬,繼續灑水 l min,木垛火應完全熄滅。
5.23.2.3 試驗結束后,應將木垛的木條進行干燥,待其相對濕度為6%一14%時再進行稱重,并與試驗前的木垛相比較,計算出木垛的重量損失。
6 檢驗規則
6.1 出廠檢驗
灑水噴頭在出廠前必須按照4.1.1條的要求進行密封性能試驗,不得有滲漏。試驗環境溫度應保持在20±5℃。
6.2 型式檢驗
6.2.1 各種類型和規格的閉式灑水噴頭,在新產品投產前,必須對各項性能進行全面的檢驗。
有下述情況者,應進行灑水噴頭的型式檢驗。
a.正式生產后,如結構、材料、工藝任何一項有較大改變,可能影響產品性能時。
b.正常生產時,三年應進行一次型式檢驗。
c.產品停產超過一年者,恢復生產時。
d.產品轉廠生產的試制定型鑒定。
e.國家質量監督機構提出進行型式檢驗要求時。
6.2.2 同一制造廠,同種材料,同一生產工藝條件下,同一公稱口徑批量生產的不同公稱動作溫度的灑水噴頭,其中一個溫級灑水噴頭進行全面檢查合格,其它各溫級的灑水噴頭只按5.1、5.2、5.6、5.7、5.11、5.13、5.14和5.17條的規定進行檢驗。
6.2.3 同一公稱動作溫度、產品工藝、材料相同,但類型不同的批量生產的灑水噴頭,其中一種類型通過型式檢驗,其他類型的灑水噴頭按5.1、5.2、5.3、5.4、5.5、5.7、5.9、5.10、5.12、5.23條的規定進行檢驗。
6.2.4 開式灑水噴頭只進行5.1、5.3、5.4、5.10、5.12、5.19、5.20、5.23條的規定進行檢驗。
6.2.5 灑水噴頭型式檢驗的試驗程序如圖10所示。
6.3 判定規則
6.3.1 本標準規定的各項檢驗項目,達到第四章相應條款的要求為合格。
6.3.2 送檢灑水噴頭的樣品,其中4.1、4.5、4.6、4.15、4.21條中任一條不合格,該批灑水噴頭樣品為不合格。
6.3.3 送檢灑水噴頭樣品,其中4.2、4.3、4.9、4.10、4.13、4.17、4.18條只有一條不合格,可判該批送檢樣品為合格。如果有兩條和兩條以上不合格,取加倍數量的噴頭重作此條款的檢驗。仍有兩條和兩條以上不合格,該批送檢噴頭樣品為不合格。
6.3.4 除6.3.2、6.3.3條的規定外,第四章的其余各條中有兩條不合格可判為該批灑水噴頭樣品合格。如果有兩條以上不合格,取加倍數量的噴頭重作這些條款試驗。不合格條款仍超過兩條,則判該批送檢噴頭不合格。
6.3.5 6.3.3條中有一項不合格,6.3.4條中有一項不合格,可判該批送檢噴頭不合格。
7 標志、包裝、運輸、貯存
7.1 灑水噴頭應在濺水盤或本體等處,用適當的方法作出下列永久性標志:型號、公稱動作溫度、生產年、生產廠。
7.2 灑水噴頭若采用3.5條表1所示的接頭螺紋尺寸,但噴頭的實際口徑與公稱口徑不符時,應在灑水噴頭上注明噴頭的實際口徑。
7.3 對于邊墻型灑水噴頭,應在噴頭上用箭頭注明水流的方向。
7.4 貯存灑水噴頭的場所內,溫度應低于40℃。
7.5 灑水噴頭在包裝箱內要單獨固定,防止相互間碰撞。
7.6 在運輸過程中,包裝箱要防雨,裝卸時防止撞擊。

圖1 流量特性試驗裝置圖
A—鋼管,公稱直徑40

圖2 布水性能試驗管網布置圖
注:S分別為2500、3000、3500、4500。

圖3 布水性能試驗布置圖

圖4 邊墻型灑水噴頭布水性能試驗布置圖

圖5 測定濺水盤上下水分布的裝置

圖6 功能試驗箱

圖7 振動試驗曲線

圖8 滅火試驗布置圖

圖9 滅火試驗木垛
注:全部木材為公稱尺。

圖10 噴頭檢測程序圖
注:①噴頭檢測程序圖試驗項目名稱和編號
1—外觀檢查;2—密封性能試驗;3—流量特性試驗;4—布水試驗;5—靜實動作溫度試驗;6—功能試驗;7—水沖擊試驗;8—工作荷載的確定;9—框架強度的判定;10—玻璃球強度試驗;11—易熔元件強度的試驗;12—濺水盤強度試驗;13—疲勞強度試驗;14—熱穩定性試驗;15—振動試驗;16—機械沖擊試驗;17—環境溫度試驗;18—低溫試驗;19—高溫試驗;20—應力腐蝕試驗;21—二氧化硫腐蝕試驗;22—鹽霧腐蝕試驗;23—滅火試驗;24—濺水盤上下水量的測定;25—備用灑水噴頭;26—備用玻璃球;27—備用易熔元件。
②方框中的數字為試驗序號。
③圓圈中的數字為所需的樣品數。
附錄A
易熔元件的強度試驗
(補充件)
在正常條件下,易熔元件的壽命規定為100年。這段時期中會否因蠕變應力而損壞,需要通過本項試驗去了解。
試驗中,對易熔元件試樣施加數值不同的機械荷載,使試樣在進行試驗的1000h以內或試驗超過1000h后發生破裂,至少對10個試樣施加15倍設計負荷以內的不同荷載值。這里設計負荷相當于5.9條規定的最大工作荷載L
d;試驗中應記錄試樣發生破裂時的試驗時間和所施加的破壞荷載值。經過數據整理,去掉那些不規則的破壞荷載值。由此,作出一條最小二乘法的全對數回歸曲線。從曲線上,可以得出試驗進行1h,試樣就發生破壞所對應的荷載值L
0以及試樣運行了1000h,試樣才發生破壞所對應的荷載值L
m。為達到上述100年的耐久要求,必須滿足下式:

本試驗應在20±5℃的環境溫度下對試樣施加機械荷載。
附錄B
硝酸亞汞腐蝕試驗
(補充件)
將灑水噴頭試樣浸入重量百分比濃度為50%的硝酸溶液中15~30s,以便除去油脂。然后將噴頭浸入重量百分比濃度為1%的硝酸亞汞〔Hg
2(NO
3)
2·3H
2O〕溶液中,并按每100mL此溶液加入重量百分比濃度為50%的硝酸溶液1mL。將噴頭在室溫下浸泡30min,取出噴頭,沖洗、烘干會進行檢查。
附加說明:
本標準由公安部提出。本標準由公安部四川消防科學研究所起草。
本標準由公安部天津消防科學研究所修訂。
本標準主要修訂人白瑞增、張少禹、鄭觀雄、啜風英。