目次
前言
1 范圍
2 引用標準
3 測試環境
4 需測定的量與測量誤差
5 測量儀器
6 機組的安裝與運轉
7 基準體和測量表面
8 聲壓級的測量
9 測量表面平均聲壓級和聲功率級的計算
10 測試記錄
11 測試報告
附錄A(標準的附錄) 測試環境的鑒定方法
附錄B(標準的附錄) 基準體、測量表面及測點位置
附錄C(標準的附錄) 制冷和空調設備噪聲聲壓級的測量
附錄D(標準的附錄) 空調機(器)噪聲聲壓級的測量
附錄E(提示的附錄) 記錄表格及測試報告形式
前言
本標準是對JB 4330—86《制冷和空調設備噪聲聲功率級的測定 工程法》進行的修訂。
原標準自1986年首次發布,在實施中尚有不妥之處,如兩個反射面的測試方法,在實施中有一定的難度,為了與相關標準的協調,對內容作了適當的修改,并在標準附錄中增加了聲壓級的測量。
本標準的附錄A、附錄B、附錄C和附錄D都是標準的附錄。
本標準的附錄E是提示的附錄。
本標準自實施之日起代替JB 4330—86。
本標準由全國冷凍設備標準化技術委員會提出并歸口。
本標準負責起草單位:合肥通用機械研究所。
本標準主要起草人:孟昭明、林澤安。
1 范圍
本標準規定了反射平面上自由場條件下噪聲聲功率級的測定方法;附錄C(標準的附錄)給出了噪聲聲壓級的測量方法;附錄D(標準的附錄)給出了空調機(器)噪聲聲壓級的測量方法。
本標準適用于由工廠組裝出廠的制冷和空調設備及部件(以下統稱機組)。
2 引用標準
下列標準所包含的條文,通過在本標準中引用而構成為本標準的條文。本標準出版時,所示版本均為有效。所有標準都會被修訂,使用本標準的各方應探討使用下列標準最新版本的可能性。
GB/T 3785—1983 聲級計的電、聲性能及測試方法
JJG 176—1984 聲校準器檢定規程
JJG 188—1984 聲級計檢定規程
3 測試環境
3.1 反射平面
反射平面應是由混凝土、瀝青、水磨石或其它類似的堅實材料構成的平整表面,尺寸應大于測量表面在其上的投影。
3.2 合適的測試環境
機組應在一個反射平面上的半空間內進行噪聲測試。理想的測試環境是除了規定的反射平面以外,沒有其它反射物。附錄A(標準的附錄)給出了測試環境的鑒定方法。
4 需測定的量與測量誤差
4.1 需測定的量
A計權聲功率級和其中心頻率在125Hz和8000Hz之間的七個倍頻程聲功率級。
4.2 測量
A計權聲功率級的標準偏差約為2dB。倍頻程聲功率級的標準偏差見表1。
表1

5 測量儀器
5.1 概述
測試儀器使用GB/T 3785中規定的Ⅰ型或Ⅰ型以上的聲級計,以及精度相當的其它測試儀器。聲級計或其它測試儀器與傳聲器之間應使用延伸桿或延伸電纜。倍頻程分析儀應符合有關標準的規定。
5.2 校準
每次測量前、后應用準確度優于±0.5dB的聲級校準器在一個或多個頻率上對整個測試儀器系統進行校準,聲級校準器應按JJG 176定期檢定。聲級計及其它測試儀器應按JJG 188定期檢定。
6 機組的安裝與運轉
6.1 機組的安裝
固定式機組應按有關技術條件要要求進行安裝,移動式機組應直接放置在反射地面上;所有的部件都應安裝完整。但不應額外增加隔振、隔聲和吸聲部件。
6.2 機組的運轉
機組應在穩定工況下連續運轉,對不同的機組作如下規定:
a) 對于制冷壓縮機、壓縮冷凝機組應在有關標準規定的名義制冷工況下運轉。
b) 對于房間風機盤管空調器、風冷冷凝器等,可僅在風機運轉的狀況下測試。
c) 其它機組運行工況按有關機組試驗方法的規定。
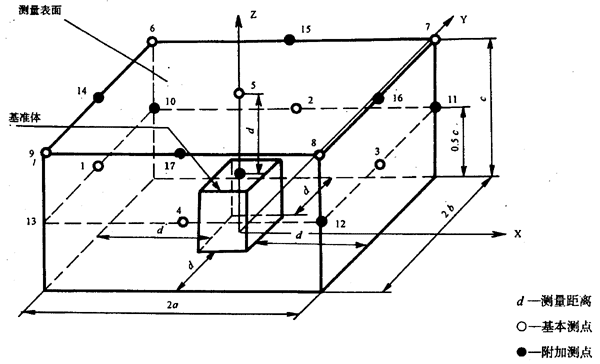
7 基準體和測量表面
7.1 基準體
基準體是一個恰好包絡被測機組并終止于反射平面上的最小矩形六面體。確定基準體時,對于機組上凸出的小部件(如連接管、拉手等)不予考慮。
7.2 測量表面
測量表面分為半球測量表面和矩形六面體測量表面[見附錄B(標準的附錄)中的圖B1和圖B2]。
7.2.1 半球測量表面
a) 對于全封閉、半封閉制冷壓縮機及尺寸較小的其它機組,選用半球測量表面。
b) 半球測量表面的中心就是基準體幾何中心在反射平面上的投影,半球測量面的半徑r應不小于特性距離d
0的兩倍,特性距離d
0按式(1)計算:

半球面半徑r優先選取1m或2m。如果d
0大于1m,則應選用7.2.2所述的矩形六面體測量表面。
c) 半球測量表面面積按式(2)計算:
S
1=2πr
2 ……………………………………(2)
式中:S
1——半球測量表面面積,m
2。
r——半球測量表面半徑,m。
7.2.2 矩形六面體測量表面
矩形六面體測量表面是位于反射平面上的與基準體幾何相似的矩形表面。測量表面與基準本對應面應平行且相距為d。測量距離d的規定按附錄A。優先選用的測量距離為1m。
測量表面面積按式(3)計算:
S
2=4(ab+ac+bc) ……………………………………(3)
式中:S
2——測量表面面積,m
2;
a、b——測量表面長、寬的一半,m;
c——測量表面的高,m。
8 聲壓級的測量
8.1 背景噪聲
8.1.1 下列情況之一,僅需在一個測點位置上測定背景噪聲:
a) 背景噪聲聲壓級比機組噪聲聲壓級低10dB以上;
b) 背景噪聲源遠離試驗場地;
c) 基準體最大尺寸小于1m。
否則,應在每一個測點位置上測量背景噪聲。
8.1.2 背景噪聲按表2進行修正,本標準要求測得的機組噪聲聲壓級與背景噪聲聲壓級之差應不小于6dB。
表2 dB

8.2 風速
測試時測點附近的風速應小于6m/s(相當于4級風)。當風速大于1m/s時應使用風罩。
8.3 測點位置
8.3.1 所有的測點位置都應在7.2所確定的測量表面上,附錄B中圖B1和圖B2給出了測量表面上測點位置,表B1和表B2給出了各測點的坐標。
8.3.2 半球測量表面上共布置10個測點(見圖B1和表B1)。
8.3.3 矩形六面體測量表面上的測點分為基本測點和附加測點,基本測點為9個,附加測點為8個(見圖B2和表B2)。
8.3.4 在下列情況下需附加測點:
a) 基準本的任一邊大于2d(d為測量距離);
b) 基本測點上測得的聲壓級最大值與最小值之差超過測點數;
c) 當被測機組很大或選用較小的測量距離時,應繼續增加附加測點,使測量表面上測點間距不超過2d,并均勻地分布。
8.3.5 測點數的減少
對某種型式的機組,如果通過測試表明減少若干測點測定的聲功率級與基本測點上測定的聲功率級之差在±1dB之內,則可以適當減少測點數。
8.4 測量
測量的傳聲器應正對被測機組方向。聲級計應采用“慢”時間計權特性測量。當聲級計指針擺動不大于±3dB時,取觀測時最大與最小聲壓級的平均值。A計權和中心頻率大于160Hz的倍頻程,觀測時間至少為10s;中心頻率小于160Hz的倍頻程,觀測時間至少為30s。
當聲級計指針擺動大于±3dB時,則:
a) 應當使用具有較長時間常數的模擬儀器或數字積分式聲級計進行測量:
b) 對周期變化的非穩態噪聲,用聲級計的“慢”時間計權特性測量,將一個周期內聲壓級及持續時間記錄下來,計算一個周期的能量平均值。
8.5 測量環境的修正
當測量環境中有不必要的反射物存在時,則對測量結果應加以修正,確定環境修正值K的方法見附錄A。
9 測量表面平均聲壓級和聲功率級的計算
9.1 表面平均聲壓級的計算

9.2 聲功率級的計算
聲功率級按式(5)計算:

10 測試記錄
測試記錄應包括如下內容,推薦的記錄表格形式見附錄E(提示的附錄)。
10.1 被測機組
a) 機組的型號、名稱,制造廠和出廠編號及其它有關參數;
b) 機組的測試工況參數。
10.2 聲學環境
應記錄反射平面情況、測試室體積、總表面及吸聲處理情況,并繪制聲源位置示意圖。對室外測量應記錄風速、測點離最近的反射物的距離等情況。
10.3 測試儀器
a) 儀器的型號、名稱、制造廠和出廠編號;
b) 儀器檢驗的日期和部門。
10.4 聲學數據
a) 基準體尺寸、測量表面的尺寸和表面積;
b) 測點位置,并繪制測點位置示意圖;
c) 各測點上A計權或倍頻程聲壓級;
d) 背景噪聲聲壓級和相應的修正值,按附錄A確定的環境修正值K;
e) 測量表面平均A計權或倍頻程聲壓級及計算得到的聲功率級。
10.5 氣象條件
溫度、相對濕度和大氣壓力。
10.6 測試人員、時間、地點及其它需要說明的情況。
11 測試報告
測試報告包括如下內容,推薦的測試報告表格形式見附錄E。
a) 機組型號、名稱、制造廠和出廠編號;
b) 測試工況;
c) A計權聲功率級及倍頻程聲功率級;
d) 報告應注明是根據本標準進行測定的。
附錄A
(標準的附錄)
測試環境的鑒定方法
A1 概述
本附錄規定了用絕對比較法和混響時間法確定環境修正值K。
A1.1 在下列情況下可不進行環境修正(即K=0):
a) 距任一測點位置10m之內沒有反射物的室外場地;
b) 按有關標準鑒定合格的半消聲室。
注:聲反射物主要指建筑物和一些較大的設備,對于靠近聲源的障礙物的寬度(如樁、柱子的直徑)大于它距聲源距離的十分之一時,則認為是聲反射物。
A1.2 環境修正值K
a) 本標準要求環境修正值K不大于2dB;
b) 如測得K值大于2dB,可采用吸聲措施或適當減少測量距離來減小環境修正值。但測量距離應不小于0.5m;
c) 當K值大于2dB且小于7dB,按本標準給出的測試程序測定A計權聲功率級,如用于同類機組在相同的測試環境中聲功率級的比較,其標準偏差不大于3dB。
A2 絕對比較法
A2.1 方法

聲功率級按式(5)計算(式中令K=0),則K值由式(A2)求得:
K=L
W-L
W0 ………………………………(A2)
式中:K——環境修正值,dB;
L
W——現場測得的標準聲源的聲功率級(不需要環境修正項),dB(基準值為1pW);
L
W0——標準聲源標定的聲功率級,dB。
A2.2 標準聲源的放置
根據不同情況,標準聲源的放置分替代法、頂置法和側置法三種。
a) 替代法
當被測機組能從測試場地移開時,采用替代法。標準聲源放置點為基準體幾何中心在反射面上的投影;
b) 頂置法和測置法
對現場安裝的機組,不能從測試場地移開時,可采用頂置法或側置法進行現場測試。頂置法是將標準塊源放置在被測機組的頂面上;側置法是將標準塊源放置在機組各側面的中間。采和頂置法或側置法時,機組表面應是完全聲反射的。當需要用其它物件支承標準聲源時,支承物表面應不大于標準聲源底部的尺寸。
A3 混響時間法
本方法適用于形狀近似于立方形的室內環境(最大與最小尺寸之比小于3),環境修正值按式(A3)計算:
K=10lg[1+4/(A/S)] ……………………………………(a3)
式中:K——環境修正值,dB;
S——測量表面面積,m
2;
A——房間的總吸聲量,m
2。
房間的總吸聲量通過測量混響時間獲得,按式(A4)計算:
A=0.16(V/T) …………………………………………(A4)
式中:V——房間的容積,m
3;
T——倍頻程混響時間,s。
混響時間的測量參見有關標準,當采用本方法時,A計權聲功率級由第A4章的方法合成。
A4 倍頻程聲功率級合成A計權聲功率級的方法
倍頻程聲功率級合成A計權聲功率級按式(A5)計算:

表A1 倍頻程中心步頻的A計權衰減量

附錄B
(標準的附錄)
基準體、測量表面及測點位置
B1 半球測量表面上測點位置見圖B1及表B1。

圖B1
表B1

B2 矩形六面體測量表面及測點見圖B2和表B2。

圖B2
表B2

附錄C
(標準的附錄)
制冷和空調設備噪聲聲壓級的測量
C1 適用范圍
本附錄規定了制冷和空調設備噪聲聲壓級的測量方法。
C2 測量環境
測量環境為一個反射平面上的半自由聲場,被測機組的噪聲與背景噪聲之差應為6dB以上;若不能滿足時,可采用隔聲措施降低背景噪聲;對于小于10dB的,應按8.1.2進行修正。
C3 測量儀器
測量儀器應符合5.1的規定,并按5.2進行校準。
C4 機組的安裝與運轉
機組的安裝按6.1的規定,并按6.2的要求運轉。
C5 測點位置
按8.3.3規定的1~4點的位置點,當機組高度不超過1m時,其測點高度為1m;當機組高度大于1m時,其測點高度為1.5m。對于大型機組,可按8.3.4的規定增加附加測點,其測點高度為1.5m。當某測點處于機組的出風口或冷卻風扇位置處,風速大于4級時,可在偏離風口45℃處進行測量。
C6 測量方法
測量方法按8.1、8.2和8.4的規定進行。
C7 聲壓級的計算
按式(4)計算機組的平均聲壓級。
附錄D
(標準的附錄)
空調機(器)噪聲聲壓級的測量
D1 適用范圍
本附錄規定了空調機(器)的噪聲聲壓級測定方法。
D2 測試環境
測試環境應為反射平面上的半自由聲場,被測機組的噪聲與背景噪聲之差應為6dB以上;對于小于10dB的,應按8.1.2進行修正。
D3 測量儀器
測試儀器應符合5.1的規定,并按5.2進行校準。
D4 運行條件
機器應按有關技術條件要求安裝在臺架上。在額定電壓、額定頻率下穩定運行,運行條件應接近技術條件規定的工況條件下運行。但分體式機組在制冷循環的噪聲可忽略不計的情況下,也可采用通風狀態下測定室內機組噪聲。對于帶有調速裝置的機組,應分別測量各檔的噪聲。
D5 測點位置
D5.1 室內側
在圖D1~圖D7所示的位置進行測量,機組應在調至最大噪聲點的工況下進行測量。
a) 立柜式空調機(制冷量小于或等于28000W),見圖D1。

圖D1 立柜式
b) 制冷量大于28000W的立柜式空調機,取正面和兩側面三個測點,距離為1m,高度為1m,三點讀數按式(4)進行平均,見圖D2。

圖D2 立柜式
注:對帶風管的機組,應在排風側連接帶2m長阻尼器的風道,加額定的機外靜壓進行測定。
c) 吊頂式,見圖D3。

圖D3 吊頂式
d) 掛壁式,見圖D4。

圖D4 掛壁式
e) 天花板埋入式(暗裝),見圖D5。

圖D5 天花板埋入式(暗裝)
樣機狀態;
在安裝了吸入面板、吸氣風道的狀態下,為避免排風的影響,應接入一個2m長的阻尼風道,給排風道加一個額定的機外靜壓。
f) 天花板埋入式(明裝),見圖D6。

圖D6 天花板埋入式(明裝)
g) 天花板埋入式(輔助風道),見圖D7。
測定位置在垂直機體下方的中央。

D7 天花板埋入式(輔助風道)
樣機狀態:
分別在排風口加2m、進氣口加1m輔助阻尼風道,排風口加額定的機外靜壓,調節靜壓使測定在不受影響的狀態下進行。
D5.2 室外側
a) 測出風
在機組正面和兩側面,距機組1m(見圖D8),其測點高度為機組高度加1m的總高的1/2處三個測點,并按式(4)進行平均。

圖D8 平面圖
b) 頂出風
在機組四面、距機組1m處(見圖D9),其測點高度為機組高度加1m的總高度的1/2處四個測點。

圖D9 平面圖
D6 測量方法
按8.1、8.2和8.4的規定進行,并按式(4)計算平均聲壓級。
附錄E
(提示的附錄)
記錄表格及測試報告形式
E1 記錄表格形式見表E1:
表E1 噪聲測試記錄

表E1(完)

E2 測試報告的形式見表E2:
表E2 噪聲測試報告
下列測量是按JB/T 4330—1999進行的。 基準聲功率:1pW