目次
前言
IEC 前言
1 范圍
2 定義
3 總體要求
4 試驗的一般條件
5 空章
6 分類
7 標志和說明
8 對觸及帶電部件的防護
9 電動器具的啟動
10 輸入功率和電流
11 發熱
12 空章
13 工作溫度下的泄漏電流和電氣強度
14 空章
15 耐潮濕
16 泄漏電流和電氣強度
17 變壓器和相關電路的過載保護
18 耐久性
19 非正常工作
20 穩定性和機械危險
21 機械強度
22 結構
23內部布線
24 元件
25 電源連接和外部軟線
26 外部導線用接線端子
27 接地措施
28 螺釘和連接
29 爬電距離、電氣間隙和穿通絕緣距離
30 耐熱、耐燃和耐漏電起痕
31 防銹
32 輻射、毒性和類似危險
圖101 濺水裝置
附錄
前言
GB4706本部分的全部技術內容為強制性。
本部分等同采用IEC60335-2-42:1994《家用和類似用途電器的安全 第2部分:商用電強制對流烤爐、蒸汽飲具和蒸汽對流爐的特殊要求》(第三版)。
IEC60335-2-42第三版替代IEC60335-2-42:1987《家用和類似用途電器的安全 第2部分:商用強制對流電灶的特殊要求》第二版及其修改件第1號(1990),還替代IEC 60335-2-46:1986《家用和類似用途電器的安全 第2部分:商用電蒸鍋的特殊要求》及其修改件第1號(1990)。對于前者,我國尚未制定對應的國家標準,而后者對應的國家標準是GB4706.34-1996《家用和類似用途電器的安全 商用電蒸鍋的特殊要求》。因此,本部分包括了對GB4706.34-1996 的修訂。
本部分應與GB4706.1-1998《家用和類似用途電器的安全 第一部分:通用要求》配合使用。
本部分中寫明“適用”的部分,表示GB4706.1-1998中的相應條文適用;本部分中寫明“代替”的部分,則應以本部分中的條文為準;本部分中寫明“修改”的部分,表示GB 4706.1-1998相應條文中的相關內容應以按本部分修改后的內容為準,而該條文中的其他內容仍適用;本部分中寫明“增加”的部分,表示除要符合GB4706.1-1998的相應條文外,還應符合本部分中所增加的條文。
在技術內容方面,本部分適用蒸汽炊具的相關內容與GB4706.34-1996有下列主要差異:
——關于適用范圍,增加了本部分不適用其烹飪過程不僅直接使用蒸汽接觸,而且也可以將食物部分或全部浸入液體的器具(本版第1章);
——將“蒸鍋”術語修改為“蒸汽炊具”(1996年版2.2.101;本版2.2.102);
——將“大氣蒸鍋”術語修改為“常壓蒸汽炊具”(1996年2.2.102;本版2.2.103);
——將“汽蒸隔間”術語修改為“烹飪隔間”(1996年2.2.105;本版2.2.107);
——對裝有電動機器具試驗條件的規定有差異(1996年版4.101;本版4.101);
——增加了等電位圖形符號和標注等電位符號的規定(本版7.6,7.102);
——增加了安裝說明中應包括關于防護電擊、有害進水和泄漏電流等具體內容的規定(本版7.12.1);
——增加了對適用電動機最長啟動時間的規定;取消了除降溫風扇電動機啟動試驗以外其他電動機試驗內容(1996年版第9章;本版9.1);
——增加了對質量大于40kg且未裝滾輪或類似裝置器具的相關規定(本版11.2);
——增加了如果電動機、變壓器或電子電路的溫升超過限值,則器具在1.06倍額定電壓下重復試驗的規定(本版11.4);
——增加了關于器具烹飪隔間底面上溢水的試驗規范(本版15.2);
——取消了耐久性這一章內容(1996年版第18章;本版第18章);
——器具在無水條件下工作的試驗規范有差異(1996年版19.2;本版19.2);
——取消了非正常工作試驗中關于符合IEC標準的接觸器不開路或短路的規定(1996年版19.4;本版19.4);
——增加了關于托架小車的制動要求和附加試驗規范(本版20.1);
——增加了關于器具打開門加載時穩定性的要求和試驗規范(本版20.101);
——將試驗期間壓力釋放裝置應工作以防器具內壓力超過額定壓力10%修改為20%(1996年版22.28;本版22.7);
——增加了關于球頭型和毛細管型熱斷路器毛細管斷裂的有關要求和試驗(本版22.102);
——增加了關于機械危險防護的連鎖裝置、壓力釋放裝置,以及大尺寸烹飪隔間的門等結構方面的具體規定(本版22.103,22.112,22.113,22.114,22.115,22.116);
——取消了關于便于檢修電器和連接輔助裝置方面的內容(1996年版22.105);
——將器具受壓部件靜水壓試驗壓力等于1.3倍額定壓力修改為1.5倍(1996年版22.111;本版22.111);
——增加了控溫器毛細管彎曲試驗的相關規定(本版23.3);
——將“元件”一章中關于熱斷路器應從電源全極斷開的內容調整到“結構”一章(1996年版24.11;本版22.102);
——增加了關于永久連接固定布線接線端子的相關要求(本版25.3)。
本部分正文中非標題的黑體字在第2章中定義。
本部分的附錄屬性按GB4706.1-1998 中附錄屬性的規定。
本部分中增加的條文、注釋和圖表自101起編號。
本部分由中國商業聯合會提出。
本部分由全國家用電器標準化技術委員會商用電氣飲食加工服務設備分委員會歸口。
本部分起草單位:國家飲食服務機械質量監督檢驗中心、杭州商學院。
本部分主要起草人:洪詠平、傅玉穎、張誠彬、夏曉立、詹玉蘭。
IEC 前言
1)國際電工委員會(IEC)是由各會員國電工委員會(IEC各國家委員會)組成的全球性標準化組織。IEC的任務是促進電工和電子領域內標準化有關的一切議題的國際合作。為此目的,IEC除了開展其他活動外,還頒布國際標準。其制定工作委托給各技術委員會。任何對所涉及問題感興趣的IEC國家委員均可參與這項工作。與IEC有聯系的國際組織、政府機構和民間團體也可以參加。IEC與國際標準化組織(ISO)根據這兩個組織間的協議所規定的條件密切合作。
2)由所有對此關切的國家委員會參加的技術委員會制定的IEC有關技術問題和正式決議或協議,盡可能接近地表達了對所涉及的問題在國際上的一致意見。
3)它們提出的標準、技術報告或手冊以推薦的形式供國際上使用,并在此意義上為各國家委員會所接受。
4)為了促進國際上的統一,IEC各國家委員會同意盡可能地把IEC國際標準明白無誤地應用到國家和地區的標準中去。IEC標準與相應國家和地區標準之間的任何不一致,應在國家和地區標準中明確闡明。
5)IEC不提供認可標記,也不對任何聲稱符合其標準之一的設備承擔責任。
IEC60335系列標準的本部分是由IEC第61“家用和類似用途電器的安全”技術委員會所屬第61E“商用電氣飲食加工服務設備的安全”分委員會制定。
它構成IEC60335-2-42的第三版,替代1987年出版的第二版和修改件第1號(1990)。還替代1986年出版的IEC60335-2-46及其修改件第1號(1990)。
本標準的文本以下列文件為依據:

關于投票表決批準本標準的詳細情況,可在上表中指出的表決報告中查明。
本第二部分是準備與IEC60335-1的最新版本及其修改件結合使用,它是建立在該標準第三版(1991)的基礎上制定的。
本第二部分補充或修改IEC60335-1的對應條款,以便轉化為IEC標準:商用電強制對流烤爐、蒸汽炊具和蒸汽對流爐的安全要求。
如第一部分的個別條款在本第二部分未提到時,如果合理,該條款仍然適用。在本標準中說明“增加”、“修改”或“代替”時,第一部分中有關正文應作相應修改。
注:在本標準中:
1) 使用以下印刷字體;
——要求本身:羅馬體;
——試驗規范:斜體;
——說明事項:小羅馬體。
正文中的黑體字在第2章中定義。
2) 對IEC60335-1增加的條款、注釋和圖表應自101起開始編號。
1 范圍
GB4706.1-1998中的該章用下述內容代替:
GB4706的本部分涉及不作家庭使用的商用電強制對流烤爐、蒸汽炊具、蒸汽對流爐和蒸氣發生器的安全。對于連接一條相線和中線的單相器具,其額定電壓不超過250V,其他器具不超過 480V。
注1:這些器具用于如餐館、食品店、醫院的廚房和諸如面包房、肉食店之類的商業企業。
利用其他能源形式的器具,其電氣部分也在本部分范圍之內。
本部分從實際出發涉及這類器具所引起的常見危險。
注2:以下情況應予注意:
——對于專供在車輛、船舶或航空器上使用的器具,允許有必要的附加要求;
——對于專供在熱帶國家使用的器具,允許有必要的特殊要求;
——應考慮許多國家的國家衛生、勞動保護、供水和其他類似權力機構所規定的附加要求;
——應考慮許多國家對壓力器具提出的附加要求。
本部分不適用于:
——烹飪過程不僅直接使用蒸汽接觸而且也可以將食物部分或全部浸入液體的器具;
——專為工業用途而設計的器具;
——在有腐蝕性或爆炸性空氣(粉塵、蒸汽或可燃氣)等特殊狀態場所使用的器具;
——供大量生產食品用連續作業的器具;
——微波爐;
——帶有電極加熱器的器具。
2 定義
GB4706.1-1998中的該章除下述內容外,均適用。
2.2.4 該條增加下述內容:
注:額定輸入功率是器具內可以同時工作的所有單個元件輸入功率的總和;可能存在幾種這樣的組合時,用最大輸入功率組合來確定額定輸入功率。
2.2.9 該條用下述內容代替:
正常工作 normal operation
器具在下列條件下工作:
干熱方式
器具在所有托架或托架小車放在與制造廠使用相應位置的情況下不加負載工作。將周期控制器調到使爐內每個使用空間幾何中心的平均溫度保持在220℃±4℃,分級控制器的這一溫度調到220℃±15℃。
如果爐溫達不到220℃,則將控制器調到最大限值。
如果爐溫能超過270℃,則將控制器調到使平均溫度比可能達到的最高溫度低50℃±4℃.
單獨汽蒸方式。
使器具按制造廠使用說明在將所有由用戶操作的控制器調到最大限值的情況下運行,直達到工作溫度。然后,如果可能,將它們再調整到保持該溫度的最低整定值。
裝了打算用手加水或手操作開關注水的蒸汽發生器的器具,將其注水至蒸汽發生器上標明的標示液位。
如果屬于自動注水,則將其連接到制造廠指定壓力的水源上。制造廠規定了壓力范圍時,則將壓力調到最不利狀態。
進水溫度應保持在:
——打算同冷水水源連接的器具,水溫為15℃±5℃;
——打算只同熱水水源連接的器具,水溫為60℃±5℃或說明書標明的溫度,兩者中取較高者。
注1:如果器具即可同冷水水源又可同熱水水源連接,則取產生最不利結果的一種水溫。
蓋、門及罩放在正常位置并關閉。
器具烹飪隔間裝有水負載,水的初始溫度為15℃±5℃,負載量按制造廠標明的最大食品裝載量0.5L/kg。所裝的水負載均勻分布在各托架或托盤內。
注2:由于托盤可以帶孔以便蒸氣流通,可將水裝在合適的容器內,再將容器均勻分裝在各托架或托盤內。
組合方式
器具按單獨汽蒸方式工作,但同時開動用于加熱烹飪隔間的各強制對流風機和組件,并將溫度控制器按干熱方式調整。
在上述所有情況下,裝在器具內的電動機,考慮到制造廠的說明,在正常使用時可能出現的最嚴酷條件下,按預期的方式運行。
2.2.101
強制對流烤爐 forced convection oven
一種打算用于在烹飪隔間內由通過機械方法循環流動的熱空氣來烹制食品的器具。烹飪隔間內的壓力與大氣壓沒有顯著差別。
2.2.102
蒸汽炊具 steam cooker
一種打算用于只通過直接蒸汽接觸方法來烹制食品的器具。烹飪隔間內的壓力能超過大氣壓力。
2.2.103 常壓蒸汽炊具 atmospheric steam cooker
一種其烹飪隔間內的壓力與大氣壓力沒有顯著差別的器具。
2.2.104 蒸汽對流爐 steam-convection oven
一種既可以用直接蒸汽接觸方式也可以在烹飪隔間內通過機械方法循環流動熱空氣方式或兩種方式的組合來烹制食品的器具。烹飪隔間內壓力與大氣壓力沒有顯著差別。
2.2.105
額定壓力 rated pressure
制造廠對器具受壓部件規定的蒸汽炊具和蒸汽發生器的最大工作壓力。
2.2.106
蒸汽發生器 steam generator
明確用于產生全部供烹飪隔間使用的蒸汽的器具部件。
注:蒸汽發生器可以組合在烹飪隔離間內,可以遠離烹飪隔間組合在同一個箱體內,或作為一個獨立的單元,為一個或多個烹飪隔間提供蒸汽。
2.2.107
烹飪隔間 cooking compartment
器具內進行烹飪或食品熱加工的部分。
2.2.108
標示液位 indicated level
為正確操作而標示在器具或蒸汽發生器上的最高液位線。
3 總體要求
GB4706.1-1998中的該章除了下述內容外,均適用。
該章增加下述內容:
注101:器具中性線的直流分量是限定的。(澳大利亞)
4 試驗的一般條件
GB4706.1-1998 中的該章除下述內容外,均適用。
4.101 器具限使裝有電動機也仍然作為電熱器具進行試驗。
4.102 與其他器具聯合組裝或裝有其他器具的器具,按照本標準的要求進行試驗。其他器具則按有關標準的要求同時工作。
如果將整臺器具或其一部分使用于不同標準所包括的不同功能,則有關標準分別應用于各自的功能,直到合理。
5 空章
6 分類
GB4706.1-1998中的該章除下述內容外,均適用。
6.1 該條用下述內容代替:
關于電擊防護類別,器具應屬I類。
通過視檢和有關試驗來確定是否合格。
注:0I類器具是正式承認的。(日本)
6.2 該條增加下述內容:
注101:對于安裝在廚房中的器具,根據其安裝高度,要求具有阻擋有害進水的適當防護等級。(法國)
6.101 根據防備因安裝條件造成溫升的保護程度,器具應分類如下:
——單獨安裝的器具;
——安裝在一組其他器具內的器具。
注:目前對于安裝在一組其他器具內的器具尚無附加要求。
7 標志和說明
GB4706.1-1998中的該章除下述內容外,均適用。
7.1 該條增加下述內容:
另外,器具上應標明:
——打算與水源連接的器具或蒸汽發生器,其水壓或壓力范圍用kPa表示,但已在說明書內注明者除外:
——額定壓力,用kPa表示,標示在器具的受壓部件上。
7.6 該條件增加下述內容:
增加下列符號:

7.12 在蒸汽炊具和蒸汽對流爐的說明書中還應括用kg表示的最大食品裝載量。
7.12.1 該條用下述內容代替:
器具應附有說明書,詳細說明安裝時必需的專門預防措施。用戶維護保養,如清洗等,也應提供說明。
當器具與其他器具組合安裝或固定在安裝墻上時,應提供詳細的防護措施和要求,以防電擊和有害進水。如將一臺以上器具的控制裝置組合在一處單獨的外殼內,應提供詳細的安裝說明。
對于與固定布線永久連接及其泄漏電流可能超過10mA的器具,尤其是長期處于斷開狀態或停用,或初次安裝時,說明書應提供關于打算安裝的保護裝置,即接地漏電保護繼電器額定值的建議。
如器具不屬防噴射結構,應隨同器具向用戶提供明確詳細的說明,說明中應規定本器具不得使用噴射水流清洗。
通過視檢來確定是否合格。
7.101 用手或人工操作開關注水的器具和蒸汽發生器上應標明標示液位。
通過視檢來確定是否合格。
7.102 等電位連接端子應標注等電位符號。(見7.6)
這些標志不應放在螺釘、可拆下的墊圈或進行導線連接時可能被拆下的其他部件上。
通過視檢來確定是否合格。
8 對觸及帶電部件的防護
GB4706.1-1998中的該章內容,均適用。
9 電動器具的啟動
9.1 為符合第11章要求用于降溫的風扇電動機,應能在實際使用中可能出現的所有電壓條件下啟動。
是否合格通過在0.85倍額定電壓下啟動電動機三次來檢驗,試驗開始時電動機處于室溫狀態。
每次啟動都應在電動機準備開始正常工作的條件下進行;對于自動器具則應在正常工作周期開始的條件下進行。在連續兩次啟動之間,使電動機能達到靜止狀態。配備的電動機裝的不是離心啟動開關時,應在1.06倍額定電壓下重復進行上述試驗。
在上述所有情況下,電動機都應能啟動,并應不影響安全的方式運行,其過載保護裝置不應動作。
注1:在試驗期間,電源電壓降不應超過1%。
注2:僅用于對流風機的電動機不認為是用于降溫的。
10 輸入功率和電流
GB4706.1-1998中的該章除下述內容外,均適用。
10.1 該條增加下述內容:
注101:對于具有一個以上電熱元件的器具,其總輸入功率可通過分別測量各電熱元件的輸入功率來確定。(見2.2.4)
11 發熱
GB4706.1-1998中的該章除下述內容外,均適用。
11.2 該條增加下述內容:
——固定在地板上的器具和質量大于40kg 而未裝配滾輪、腳輪或類似裝置的器具,按照制造廠的說明進行安裝。如未提供說明,則認為這些器具通常是放置在地面上使用的。
——單獨的烹飪隔間和蒸汽發生器按制造廠的說明書裝配,并以會在相互間和對環境有最不利影響的方式定位于測試角內。
11.4 該條用下述內容代替:
器具在正常工作條件下,使其總輸入功率為額定輸入功率的1.15倍。如果不可能同時接通所有加熱元件,則試驗在開關配置允許的每一組合下進行,并使線路中存在與每一開關配置一致的可能達到的最高負載。
如果器具配備有限制總輸入功率的控制器,則試驗以該控制器可以選擇的施加最嚴酷條件的任何一種電熱元件組合來進行。
如果電動機、變壓器或電子電路的溫升超過限值,則器具在1.06倍額定電壓下重復進行試驗。在此情況下,只測量電動機、變壓器和電子電路的溫升。
11.7 該條用下述內容代替:
使器具按下述條件工作:
在烹飪隔間內裝有蒸汽發生器的器具按連續周期運行,直至建立穩定狀態。每個周期包括一個工作階段,接著一個時間絕對足夠但不超過5min的靜止階段,以更換水負載;打算人工注水的蒸汽發生器內的水位,如必要,按制造廠的說明恢復到標示液位。
工作階段等于制造廠說明的最長烹飪時間,如果沒有說明,則等于器具達到最高溫度狀態所需時間。
接通帶有單獨蒸汽發生器器具的電源,使它運行,直到蒸汽發生器建立穩定狀態。此后,器具再按上述條件運行。
使其他器具工作直至建立穩定狀態。
11.8 試驗期間壓力釋放裝置不應工作。
12 空章
13 工作溫度下的泄漏電流和電氣強度
GB4706.1-1998中的該章除下述內容外,均適用。
13.2 該條內容作下述修改:
用下述內容代替I類駐立式器具泄漏電流的允許值:
——軟線和插頭連接的器具:按器具額定輸入功率1mA/kW,最大限值10mA;
——其他器具:按器具額定輸入功率1mA/kW,無最大限值。
注101:泄漏電流的限值是不同的。(日本)
該條增加下述內容:
在器具裝有Ⅱ類或Ⅲ類結構部件時,這些部件的泄漏電流不應超過GB4706.1中給出的數值。
14 空章
15 耐潮濕
GB4706.1-1998中的該章除下述內容外,均適用。
15.1.1 該條增加下述內容:
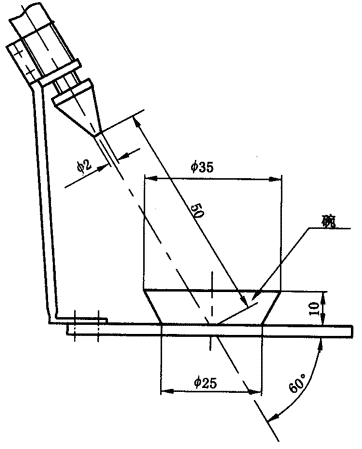
此外,IPX0、IPX1、IPX2、IPX3和IPX4器具均應經受下述濺水試驗5min。
采用圖101所示的裝置。試驗期間,水壓應調整到使水從碗底濺起150mm。對通常在地面上使用的器具,碗放在地面上;對所有其他器具,碗放在一個低于器具最低邊50mm的水平支承面上,然后使碗圍繞器具移動,以便使水能從各個方向濺到器具上。應注意水流不得直接向器具噴射。
15.1.2 該條內容作下述修改:
通常在桌面上使用的器具,要放在一個支承面上,該支承面每邊尺寸比器具在支承面上的正投影尺寸大15cm±5cm。
15.2 該條用下述內容代替:
器具的結構應使其在正常使用中液體的溢出不會影響其電氣絕緣。
通過下述試驗來確定是否合格:
X型連接的器具,除裝有專門制備的軟線者外,均應裝上允許的最輕型柔性電纜或26.2規定的最小截面積的軟線。其他器具按交貨狀態進行試驗。
可拆卸部件均取下。
將1L約含1%氯化鈉(NaCl)的冷水,用1min時間,均勻傾倒在烹飪隔間的底面上。
用手注水器具的水容器,全部用水注滿,再將等于其容量15%的增加量,用1min時間,均勻注入容器。
將打算由手動開關注水或自動注水器具的水容器連接到具有制造廠需要的最大供水壓力的水源上。控制進水的裝置保持全部打開,在一出現溢流現象后繼續注水1min,或直到保護裝置啟動,停止進水為止。
此外,帶有自動注水器或噴水系統并打算與總水管永久連接的強制對流烤爐,在限制進水的諸如水位控制器、流量控制器等方法變得不起作用的最不利條件下進行5min。如果風機電動機可以單獨運行,在加熱元件接通或斷開情況下運行,取最嚴酷條件。
試驗時,器具連接到具有制造廠需要的最大供水壓力的水源(無鹽)上。
如果裝有多個控制器,則試驗在每個控制器依次變得不起作用的情況下重復進行。
器具應經受16.3規定的電氣強度試驗,并視檢應證明可能進入器具內的水不損害對本部分的符合程度,特別是29.1規定了爬電距離和電氣間隙的絕緣體上不應有水跡。
15.3 該條增加下述內容:
注101:如果不可能將整臺器具放進潮濕箱內,則含有電氣元件的部件進行單獨試驗,但要注意器具內出現的情況。
15.101 為注水或清洗之用而配備了水開關的器具,在結構上應使從水開關流出的水不可能接觸帶電部件。
通過以下試驗來確定是否合格:
將器具連接到具有制造廠需要的最大供水壓力的水源上,進水開關全部打開1min。可傾斜和可移動部件,包括蓋子,都斜置或放置在最不利位置上。調整水開關可旋轉出水管的位置,使水流向會產生最不利的結果的那些部件上。緊接上述處理,器具應經受16.3規定的電氣強度試驗。
16 泄漏電流和電氣強度
GB4706.1-1998中的該章除下述內容外,均適用。
16.2 該條內容作下述修改:
用下述內容代替I類駐立式器具泄漏電流允許值:
——對軟線和插頭連接的器具:按器具額定輸入功率2mA/kW,最大限值10mA;
——其他器具:按器具額定輸入功率2mA/kW,無最大限值。
注101:泄漏電流的限值是不同的。(日本)
17 變壓器和相關電路的過載保護
GB4706.1-1998中的該章內容,均適用。
18 耐久性
GB4706.1-1998中的該章內容,均不適用。
19 非正常工作
GB4706.1-1998中的該章除下述內容外,均適用。
19.1 該條增加下述內容:
任何一個控制器或開關裝置,打算用于器具同一部件的不同功能對應的不同調整位置,而這些功能又涉及不同標準時,可以不考慮制造廠提供的說明,將其調整到最不利位置。
裝有在第11章試驗期間限制壓力的控制器的器具也要經受19.4的試驗。
注101:壓力釋放裝置的連續放氣本身可忽略不計。
19.2 該條內容作下述修改:
用下述內容替代第一句:
干熱方式:
器具按第11章規定的條件進行試驗,但使風機電動機不起作用。
注:如果有多個風機電動機,則依次使其不起作用。
單獨汽蒸方式和組合方式:
器具按第11章規定的條件但不裝水負載并且關閉所有門或蓋進行試驗。用手加水的蒸汽發生器無水工作。用手操作開關或自動注水的蒸汽發生器,將水源關閉,在蒸汽發生器水干的情況下工作。
19.3 該條增加下述內容:
將器具內為正確工作而預置在正常位置但不鎖定的所有可調溫度控制器壓力控制器調整到最不利位置。
19.4 該條增加下述內容:
注101:正常使用時,用來接通或斷開電熱元件的接觸器的主觸頭鎖定在“通(ON)”的位置。如果兩個接觸器彼此獨立工作,或者一個接觸器控制兩組獨立的主觸頭,則這些觸頭輪流鎖定在“通(ON)”的位置。
19.7 該條內容作下述修改:
用下述內容代替表格前面的正文:
將電動機的運動部件和風機組件鎖住,使器具從冷態啟動并在額定電壓或額定電壓范圍上限下正常工作,直至建立穩定狀態,或者,如果有定時器,則持續到定時器允許的最長時間。
注1:如果器具有一個以上電動機,則試驗在每臺電動機上分別進行。
注2:對保護式電動機單元的替代試驗在附錄D中給出。
帶有電動機,并在其輔助繞組電路中有電容器的器具,使其在轉子堵轉、并在每次斷開其中一個電容器的條件下工作。除非這些電容器符合GB3667,否則器具在每次短路其中一個電容器的條件下重復進行試驗。
注3:鎖住轉子進行試驗,是因為某些帶電容器的電動機可能啟動或可能不啟動,而導致獲得不定的結果。
試驗期間,繞組的溫度不應超過表6中所示的值。
19.8 該條增加下述內容:
通過19.7的檢查來確定是否合格。
20 穩定性和機械危險
GB4706.1-1998中的該章除下述內容外,均適用。
20.1 該條增加下述內容:
罩、蓋和附件應放在最不利位置。
托架小車應經受下述附加試驗:
小車按制造廠的說明加載并放在對水平面傾斜10°的平面上。使用制動機構,小車移動不應超過100mm。
注101:液體的濺出可以忽略。
20.2 在第一要求段后增加下述內容:
本條也適用于操作部件,如手柄或輪子。
該條增加下述內容:
烹飪隔間的門打開時風機電動機也能工作的器具,其電動機和風機組件的運動部件應加以調整或圍護,為正常使用,包括清洗,提供防備傷害的充分保護。
應不可能觸及風機的運動部件。
通過用GB4706.1-1998中圖3所示試驗探棒施加10N的力來確定是否合格。
20.101除了打算固定在地面上使用的器具以外,其他器具在將門打開加載時,應具有足夠的穩定性。
通過下述試驗來確定是否合格:
將底邊裝有水平鉸鏈的門打開,在門的表面上緩慢加載一重物,使其重心垂直落在門的幾何中心上,并使重物的接觸區不可能造成門的損壞。
重物的質量如下:
——通常在地面上使用的器具:
•烹飪隔間的門:23kg或按制造廠烹飪說明能放入烹飪隔間內的更大重量;
•其他的門:7kg。
——通常在桌面或類似支承面上使用的器具,其門底邊用水平鉸鏈連接,從鉸鏈到門開啟邊的水平投影距離至少為225mm:
•7kg或按制造廠烹飪說明能放入烹飪隔間內的更大重量。
在其烹飪隔間底面不高于正常工作面位置的帶有垂直鉸鏈的門,都打開90°,然后在門的頂部離鉸鏈最遠處,緩慢施加一140N向下的力。
將門盡量開大,但不超過180°,重復進行本試驗。
試驗過程中器具不應傾斜。
注:可用砂袋作為重物。
對于裝有一扇以上門的器具,對每扇門分別進行試驗。
對于非矩形的門,將力作用在正常使用時可能施加這種力的離鉸鏈最遠的位置。
20.102 為了滿足20.2的要求,裝在電動機和風機組件處的防護裝置不應是可拆卸部件,除非有以下情況:
——裝有適當的連鎖裝置,能防止在除去防護裝置的情況下電動機或風機運轉;
——防護裝置構成爐內膽的組成部分。
通過視檢或手動試驗來確定是否合格。
21 機械強度
GB4706.1-1998中的該章除下述內容外,均適用。
該章增加下述內容:
注101:對于打算安裝在廚房中的器具,根據沖擊點的高度,可采用不同的沖擊能量值。(法國)
21.101 托架的設計應使其無論在烹飪隔間內或深度的50%伸出在外時,都不會從支承架上脫落。當其50%伸出在外時,托架不應傾斜。
通過下述試驗來確定是否合格。
在相當于托架面積75%的餅狀盒或類似容器里,裝進均勻分布的重物,其總質量按餅狀盒面積40kg/m
2計算。餅狀盒居中放在托架上,再將托架插進烹飪隔間的支承架上。托架盡可能移到支承架左邊,停留1min后取出。再將架插入支承架并移到極右端,停留1min后再取出。
試驗期間,托架不應從支承架上脫落。
然后,將托架深度的50%伸出在外,重復此項試驗。在托架外露的前部邊緣中間,垂直向下施加一10N的附加力。試驗期間,托架不應傾斜。
注:允許有小角度的偏斜。
22 結構
GB4706.1-1998中的該章除下述內容外,均適用。
22.7 該條用下述內容代替:
工作壓力高于大氣壓力(過壓)的蒸汽炊具和蒸汽發生器,應裝有適當的壓力釋放裝置以防超壓。
使器具在額定輸入功率下工作,同時使壓力控制器不起作用,來確定是否合格。
在此試驗期間,壓力釋放裝置應工作以防止器具內壓力超過額定壓力20%。
22.101 器具應加以保護,使從烹飪隔間排氣口排出的水分和油脂或沉積物不致積聚到足以影響爬電距離和電氣間隙數值的程度。
通過視檢來確定是否合格。
22.102 用于保護帶有電熱元件電路和保護意外啟動會引起危險的電動機電路的熱斷路器,應為非自復位、自由脫扣類型,并應能從電源全極斷開。
在第19章試驗期間動作的球頭型和毛細管型熱斷路器,應使毛細管的斷裂不影響對19.13要求的符合。
通過視檢、手動試驗和折斷毛細管來確定是否合格。
注:注意確保折斷時不使毛細管封閉。
22.103 指示危險、報警或類似情況的信號燈、開關或按鈕只應是紅色的。
通過視檢來確定是否合格。
22.104 蒸汽炊具和蒸汽發生器的工作壓力不應超過額定壓力。
通過在第11章試驗期間的檢查來確定是否合格。
22.105 在其內部壓力未降低到接近大氣壓力以前,應不能打開壓力器具烹飪隔間的門。
通過視檢或手動試驗來確定是否合格。
22.106 常壓工作的器具,其蒸汽出口應通過設計、定位或其他方法防備堵塞。
通過視檢來確定是否合格。
22.107 為蒸汽發生器和烹飪隔間提供的排水裝置,排水時不應影響電氣絕緣。
通過視檢或手動試驗來確定是否合格。
22.108 人工注水容器必須達到的水位標志,應位于注水時容易看到的位置。
通過視檢來確定是否合格。
22.109 器具應配備一種裝置,使廢氣在排放到排水管之前自動冷凝。
通過視檢來確定是否合格。
22.110 壓力器具應裝有真空釋放閥以防形成局部真空,除非器具打算用作真空工作。
通過視檢來確定是否合格。
22.111 壓力器具應能夠承受額定壓力。
通過使受壓部件經受等于額定壓力1.5倍的靜水壓30min來確定是否合格。將所有出口密封,并使所有壓力釋放裝置都不起作用。可以用水以外的方法產生靜壓。
試驗期間受壓部件不應出現泄漏跡象或永久變形,也不應爆裂。
22.112 為滿足20.2和20.102的要求而安裝在烹飪隔間門和防護罩上的連鎖裝置應安排如下:
——在烹飪隔間的門被打開縫隙不超過50mm時,風機電動機從電源斷開;
——不能使用GB4706.1-1998中圖1所示標準試驗指使任何連鎖裝置失效。
通過視檢、測量和在烹飪隔間的門打開的情況下,在任何位置使用標準試驗指來確定是否合格。
22.113 便攜式器具在結構上應能防止物體穿透底面引起的危險。
通過視檢,必要時通過測量來確定是否合格。
注:無支腳的器具,如果通過任意通孔測得各帶電部件距離支承面至少6mm,即認為符合要求;裝有支腳并打算放在桌面上使用的器具,此距離加長到10mm;打算放在地面上使用的器具,則加長到20mm。
22.114 壓力釋放裝置應安裝或構造成使其動作不能引起對人的傷害或對環境的破壞。其結構還應不借助專用工具不能使其不起作用或將其調整到更高的釋放壓力。
通過視檢來確定是否合格。
22.115 熱流體的排放開關和其他排空裝置,在結構上應不能被意外打開。而且,排放塞不能被意外拔出。
通過視檢或手動試驗來確定是否合格。
注:例如,閥門手柄在松開時能自動返回到關閉位置,或手柄是輪形或裝在低凹處,這樣就滿足了要求。
22.116 如果烹飪隔間的尺寸超過700mm×1500mm×700mm,應能用不超過70N力從里面打開烹飪隔間的門。
通過視檢和測量來確定是否合格。
23 內部布線
GB 4706.1-1998中的該章除下述內容外,均適用。
23.3 該條增加下述內容:
控溫器的毛細管正常使用中有受彎曲傾向時,下述內容適用:
——毛細管作為內部布線的部件安裝時,GB4706.1適用;
——單獨的毛細管應以不超過30次/min的速率彎曲1000次。
注101:在以上任何一種情況下,如果由于部件質量等原因,不可能按照給定速率移動器具的活動部件,則彎曲速率可以降低。
在彎曲試驗之后,毛細管不應有本部分含義內的損傷痕跡和影響其進一步使用的損壞。
但是,如果毛細管的一處損壞就使器具不能工作(失效保護),則單獨的毛細管就不再進行試驗,而作為內部布線的部件安裝的毛細管,也不進行是否符合要求的檢查。
通過折斷毛細管來檢驗是否合格。
注102:注意確保折斷時不使毛細管封閉。
24 元件
GB4706.1-1998中的該章內容,均適用。
25 電源連接和外部軟線
GB4706.1-1998中的該章除下述內容外,均適用。
25.1 該條內容作下述修改:
器具不應裝有器具輸入插口。
25.3 該條增加下述內容:
固定式器具和質量大于40kg而未裝配滾輪、腳輪或類似裝置的器具,其結構應允許器具按照制造廠的說明安裝后,再連接電源軟線。
用于電纜與固定布線永久連接的接線端子,也可以適用于電源軟線的X型連接。在此情況下,器具應裝有符合25.16要求的軟線固定裝置。
如果器具裝有可連接軟線的一組接線端子,則這些接線端子應適合于軟線的X型連接。
在上述兩種情況下,說明書應提供電源軟線的詳盡資料。
通過視檢來確定是否合格。
25.7 該條內容作下述修改
用下述內容代替規定的電源軟線的類型:
電源軟線應為耐油柔性護套電纜,不輕于普通氯丁橡膠或其他等效的合成橡膠護套軟線(指定牌號IEC 60245中的57號)。
26 外部導線用接線端子
GB4706.1-1998中的該章內容,均適用。
27 接地措施
GB4706.1-1998中的該章除下述內容外,均適用。
27.2 該條增加下述內容:
駐立式器具應裝配一接線端子以便連接外部等電位導體。該接線端子與器具所有固定的外露金屬部件保持有效的電氣接觸。并且應能與標稱橫載面積達10mm
2的導線連接。接線端子應設置在器具安裝后便于與結合導體連接的位置。
注101:小型固定的外露金屬部件,例如銘牌等,無需與接線端子形成電氣接觸。
28 螺釘和連接
GB4706.1-1998中的該章內容,均適用。
29 爬電距離、電氣間隙和穿通絕緣距離
GB4706.1-1998中的該章內容,均適用。
30 耐熱、耐燃和耐漏電起痕
GB4706.1-1998中的該章除下述內容外,均適用。
30.2.1 該條內容作下述修改:
附錄K所述灼熱絲試驗的試驗溫度為650℃。
30.2.2 該條內容作下述修改:
注:器具被認為是在無人照管下運行的。
30.3 該條增加如下述內容:
注101:帶有動觸頭的開關裝置,除人工操作和僅在非正常工作時動作的以外,均視為承受極嚴酷工作條件。此外,其他絕緣材料部件也視為承受極嚴酷工作條件,除非它們的封閉情況和放置位置不大可能發生冷凝污染;在此情況下,適用嚴酷工作條件的要求。
30.101 如果有非金屬材料制作的用于吸附油脂的過濾器,要經受附錄J規定的燃燒試驗,但試樣厚度與器具內過濾器厚度相同者除外。
注:可能需要將試樣支承起來。
31 防銹
GB 4706.1-1998中的該章內容,均適用。
32 輻射、毒性和類似危險
GB 4706.1-1998中的該章內容,均適用。
單位為毫米

圖101 濺水裝置
附錄
GB 4706.1-1998中的附錄內容,均適用。