目次
前言 ………………………………………………………………Ⅰ
IEC前言 ………………………………………………………… Ⅱ
第一篇 概論 …………………………………………………… 1
1 適用范圍 ………………………………………………………1
2 引用標準 ………………………………………………………1
3 環境條件 ………………………………………………………1
4 定義 ……………………………………………………………1
第二篇 要求和試驗 …………………………………………… 2
5 試驗條件 ………………………………………………………2
6 標記 ……………………………………………………………2
7 操作 ……………………………………………………………3
8 防電擊保護 ……………………………………………………3
9 熱額定值 ………………………………………………………3
10 機械要求 …………………………………………………… 5
11 標志 ………………………………………………………… 6
12 使用說明書 ………………………………………………… 6
附錄A IEC974/11中第6條和第8.2條原文(提示的附錄)……7
前言
本標準等效采用IEC974/11:1992,僅對IEC974/11中的濕熱處理條件、額定電流等級與電纜截面范圍做了適當的修改。
我國地域遼闊,南方夏季多為典型的高溫高濕氣候,所以本標準按GB/T2423.3要求,規定濕熱處理的溫度為40℃,這樣既符合國情,也與電焊機行業的GB/T8118等有關標準協調一致。
電焊鉗是與電弧焊機配套使用的,若額定電流等級與焊機額定電流等級出現差異,會引起誤解。所以本標準的額定電流等級按GB/T8118規定進行分檔,IEC974/11的電流等級以括號的形式保留。
IEC947/11和IEC974/12分別對電焊鉗和焊接電纜耦合器所配用的電纜作了規定,但規定的焊接電流與對應的電纜截面積不同,前者比后者大一檔。由于這兩種器件都安裝在弧焊電源的輸出端,所以電纜截面應一致。根據國內實際使用情況,本標準將焊接電流對應的電纜截面積縮小一檔,與IEC974/12相同。
本標準與JB7107-93相比,主要在以下幾個方面做了重大變動:
——由行標升為國標;
——取消夾持拉力條款;
——修改電焊鉗的防護等級要求;
——增加焊接電纜絕緣嵌入電焊鉗的濃度要求;
——修改溫升試驗方法;
——增加標記及使用說明書要求。
為使用本標準方便,將IEC974/11中第6章、第8.2條編為附錄A,供使用者參考。
本標準從生效之日起,JB7107-93廢止。
本標準的附錄A是提示的附錄。
本標準由中華人民共和國機械工業部提出。
本標準由全國電焊機標準化技術委員會歸口。
本標準起草單位:成都電焊機研究所。
本標準主要起草人:潘穎。
IEC前言
IEC(國際電工委員會)是由所有國家電工委員會(IEC國家委員會)組成的一個世界性標準化組織。IEC的任務是促進在電工和電子領域內對所涉及的標準問題進行國際合作。最終也是除此之外的業務是出版國際標準,由技術委員會負責起草工作。任何IEC國家委員會對其工作項目感興趣,都可以參與起草工作。官方和非官方的國際性組織都可以與IEC聯系參與標準項目的起草工作。IEC與國際標準化組織(ISO)按照兩組織已商定的原則進行緊密合作。
IEC對于技術問題的正式決議或協議是由技術委員會根據所有感興趣的國家委員會的參與,并在國際上盡可能取得一致意見后而起草的。
在國際上通常以出版標準、技術報告或導則的形式向世界各國推薦,并且指明由國家委員會接收。
為了促進國際上的統一,IEC國家委員會應保證在本國范圍內最大限度地貫徹IEC國際標準和區域性標準。IEC與對應的國家標準或區域性標準之間的任何差異,都應在其后清楚地標注。
IEC提供的標準沒有標明投票通過的程序,并且不能對申明符合某項標準的任何設備負責。
國際標準IEC974/11是由IEC第26技術委員會負責起草的。
這項標準的條文是基于以下文件:

有關這項標準投票通過的全部資料能在上述表格中列出的投票報告中找到。
第一篇 概論
1 適用范圍
本標準規定了焊鉗的安全及結構要求。
本標準適用于焊條直徑為10mm以下的手工電弧焊用的電焊鉗(以下簡稱焊鉗)。
本標準不適用于水下焊接用的焊鉗。
2 引用標準
下列標準所包含的條文,通過在本標準中引用而構成為本標準的條文。本標準出版時,所示版本均為有效。所有標準都會被修訂,使用本標準的各方應探討使用下列標準最新版本的可能性。
GB/T2423.3-93 電工電子產品基本環境試驗規程 試驗Ca:恒定濕熱試驗方法
GB4208-93 外殼防護等級(IP代碼)(eqv IEC529:1989)
3 環境條件
a)環境溫度:最高40℃;
b)空氣相對溫度:20℃時最高90%。
4 定義
本標準采用下列定義。
4.1 焊鉗
手工電弧焊時,用以夾持和操縱焊條,并保證與焊條電氣連接的手持絕緣器具。
4.2 焊鉗頭
焊鉗上具有孔、爪或相當結構的部件,供焊條插入、定位或夾緊。
4.3 手柄
焊鉗上供操作人員手持的部分。
4.4 操縱桿
裝在焊鉗上用以控制夾緊裝置的部件。
4.5額定電流
制造廠規定的焊鉗不超過其溫升限值時所能承受的電流。
4.6 A型焊鉗
按照GB4208,用試指觸不到其內部帶電部件的焊鉗。
4.7B型焊鉗
與A型所不同的是,焊鉗頭之帶電部分不能被試球所觸及。試球的直徑應根據焊條的直徑來選定,見8.1b。
4.8 負載持續率
約定的負載持續時間與全周期時間之比。
第二篇 要求和試驗
5 試驗條件
本標準所規定的試驗項目均為型式試驗項目,出廠檢驗項目由企業標準規定。在10~40℃的某一環境溫度下,對新的、干燥的、裝配完整并已裝上焊接電纜的焊鉗,按下述要求進行試驗。
5.1 測量儀器精度要求
a)電氣測量儀表:0.5級;
b)測溫裝置:±2K。
5.2 規定了部分試驗的順序。
5.2 試驗順序
下面給出的試驗應按以下順序進行:
a)一般目測檢驗;
b)溫升(見9.1);
c)耐沖擊(見10.4);
d)絕緣電阻(見8.2);
e)介電強度(見8.3)。
上述未提及的其他試驗可按任何常規順序進行。
6 標記
焊鉗應標明額定電流。額定電流對應表1規定的焊條及焊接電纜的最小范圍。
表1 焊鉗額定電流與焊條及焊接電纜規格的關系

注:電流值是指60%負載持續率時的額定值。35%負載持續率時,電流可取表中下一行較高額定值,因此在35%負載持續率時的最大電流值為630A。
通過測量檢查其合格與否。
7 操作
焊鉗應能:
a)安全、快速地裝上焊條和取下剩余的焊條殘段;
b)在任一規定的部位夾持焊條,均可使其焊到只剩下50mm長;
c)在操作者不施加任何外力的情況下,夾緊制造廠所規定的各種規格直徑的焊條;
d)焊條與工件粘接在一起時,能將焊條脫離工件。
用手工焊方法,通過操作夾緊裝置,目視檢驗及d)項試驗,檢查其合格與否。
8 防電擊保護
8.1 防直接接觸
焊鉗在不夾持焊條而只裝配制造廠規定的最小截面的焊接電纜時,應能防止意外觸及其帶電部分。
對于A型焊鉗,本要求對插入焊鉗中的焊條段同樣有效。用制造廠規定的最小及最大直徑的焊條進行檢驗。
用下述方法檢驗其合格與否:
a)用GB4208規定的標準試指檢驗:
1)A型焊鉗;
2)B型焊鉗的焊頭以外部分。
b)B型焊鉗的焊鉗頭用下述試球檢驗;

8.3 介電強度
焊鉗的絕緣部分應能承受有效值為1000V的交流試驗電壓而無閃絡或擊穿現象。以所加電壓是否降低作為判斷。不使電壓降低的任何瞬時放電可以忽略不計。
通過下述試驗檢驗其合格與否:
絕緣電阻試驗后,在焊鉗導電體與金屬箔之間施加近似正弦波形、峰值不超過有效值1.45倍、頻率為50Hz或60Hz的交流試驗電壓,持續1min。
9 熱額定值
9.1 溫升
焊鉗按表1規定裝上最大截面的未鍍錫的銅焊接電纜及與最粗焊條直徑相同的圓棒后,通以額定電流,其手柄外表面最熱點的溫升不應超過40K。
通過下述試驗(見圖1)檢驗其合格與否:
兩把相同規格的焊鉗各自裝上一根長度至少為2m的焊接電纜。
將一根干凈的、沒氧化的低碳鋼圓棒夾于兩個互呈180°角的焊鉗夾緊裝置之間,兩把焊鉗夾緊裝置之間的距離為50mm。
通過圓棒連在一起的焊鉗由其焊接電纜水平地懸掛在兩個相距1m的木架之間。被夾緊的圓棒處于兩木架之間,離地面200mm。試驗場所應無空氣流動。
焊鉗通過75%額定電流值的直流電流(近似60%負載持續率)直至溫度上升速率不超過2K/h時為止。由兩把焊鉗各自最熱點的溫升求出平均溫升值。
本項試驗應進行5次,每次選用一對新的焊鉗和一根新的低碳鋼棒。

圖1 溫升試驗安裝圖
9.2 耐熱
按9.1進行溫升試驗后,焊鉗頭的絕緣不能出現起泡、深度碳化或裂紋現象,尤其是夾緊焊條的區域更不能出現這些損壞。
通過目測,檢查其合格與否。
9.3 耐焊接飛濺物
手柄的絕緣材料應能承受正常量的焊接飛濺物而不致完全穿透或燃燒。
焊鉗的所有零件應采用阻燃材料制造,在正常工作條件下不會引起燃燒。
按照圖2所示裝置檢查其合格與否。

圖2 耐焊接飛濺物試驗裝置
10機械要求
10.1 焊接電纜入口
焊鉗上的焊接電纜入口處應設計成能防止電纜由于彎曲而損壞。
通過目測,檢查其合格與否。
10.2 焊接電纜絕緣嵌入濃度
焊接電纜的絕緣部分進入焊鉗的深度至少為電纜外徑的兩倍,但最少為30mm。
通過裝配制造廠規定的最大截面積的焊接電纜進行測量,檢查其合格與否。
10.3 焊接電纜的連接
焊鉗應設計成能更換制造廠規定的截面積范圍內的焊接電纜,其連接處應能經受拉力試驗而不脫開。
通過目測和下述試驗,檢驗其合格與否:
焊鉗按使用說明書要求裝上最大截面積的焊接電纜后,按焊接電纜截面大小,對連接處施加40N/mm
2的拉力,但最大為2000N的拉力做10次拉伸試驗。每次拉力在1s內從0逐漸增加到規定值,并且持續1s以上。
試驗后,電纜不能有明顯的位移。
用最小截面的焊接電纜重復上述試驗。
如果焊接電纜的連接方式不止一種,則每種連接方式都應進行試驗。
10.4 耐沖擊
焊鉗經受機械沖擊試驗后,焊條夾緊裝置或其操縱部分不應出現明顯的或功能上的變化,絕緣部分不能出現裂紋或擊穿現象,但允許表面有小碎渣或擦痕。
通過下述試驗,檢查其合格與否:
a)垂直跌落
焊鉗通過其焊接電纜懸掛起來,使焊鉗頭的端部高出撞擊平面1m。撞擊平面是一塊放在地面上的低碳鋼板,其厚度至少為9mm。
釋放帶著電纜的焊鉗,使其自由跌落。每把焊鉗應試驗三次。
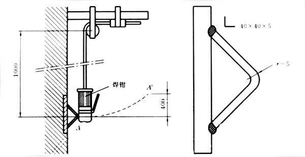
b)沖擊
試驗方法如圖3所示。焊鉗用其電纜懸掛起來,沿垂直于墻面的方向移至A´處。
在初速度為零的情況下釋放焊鉗,使之在下列條件下撞擊墊塊:
——墊塊是一個40mm×40mm×5mm的低碳角鋼,其頂角半徑為5mm;
——焊接電纜的懸掛點調整到高于角鋼頂角1m處,以使焊鉗在自由懸掛狀態下經受撞擊的部位恰好與角鋼的頂角相接觸;
——試驗時,焊鉗從垂直于墻壁位置偏移升高至400mm處。
焊鉗應撞擊角鋼6次:其中兩次撞在焊鉗頭上;兩次撞在手柄中部;兩次撞在操縱桿上。如果焊鉗沒有操縱桿,那么就撞擊焊鉗的薄弱部位兩次。

11 標志
每把焊鉗上都應清晰地、永久性地標注以下內容:
a)制造廠名、注冊商標或經銷商名;
b)由制造廠給出的型式(標志);
c)額定電流;
d)本標準編號。
查看標志內容,檢查其合格與否。
12 使用說明書
每把焊鉗應提供一份包括以下內容的說明書:
a)夾持焊條的范圍;
b)焊接電纜的正確連接方法;
c)焊接電纜型式和截面大小的選用;
d)焊接電流與負載持續率的關系;
e)備用件清單。
閱讀使用說明書,檢查其合格與否。
附錄A
(提示的附錄)
IEC974/11中第6條和第8.2條原文
6 標記
焊鉗應標明額定電流。額定電流對應表A1規定的焊條及焊接電纜的最小范圍。
表A1 焊鉗額定電流與焊條及焊接電纜規格的關系

注:這些電流值是指60%負載持續率時的額定值。35%負載持續率時,電流可取表中下一行較高額定值,因此在35%負載持續率時的最大電流值為600A。
通過測量檢查其合格與否。
8.2 絕緣電阻
焊鉗經濕熱處理后的絕緣電阻應不低于1MΩ。
通過下述試驗檢查其合格與否:
a)濕熱室的溫度t應保持在20~30℃之間,誤差±1K,其相對濕度保持在91%~95%范圍內。先使沒裝電纜的焊鉗達到t~(t+4)℃之間的溫度,然后在濕熱箱內放置48h。
b)絕緣電阻測量
濕熱處理后,立即將焊鉗擦干,并用金屬箔包裹在焊鉗絕緣體外表面。
將500V直流電壓施加到焊鉗導電體與金屬箔之間,測量絕緣電阻,穩定后讀取數據。