目次
前言
IEC 前言
1 范圍
2 定義
3 一般要求
4 試驗的一般注意事項
5 額定值
6 分類
7標志
8觸電保護
9起動
10 輸入功率和電流
11 發熱
12 泄漏電流
13 無線電和電視干擾抑制
14 防潮性
15 絕緣電阻和介電強度
16 耐久性
17 不正常操作
18 機械危險
19 機械強度
20 結構
21 內部布線
22 組件
23 電源聯接和外接軟電纜和軟線
24 外接導線的接線端子
25 接地裝置
26 螺釘及聯接件
27 爬電距離、電氣間隙和絕緣穿通距離
28 耐熱性、耐燃性和抗漏電痕跡
29 防透
附錄
前言
本標準是對國家標準GB 3883.5-91《手持式電動工具的安全 第二部分:圓鋸和圓刀的專用要求》的第一次修訂,它是手持式電動工具安全標準的組成部分,涉及手持式圓鋸和圓刀的專用要求。它作為手持式電動工具安全標準的第二部分,必須與GB 3883.1-1991《手持式電動工具的安全 第一部分:一般要求》一起使用。
本標準等同采用國際電工委員會IEC 745-2-5《手持式電動工具的安全 第二部分:圓鋸和圓刀的專用要求》(1993年版)。
本標準按GB/T 1.1-1993《標準化工作導則 第1單元:標準的起草與表述規則 第1部分:標準編寫的基本規定》保留了IEC 745-2的前言,同時增加了本前言。
本標準保留了GB 3883.1的全部附錄。
本標準由國家機械工業局提出。
本標準由全國電動工具標準化技術委員會歸口。
本標準委托全國電動工具標準化技術委員會負責解釋。
本標準起草單位:機械工業部上海電動工具研究所。
本標準主要起草人:劉江、朱建平、錢乃熾。
IEC前言
1.IEC(國際電工委員會)是一個世界范圍的包括所有國家電工委員會(IEC國家委員會)的標準化組織。IEC的目標是促進有關電氣、電子領域標準化問題的國際間合作。為此目的,加上其他活動,IEC出版國際標準。IEC標準的制定工作是委托技術委員會進行的,任何對所從事的題目感興趣的IEC國家委員會都能參加這個制定工作。國際性的、官方的和非官方的、與IEC有聯系的組織也參加制定工作。IEC按照同國際標準化組織(ISO)協議所確定的條件與ISO緊密協作。
2.關于因所有國家委員會特別關注而提出的IEC技術問題的正式決議或協議,由IEC技術委員會制定,這一決議或協議盡可能地表達了所研究問題在國際上的一致意見。
3.這些決議或協議以推薦標準、技術報告指南的形成供國際上使用,并在此意義上為各國家委員會所承認。
4.為了促進國際上的統一,IEC表示希望各國家委員會,在其國內情況許可的范圍內,應采用IEC推薦標準的內容作為他們的國家標準。IEC推薦標準與相應的國家規定之間,如有不一致處,應盡可能地在國家標準中明確指出。
國際標準IEC 745的這一部分由IEC技術委員會“家用電器和類似用途電器的安全”的第61F分技術委員會“手持式電動工具的安全”制定的。
這一部分的內容基于下列文件:

有關標準這一部分的詳情,可見上述的投票報告。
這一部分形成IEC 745-2-5的第2版并取代第1版。
關于圓鋸和圓刀的這一部分要與IEC 745-1《手持式電動工具的安全 第一部分:一般要求》第1版一起使用。本第2部分列出了把第一部分轉變為IEC標準:《手持式電動圓鋸和圓刀的安全》的必要變動。
本出版物中:
1) 在本標準中采用的印刷字體如下:
——要求本文:用4號羅馬字;
——試驗規范:用4號斜體字;
——說明事項:用小5號羅馬字。
2) 在第一部分中增加的條文和圖的序號以101開始。
1 范圍
除以下條文外,GB 3883.1的這一章適用。
1.1 修改
第一句改為:
本標準適用于鋸割各種材料的所有形式的圓鋸和圓刀。
增加:
注:這些要求并不涉及使用帶砂輪的圓鋸或與支架結合或以其他方式構成固定式工具的圓鋸。金剛石輪也視作砂輪。砂輪只有在其專用的工具上才被允許使用。
2 定義
除以下條文外,GB 3883.1的這一章適用。
2.2.23 修改:
正常負載 normal load
對規定鋸割非金屬材料的圓鋸,指其鋸片處于鉛垂位置連續運行達到的負載,該負載下圓鋸的輸入功率(以W計算)等于下列值:

S——用制造廠推薦的鋸片時測得的最大鋸割深度,mm;
n
0——工具以額定電壓或額定電壓范圍上限電壓空載運行15min后鋸片的空載轉速r/min。
增加:
注:對其他形式的圓鋸、圓刀和供鋸割金屬用的工具的正常負載定義尚在考慮中。
增加定義:
2.101 帶擺動式外護罩的圓鋸 circular saw with outer pendulum guard
作業時,其下護罩圍在其固定上護罩外擺動的圓鋸(見圖101)。
2.102 帶擺動式內護罩的圓鋸circular saw with inner pendulum guard
作業時,其下護罩在其固定上護罩外內擺動的圓鋸(見圖102)。
2.103 帶拖拉護罩的圓鋸 circular saw with tow guard
作業時,其下護罩沿著其固定上護罩滑動的圓鋸(見圖103)。
2.104 插入型圓鋸 plunge type circular saw
只有一個固定上護罩;不使用時,鋸片插進該護罩中的圓鋸(見圖104)。
2.105 導板 guide plate
構成被鋸割材料基準面的部件。
2.106 導板開口 guide plate aperture
導板上的能讓鋸片、分料刀和活動護罩(如有的話)通過的開口。
2.107 固定護罩 fixed guard
固定在電動機部分的,用以防止觸及鋸片的位于導板上方的罩蓋。
2.108 活動護罩movable guard
當其處于閉合位置或靜止位置時,能防止觸及鋸片的未被固定護罩罩住的部分,并且在大多數情況下處于導板下方的罩蓋。
2.109 分料刀 riving knife
置于鋸片平面內的一個金屬零件,以防止在鋸片后部并攏,從而防止工具后退或鋸片卡住 。
2.110 許可鋸片 admissible saw blade
所有由制造廠規定的鋸片。
3 一般要求
GB 3883.1的這一章適用。
4 試驗的一般注意事項
GB 3883.1的這一章適用。
5 額定值
GB 3883.1的這一章適用。
6分類
GB 3883.1的這一章適用。
7 標志
除以下條文外,GB 3883.1的這一章適用。
7.1 增加:
圓鋸應標有:
——旋轉方向的標記;
——工作主軸的額定空載轉速。
7.11 增加:
鋸片的旋轉方向應以凸起或凹入的箭頭清晰地標明在固定護罩上,或以清晰和耐久程度不亞于它的其他方法表示。
7.13 增加:
所有各種形式的圓鋸都應附有一份至少包含下列相應警告語句的說明書:
——不得使用變形的或開裂的鋸片;
——不得使用由高速鋼制成的鋸片;
——不得使用不符合本說明書規定特性的鋸片;
——不得在鋸片盤面上旋加側向壓力使鋸片停轉;
——不得將活動護罩鎖定在開啟位置;
——保證活動護罩自如,不被卡住;
——保證所有防護系統的回縮機構正確動作;
——在更換鋸片、進行調節或其他維護工作之前,從電源上拔掉插頭;
——不得使用任何砂輪,除非工具是專為使用砂輪而設計的,對于鋸割木材的圓鋸,在說明書中還應包含下列補充警句:
——不得使用盤面厚度比分料刀厚及鋸齒開齒寬度比分料刀薄的鋸片;
——保護分料刀調節到其與鋸片齒圈之間的距離不超過5mm,齒超出分料刀下緣不大于5mm;
——除了進行切入工件中間的作業外,總是要使用分料刀;
說明書中還應包含下列資料:
——有關裝配和安全使用的足夠資料;
——鋸片的最大、最小直徑和厚度范圍,以及能夠裝到此工具上的鋸片的其他特性;
——工作主軸的額定空載轉速。
8 觸電保護
GB 3883.1的這一章適用。
9 起動
GB 3883.1的這一章適用。
10 輸入功率和電流
GB 3883.1的這一章適用。
11 發熱
除以下條文外,GB 3883.1的這一章適用。
11.2 修改:
試驗期間,施加的轉矩等于對應于正常負載的轉矩或對應于達到額定輸入功率所需負載的轉矩,取其中能使工具以額定電壓或額定電壓范圍上限電壓運行時,產生溫升高者。
12 泄漏電流
GB 3883.1的這一章適用。
13 無線電和電視干擾抑制
GB 3883.1的這一章適用。
14 防潮性
GB 3883.1的這一章適用。
15 絕緣電阻和介電強度
GB 3883.1的這一章適用。
16 耐久性
GB 3883.1的這一章適用。
17 不正常操作
GB 3883.1的這一章適用。
18 機械危險
除以下條文外,GB 3883.1的這一章適用。
18.1 改換為:
圓鋸應裝有足以滿足要求的防護系統,該系統不借助工具就不能拆下。
供鋸割木材和類似材料用的圓鋸的防護系統應符合18.101、18.102、18.103和18.104的要求。
通過觀察來檢驗。
本要求不適用于所裝鋸片圓周線速度小于5m/s的圓鋸。對這類圓鋸而言,有關要求正在考慮中。
為達到所需的機械安全程度而采取的其他措施是允許的,只要這些措施與規定措施等效并同樣可靠。
增加條文:
18.101 導板上方的防護
18.101.1 為了防止操作者的手或手指無意間觸及導板上方鋸片齒圈或圓鋸手柄側的轉動部件,這些部件均應由一個或幾個護罩遮掩起來。
18.101.1.1 對于圖101、圖102和圖103所示形式的圓鋸,固定護罩應至少在徑向將鋸片齒圈遮掩到齒根以下。
就本要求而言,鋸片齒根直徑不小于最小許可鋸片直徑的0.9倍。
通過觀察來檢驗。
18.101.1.2 圖104所示插入性圓鋸應裝有這樣的護罩:圓鋸不使用時,任何許可鋸片和分料刀均自動插進該護罩。
該護罩應在所有可能的鋸割深度上都能覆蓋住全部齒根。
護罩上讓鋸片和分料刀通過的開口應盡可能小,在閉合位置,護罩外周與最大許可鋸片的齒圈外緣的距離a以及縫隙的寬度b應符合圖 108表中的規定值。
就本要求而言,認為鋸片直徑不小于最小許可鋸片直徑的0.9倍。
本要求不適用于導板與電動機底面之間的部分,但其間空隙不應比所需的寬度大。
當圓鋸不運行、導板脫離工件時,握持圓鋸手柄并將圓鋸置于正常使用中可能出現的任何方位上,護罩應自動鎖定在閉合位置。
18.101.1.3 護罩上的所有開口,包括排屑口,應設計和配置得符合上述要求。
通過下述試驗來檢驗是否符合上述要求:
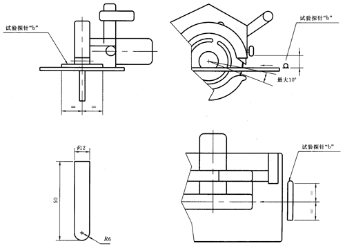
護罩上的所有開口都用圖 105的剛性探針“a”進行試驗。探針在任何角度下,都應不可觸及處于任何鋸割深度的鋸片齒圈,在圓鋸整定到最大鋸割深度時應不可觸及手柄側的轉動部件。
為了檢查在導板上方從圓鋸前方觸及鋸片齒圈的可能性,把圖106的剛性探針“b”處于這樣的位置:其長軸平行于圓鋸主軸軸線,其中心與鋸片平面一致。當圓鋸調整到直角鋸割時,在任何鋸割深度上,橫向移動探針,探針應不可能觸及鋸片齒圈(見圖106)。
18.101.1.4 對于具有可傾斜導板的圓鋸,在護罩正面部分與導板之間不必用剛性探針“a”檢查接觸的可能性。
在這種情況下,在鋸片齒圈范圍內,護罩側面與傾斜導板(或向上彎邊的頂部)間的距離應小于3mm(在最大鋸割深度、最大鋸割角度條件下、與導板成直角上方上測得的)(見圖107)。
18.102 導板下方的護罩
圖101、圖102和圖103所示形式的圓鋸在導板下方工件側應有一活動護罩,當圓鋸不使用時,該護罩應可靠地把鋸片兩側在徑向遮掩到齒根以下。
就本要求而言,認為鋸片齒根直徑不小于最小許要鋸片直徑的0.9倍。
當圓鋸不使用時,該護罩應自動返回到閉合位置,應不能鎖定在開啟位置。
對于圖101和圖102所示形式的圓鋸而言,當其調整在最大切割深度并與導板成直角位置時,在護罩的前沿可以有不大于10°的開口(見圖106)。
通過觀察來檢驗。
18.102.1 對圖102和圖103所示圓鋸,其活動護罩必須能讓鋸片和(或)分料刀及其刀架通過?;顒幼o罩上的縫隙應盡可能小。
在閉合位置,護罩外周與最大許可鋸片的齒圈外緣的距離a以及該護罩縫隙的寬度b應符合圖108表中的規定值。
18.102.2 對如圖103所示的裝有拖拉護罩的圓鋸,只要握持手柄,導板不與工件接觸而且保持在正常使用中容易出現的位置,其活動護罩就應自動鎖定在安全位置上。
18.102.3 對所有各種鋸片直徑不大于200mm的圓鋸而言,其活動護罩系統從最大開啟位置或從最大鋸割深度到閉合時間不應超過0.2s。對鋸片直徑大于200mm的圓鋸,以秒計的活動護罩閉合時間不應大于以米計的鋸片直徑數。測量時,圓鋸調整在直角進行鋸割,和最大鋸割深度,導板處于水平位置,并且圓鋸不在翻轉狀態。
通過觀察和測量檢驗是否符合18.102,18.102.1,18.102.2和18.102.3的要求;對18.102.1還要通過下述試驗來檢驗:
當活動護罩完全閉合在安全位置時,用規定的探針“a”(見圖105)穿過縫隙應不可能觸及鋸片的鋸齒。
18.103 分料刀
圓鋸應裝有分料刀。
注:可以使用等效器件。
18.103.1 在鋸割深度范圍內,分料刀應被剛性固定,并應與鋸片處在統一平面內,而且要使其能毫無障礙地穿過鋸割槽,分料刀不應使鋸片傾料。
分料刀的位置不應由于圓鋸的運行而改變。
18.103.2 分料刀及其刀架應設計成:對能產生鋸割深度達到額定鋸割深度的90%到100%的所有鋸片直徑,能把分料刀調整到符合下列條件(見圖109)。
a) 導板下方,在所調整的鋸割深度下,分料刀與鋸片齒圈間的徑向距離在任何一點上均不應超過5mm。
b)分料刀的刀尖離鋸齒頂點應至多5mm。
通過觀察和測量來檢驗是否符合18.103.2的要求。
18.103.3 對于額定鋸割深度大于55mm的圓鋸,分料刀及其刀架應設計成:在調節鋸割深度時,分料刀一直自動符合18.103.2的a)項和b)項要求。
18.103.4 分料刀應由硬度為35HRC~48HRC的鋼制成,抗拉強度至少等于800MPa。
刀尖應倒圓,半徑不小于2mm。
18.103.5 在圓鋸最大鋸割深度時,在導板位置高度上測得的分料刀寬度應至少等于鋸片直徑的1/8。在分料刀固定點位置高度上,分料刀具有的剛性應與直到該高度范圍內寬度一直保持等于1/8鋸片直徑的平面鋸割刀的剛性相當(例如通過附加夾緊措施)。而且,分料刀面應平整、光滑、平行,并且在面對鋸片的那一側稍倒角。
18.103.6 圓鋸應設計和制造成:當活動護罩處于閉合位置,而圓鋸以其各個穩定方位放置在水平面上時,不應靠分料刀支撐。
通過測量和觀察來檢驗是否符合18.103.5和18.103.6的要求。
18.104 導板
導板應具有圖110的主要尺寸。
通過測量和觀察來檢驗。
18.105 法蘭盤
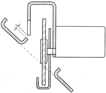
接觸面的外徑應至少為鋸片直徑的0.15倍,至少其中一個法蘭盤應用鍵、銷固定在輸出軸上。
為了防止過度變形,兩個法蘭盤夾緊部位的重疊部分寬度應至少為1.5mm(見圖111)。
通過測量和觀察來檢驗。
18.106 手柄
圓鋸應有兩個手柄。
對于質量為6kg及以下的圓鋸,電動機殼體如果制成合適的形狀,可以視作其中的一個手柄。
規定與電鉆一起使用的圓鋸聯接件應至少有一個手柄。
通過測量與觀察來檢驗。
18.107 鋸片調換
為了毫無困難地更換鋸片,應采取措施保證操作者鎖定輸出軸。
通過觀察和測量來檢驗。
18.108 質量
規定由一個人操作的圓鋸,當裝上最重的附件和1.5m長的軟線時,其總質量不應超過16kg。
通過觀察和測量來檢驗。
18.109 塵屑出口
圓鋸應設計成木屑的排出不致危及操作者。
通過觀察來檢驗。
18.110 對圓刀而言,下列各條文適用:
18.110.1 圓刀的護罩應在適用情況允許范圍內盡可能把以外觸及刀具的周邊。如果適用條件需要從工具前面到刀具周邊有通道,則用直徑為13mm、長為50mm的圓柱形探針應不可能觸及刀具的周邊。
在導板下方,刀具的圓周邊應由一活動護罩遮掩,該護罩處于閉合位置時,護罩的前緣與導板之間弧所對角應不超過:
——10°,如果導板的外周邊在對著工具的前端不封住刀具的直徑方向;
——25°,如果導板的外周邊在對著工具的前端封住刀具。
通過觀察和測量來檢驗。
18.110.2 規定只有單人操作的圓刀總質量不應超過16kg。
總質量指工具裝上(制造廠指出的)最重附件和1.5m長軟線時的質量。
通過觀察和測量來檢驗。
19 機械強度
除以下條文外,GB 3883.1的這一章適用。
19.1 增加:
防護系統也進行本試驗。
在防護系統試驗后檢驗是否符合18.101、18.102和18.103的要求。
應無肉眼可見的開裂。
19.2 不適用
20 結構
除以下條文外,GB 3883.1的這一章適用。
20.19 增加:
電源開關應在松開開關操作后立即自動切斷電動機的電源。
該開關在“接通”位置應無鎖定裝置。
這后一要求并不適用于能配上圓鋸附件的多用工具,對這一類工具,通過單一的按壓動作,控制合上在“接通”的操作機構即應自動返回到“斷開”位置。
工具不應設計成:不需裝到合適的支座上即可以在翻轉狀態作為固定工具使用。
只要工具在翻轉狀態下沒有合適的穩定位置,即滿足此要求。
通過觀察來檢驗。
21 內部布線
GB 3883.1的這一章適用。
22 組件
GB 3883.1的這一章適用。
23 電源聯接和外接軟電纜和軟線
GB 3883.1的這一章適用。
24 外接導線的接線端子
GB 3883.1的這一章適用。
25 接地裝置
GB 3883.1的這一章適用。
26 螺釘和聯接件
GB 3883.1的這一章適用。
27 爬電距離、電氣間隙和絕緣穿通距離
GB 3883.1的這一章適用。
28 耐熱性、耐燃性和抗漏電痕跡
GB 3883.1的這一章適用。
29 防銹
GB 3883.1的這一章適用。

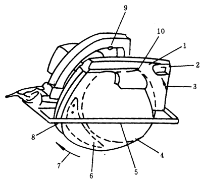
圖101 帶擺動式外護罩的圓鋸
圖中:
1—固定護罩; 2—出屑口; 3—鋸片旋轉方向標記; 4—活動護罩; 5—導板;
實際結構不一定要符合上示圖形。

圖102 帶擺動式內護罩的圓鋸
6—分料刀;7—活動護罩開啟方向; 8—分料刀刀架; 9—開關; 10—鋸片。

圖103 帶拖拉護罩的圓鋸
圖中:
1—固定護罩; 2—出屑口; 3—鋸片旋轉方向標志; 4—活動護罩; 5—導板;6—劈刀; 7—活動護罩;
實際結構不需符合上示圖形。

圖104 縮入型圓鋸
8—劈刀夾;9—開關;10—鋸片;11—未鎖定拖拉護罩的鎖定桿;12—未鎖定插入鎖定桿; 13—插入運動方向。

圖105 試驗探針“a”

圖106 試驗探針“b”

圖107 導板可傾斜的圓鋸

圖108 活動護罩中的開口

圖109 劈刀調節

D—鋸片直徑;L—導板長度;Z—導板寬度;H—從導板邊緣至鋸片中心面之間的距離;
F—導板上從導板前緣到離鋸片開口最近邊的距離;X—導板上凹座的長度;
L≥1.6D;Z≥0.7D; H≥0.2D或38mm(取其大者)
圖110 導板主要尺寸

圖111 卡盤參數
附錄
第一部分的附錄均適用。