1 主題內容與適用范圍
本標準規定了氣密型電氣設備和氣密部件防爆性能方面的技術要求、試驗和標志。
氣密型電氣設備或氣密部件,除須符合本標準的規定外,還須符合GB3836.1《爆炸性環境用防爆電氣設備 通用要求》中的有關規定。如GB3836.1與本標準規定不一致,則按本標準規定。
2 引用標準
GB3836.1 爆炸性環境用防爆電氣設備 通用要求
GB3836.3 爆炸性環境用防爆電氣設備 增安型電氣設備“e”
3 術語
3.1 氣密型電氣設備
具有氣密外殼的電氣設備。
3.2 氣密外殼
用溶化、擠壓或膠粘的方法進行密封的外殼。這種外殼能防止殼外部氣體進入殼內。
3.3 氣密部件
具有氣密外殼而不能單獨在爆炸性環境中應用的電氣部件。
4 技術要求
4.1 外殼
4.1.1 氣密外殼各部分間必須用熔化(如軟釬焊、硬釬焊、熔接)、擠壓或膠粘的方法進行密封,不許采用襯墊密封方式。
4.1.2 氣密外殼的結構應保證在使用期內都保持氣密。經過氣密試驗合格的外殼,在使用過程中不許打開。如打開外殼則認為外殼的氣密性被破壞,須重新密封并重新做氣密試驗。
4.1.3 金屬外殼如果使用了法蘭連接,必須將法蘭周圍熔接或膠粘,膠粘寬度須不小于6m,以保證其氣密性。
4.1.4 外殼應盡量減少接縫。
4.2 電纜引入裝置
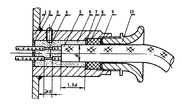
通過外殼壁的電纜及引線要密封,密封性能應不受溫度及氣候的影響,并應采取措施保持電纜引線免受機械損傷。典型結構如下圖。圖中1須不小于GB3836.3表1中電氣間隙值的20%,最小為2mm;密封填料的最小厚度為2mm;澆注時須防止固化密封填料中積聚氣泡。

1—連通節;2—金屬墊圈;3—螺釘;4—裸導體;5—電纜;6—密封填料;
7—金屬墊圈;8—密封圈;9—金屬墊圈;10—壓緊螺母
4.3 制造廠須提供與防爆性能有關的技術文件,如密封工藝等。如果采用了膠粘劑,還須提供它的極限熱穩定溫度等有關技術資料;如可能,并說明溶解膠粘劑的溶劑。
5 試驗
5.1 氣密試驗
氣密型電氣設備或氣密部件須按下列方法之一做氣密試驗。
5.1.1 將樣品全部浸入水中。樣品頂部位于水面以下至少1m,然后將水面上部的壓力減少到0.2×10
5Pa(絕對值),持續200s,以無可見氣泡為合格。
5.1.2 將初始溫度為25±2℃的樣品,快速浸入50±2℃的水中,樣品頂部位于水面以下至少25mm,持續60s,以無可見氣泡為合格。
5.2 如果氣密型電氣設備或氣密部件,在密封時使用了膠粘劑,則須先按GB3836.1中24.2條做熱穩定性試驗,然后再做氣密試驗。
6 檢驗程序
6.1 按本標準制造的氣密型電氣設備或氣密部件的檢驗程序須符合GB3836.1第31章的規定。
6.2 氣密型電氣設備和氣密部件的型式試驗除須按GB3836.1第四篇的有關規定進行外,還須按本標準5.1和5.2條的規定進行試驗。
6.3 出廠檢驗
每臺產品均按照5.1條進行氣密試驗。制造廠應保證每一臺產品的性能檢驗合格。
7 標志
氣密型電氣設備或氣密部件的標志符合GB3836.1第30章的規定。其防爆型式的標志為“h”。
標志舉例:“hⅠ”,“hⅡT3”。
附加說明:
本標準由中華人民共和國機械電子工業部提出。
本標準由全國防爆電氣設備標準化技術委員會歸口。
本標準由機械電子工業部佳木斯防爆電機研究所、南陽防爆電氣研究所負責起草。
本標準主要起草人章平誼、梅之芬。