目次
前言
1 范圍
2 規范性引用文件
3 術語和定義
4 來自通風機的危險
5 風險評價
6 風險減少
7 安全裝置類型
8 護罩結構
9 固定式護罩和固定間距式護罩的設計
10 噪聲
11 封閉在裝置中的通風機
12 安全操作規則
13 使用信息
參考文獻
前言
本標準等同采用ISO 12499:1999《工業通風機 通風機的機械安全裝置 護罩》(英文版)。
為了便于使用,本標準做了下列編輯性修改:
a)“本國際標準”改為“本標準”。
b)刪除了ISO 12499:1999的前言和引言。
本標準涉及到的相關標準都應執行我國國家標準:
ISO/TR 12100.1-1992對應執行GB/T 15706.1-1995《機械安全 基本概念與設計通則 第1部分:基本術語、方法學》;
ISO/TR 12100.2-1992對應執行GB/T 15706.2-1995《機械安全 基本概念與設計通則 第2部分:技術原則與規范》。
本標準由中國機械工業聯合會提出。
本標準由全國風機標準化技術委員會歸口。
本標準起草單位:沈陽鼓風機研究所。
本標準主要起草人:陳明良、孔桂蘭。
本標準為首次發布。
1范圍
本標準規定了工業通風機機械防護的技術要求。
本標準對采取的安全措施方面的情況加以描述,除了安全措施指南和使用須知之外,提供有關如何減少或消除危害的資料。
2 規范性引用文件
下列文件中的條款通過本標準的引用而成為本標準的條款。凡是注日期的引用文件,其隨后所有的修改單(不包括勘誤的內容)或修訂版均不適用于本標準,然而,鼓勵根據本標準達成協議的各方研究是否可使用這些文件的最新版本。凡是不注日期的引用文件,其最新版本適用于本標準。
GB 2893-2001 安全色(neq ISO 3864:1984)
GB 2894-1996 安全標志(neq ISO 3864:1984)
GB/T 19075-2003 工業通風機 詞匯及種類定義(ISO 13349:1999,IDT)
ISO 13852:1996 機械安全 防止上肢接觸及危險區的安全距離
ISO 14120 機械安全(固定式、活動式)護罩的設計和安裝的一般要求
3 術語和定義
GB/T 19075 確立的以及下列術語和定義適用于本標準。
3.1
工業通風機 industrial fan
任何工業用的通風機,包括建筑物和礦井的通風,但不包括通常用于非工業用途的用于天花板的風扇、座式風扇和類似的循環式的風扇。
3.2
正常工作 mormal operation
在通風機葉輪旋轉時,通風機按其設計功能提供氣流。
3.3
輔助操作 ancillary operation
當通風機葉輪靜止時,并且通風機的所有電源已被切斷,所進行的維修、清理、調整或故障排除工作。
3.4
自由旋轉 windsailing
穿過葉輪的氣流流動引起的通風機葉輪旋轉。
3.5
危險 hazard
可能損傷或危險健康的根源。
3.6
危險狀態 hazardous situation
使人面臨一種或多種危險的某一狀態。
3.7
人員傷害 personal injury
由機械危害引起并由人承受的傷害。
3.8
風險 risk
在危險狀態下,可能損傷或危害健康的概率和程度的綜合。
3.9
危險區/危險點 danger zone/danger point
人們面臨損傷或危險健康風險的通風機附近或周圍的某一區域或某一點。
3.10
安全護罩 guard guarding
減少或避免與工業通風機有關機械方面危害的防護裝置。
3.10.1
固定護罩 fixed guard
借助于緊固件使其固定就位的護罩,這種緊固件不使用工具是難以拆掉的。
3.10.2
固定間距的護罩 fixed distance guard
不能完全封閉危險區,但能賃借其物理尺寸和離危險區的距離來防止或減少接近危險區的固定護罩。
3.11
安全防護裝置 safeguarding
采用稱為安全防護裝置(護置,安全裝置)的特定技術手段的安全措施,以防止遭到由于設計不當而不可避免的或充分限定的人身傷害。
3.12
遺留風險 residual risk
通過設計或采用安全防護所規定的安全措施后所剩余的風險。
3.13
安全工作措施 safe working practice
消除或減少風險的工作方法。
3.14
使用信息 information for use
由各種通訊環節,如文字、標記、信號、符號或圖表等構成的安全措施,這些通訊環節可以單獨或聯合使用的形式向用戶傳遞信息,來指導專業或非專業用戶。
注:使用信息適合于專業性的或非專業性用戶。
3.15
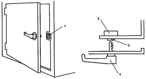
帶定時器的手柄鑰匙連鎖裝置 captive key interlock with timer
一種開關的組合,帶定時器,并通過壓在檢修門中的操作鑰匙牢固地鎖到機器的固定件上。
注:操作順序如下:
——轉動手柄斷開開關;
——延時后,繼續轉動松開檢修門;
——打開門(鑰匙與鎖脫開)。
典型的例子在圖1中示出。

圖1 鑰匙連鎖裝置的工作原理
1——帶開關的鎖;
2——開關;
3——鎖;
4——裝有鑰匙的手柄。
注:手柄鑰匙連鎖裝置保證了在護罩開啟之前斷路元件已經斷開;能在護罩可以完全拆除時使用;對滑動式護罩,不如可完全拆除的鉸鏈式裝置那么適用;可與延時器件組合使用。
4 來自通風機的危險
可能由通風機引起的人員傷害:
a)運動件和靜止件之間被卡住,例如:通風機葉輪與殼體或其他的通風機固定部件;
b)兩個運動件之間卡住,例如:皮帶與皮帶輪;
c)由空氣運動造成與旋轉軸或葉輪接觸而被吸入通風機進口;
d)觸及運動件,例如:葉輪;
e)物體被吸入通風機內,并高速噴出;
f)通風機部件的結構失效;
g)觸及處于極限溫度的通風機表面(即<-20℃或>+50℃);
h)由安全護罩造成的噪聲傳播;
i)即使通風機關掉時,旋轉件也會自然地或通過連接風機管道系統的其他部件,迫使空氣通過風機而造成風車般旋轉。特別會通過d)而造成傷害。
j)私自打開通風機或連接風管網路中的檢修門,如在風機正在運行時開門,會導致引起同c)或d)結果的傷害。
注:圖2示出了典型的機械危險,參見a)~d)。

圖2 來自通風機的典型機械危險
5 風險評價
來自通風機傷害的風險評價表明,如未采取安全防護措施,此種風險會是嚴重并且不能接受的。
取決于通風機的動力和相關危險,確定傷害會是嚴重的,甚至是致命的。
第4章a)~f)的危險可認為是具有最大潛在的傷害性。
結論是要采取安全防護措施以減少風險。
在存在遺留風險的地方,要遵守“安全工作措施,”而“使用信息”的安全事項必須特別重視。
6 風險減少
適用于通風機的減少風險傷害的基本原則是:
a)危險標志的識別或了解(在危險看不到或不明顯的地方,比如在檢修門上,應在門的顯眼位置上帖上一個符合GB 2894的適當的警告標志);
b)危險的消除或避免,包括降低可能的傷害規模的措施;
c)人身安全防護設備的使用;
d)“安全工作操作規程”的使用;
e)“使用信息”安全事項的重要性。
消除或減少通風機引起危險的另一方法就是利用防止上肢接近危險區的安全距離,如ISO 13852中說明的那樣。
通風機制造者不能始終預見,通風機現場位置的安全以及接觸和隨之發生的傷害,因此,應由安裝者和使用者提供安全護罩。
這表示應安裝護罩,具體要求見7.1。
為了檢查或清理不得不接觸通風機,那就不可避免地要拆下護罩或檢查蓋。因此這些只能由經過培訓的人員拆卸,見7.3c)規定。
有把握的安全措施比別的更可靠。優先的順序由可靠性來決定,因此,在執行安全工作措施前應考慮和使用安全護罩。
7 安全裝置類型
7.1 固定式護罩(見圖3和圖4)
通風機可使用4種不同管道連接形式的設計:
a)進口和出口無管道連接;
b)進口無管道連接,出口有;
c)進口有管道連接,出口無;
d)進口和出口都有管道連接。

圖3 軸流式和螺旋槳式風機的護罩

1——冷卻圓盤;
2——軸;
3——組合的軸、軸承及冷卻圓盤護罩;
4——聯軸器護罩;
5——軸端軸承護罩;
6——全封閉驅動護罩;
7——裸露軸的防護罩。

圖4 典型離心式通風機的護罩
要求裝在通風機上的護罩按以下管道系統連接:
a)根據安裝情況,除非一側不能接近,否則進口和出口兩側都應安裝護罩。例如:裝在冷卻器上的通風機在盤管側不需安裝護罩;
b)護罩只裝在進口側;
c)護罩裝在出口側;
d)未安裝護罩。
通風機使用者或安裝者一定要按照風道管路連接方式為管道系統配備護罩如下:
a)無護罩;
b)護罩裝在管道系統出口;
c)護罩裝在管道系統進口;
d)護罩裝在管道系統進口和出口。
如果截面最大尺寸不超過400mm,而且危險源距管道系統開口處的距離大于1 000mm或者出入口已經存在帶有風擋或百葉的管道,則管道系統端部的防護便不是強制性的。
護罩設計應防止接觸通風機和輔助設備的危險部件。結構要堅固,足以承受由通風機運行及環境條件產生的應力。固定要牢,應使用不能因振動松動的部件。
7.2 固定間距式護罩
固定間距式護罩的設計和結構與危險相關,用物體防止身體接觸危險點和危險區,應采用固定柵或籬笆設計型式,防止接觸危險點或區。安全距離的使用方法及其數值在ISO 13852中給出(主要見ISO13852的表2)。
7.3 護罩的拆除
為了便于風機內部的檢修與清理,正常情況下可以拆下固定護罩。使用者和安裝者應清楚地了解并遵守以下規則:
a)當通風機帶電時,不能打開或拆除護罩;
b)應在靠近通風機處,安裝可鎖定的絕緣開關或斷電器;
c)只能雇用在安裝,操作和維修風機有關的危險和風險方面受過適當培訓的人員。
8 護罩結構
8.1 材料的選擇
在選用材料的過程中,應考慮到結構的重量和規格以及在輔助操作期間拆卸與更換的需要。護罩應符合ISO 14120的要求。
同樣應注意到可能會受到腐蝕的環境條件。應選用耐腐蝕材料或耐腐蝕表面涂層,凡適用的場合均采用,以保證護罩的使用壽命與通風機的使用壽命相匹配。
無論選用什么樣的護罩,該護罩都不能出現下列情況:如受到限制、有裂紋或剪切點、毛剌、未修整的邊或銳邊,護罩也不要用超聲波照射影響過的材料制成。
8.2 板材
應考慮使用透明材料,例如:鋼化玻璃或鋼性塑料板材制作護罩或護罩表面。其優點是能夠看到工作部件。
注:薄板材具有優越的強度和剛性,而且特別適合于不常需要調整的傳動系統的防護。
8.3 穿孔的材料或網狀材料
用來制造護罩所使用的穿孔材料應是穿孔的金屬、編織網、焊絲、金屬網柵或類似物。網格尺寸和護罩離危險點或危險區的距離應該充足以防止接觸并應和ISO 13852的要求一致(主要見ISOl3852的表4)。
凡安裝有可拆卸的護罩部件之處,例如:為了檢驗皮帶張緊度,均應按本標準所制定的規則進行設計和維護。如果有測量通風機工作參數的必要,例如:轉速、軸承溫度或振動,使用便攜式儀器進行測試,則應配備能使安全護罩固定就位的適當設備。
8.4 護罩支架
應把可拆卸的護罩緊固到獨立支架上或通風機本身的部件上,這樣拆卸或更換護罩不會影響通風機的結構。支架數量,間距及剛性應適當,以保證護罩的穩定性。
8.5 軸承護罩
假如護罩能防止人身與運動部件接觸,則軸承護罩不得超出軸承箱。這樣,將會便于軸承溫度和振動測量,而且便于潤滑。
8.6 電源
當把通風機葉輪直接安裝在電機軸上而固定式護罩則需在通風機的電機側時,這樣會導致安裝電源電纜的困難。最好是選擇通風機的整體設計,這樣在輔助操作時,可以把護罩全部卸掉而不干擾電源的連接。如果這樣做不可能的話,采用其他安裝方法其電源電纜不得穿過護罩網眼。
9 固定式護罩和固定間距式護罩的設計
9.1 旋轉部件護罩
旋轉葉輪、軸、皮帶輪、皮帶、主軸及聯軸器的護罩應具有堅固的結構,以避免護罩與旋轉部件之間產生偶然的接觸。在選擇板材的過程中應注意使驅動部件適當的冷卻,而且在通風機的壓力側應適當密封以防止漏泄。網眼的間距和其他開孔或靠近的旋轉部件應符合ISO 13852的要求(主要見ISO13852的表4)。
9.2 氣流阻力和噪聲產生
應考慮到在氣流中安裝護罩的氣流阻力。在結構中采用圓金屬絲的方法能夠減小阻力,并且應把護罩安裝在盡量遠離危險區之處是切實可行的,以使網眼的規格增至最大。如果采取這些措施的話,護罩所產生的噪聲也將會減少。
9.3 固定間距式護罩
固定間距式護罩的設計,應具有足夠的剛性來承受一個人靠向它而不會造成過度變形或使該人達到危險點或區的力。如果一個實體阻擋板就很可能會變形或妨礙氣流進入通風機入口,例如:在一個大的機房內,則應采用網眼式結構。
10 噪聲
由護罩本身和氣流經過護罩而產生的噪聲,應采用8.1和9.2中所述的方法來予以減少。
11 封閉在裝置中的通風機
11.1 概述
通風機可以安裝在機械裝置內,例如:冷凝裝置、吸塵設備、冷卻塔及空氣處理裝置,但不限制于這些裝置內。在正常運行的情況下,有效地將通風機封閉在安全柵內。這樣就不能靠近危險點/危險區。然而,在通風機部分和任何鄰近的下游系統有時提供檢修門,以便按要求進行輔助性操作。因此,在工作中采取安全措施是必要的,以保證安全工作(見12.2)。如果在通風機運行期間需要接近通風機集流室,例如:協助調試或情況監視,則應固定護罩,以防止與傳動元件,裸露的軸及裝配的葉輪相接觸。
在使用雙進風口通風機的情況下,這兩個進風口應預以防護。重要的是安裝進口護罩,甚至在直接驅動的通風機上也是如此,以消除異物飛濺的危險。
如果通風機在運行時不需要接近,盡管有這種可能性,則不需要安裝只用鑰匙進入的固定式護罩。
注:凡需要正常進入的地方,最好是在使用帶定時器的手柄鑰匙連鎖裝置之前,定時器能使通風機葉輪停止轉動。
通風機排風口集流室有時安裝在檢修門上。這種檢修門未經許可打開可能造成危險后果。因為門是在通風機的壓力側,如果松動,可能被吹開,并且會造成人員傷亡。因此,在通風機排風室的檢修門上應掛有適當的警告牌。按照GB 2894和GB 2893的規定,在沒有首先斷開電源和葉輪還沒有靜止下來時不應打開該門。
11.2 通風機電源隔離
關于通風機集流室,采用12.2規定的有關隔離電源的同一規則。此外,11.1中所述的同一內容的警告牌應貼到檢修門上。
12 安全操作規則
12.1 概述
采用的固定式護罩始終應作為最可靠的減少風險的方法。但是遺留的傷亡風險仍然存在,特別是在輔助操作期間,并應采用安全工作設施來減少這種遺留風險。
12.2 安全工作操作規則
制造廠關于設備的可靠安裝,操作和維護的說明應該嚴格遵守。特別是在拆卸護罩進行輔助操作和以后的更換時,應特別注意對護罩進行正確的維護。
如果護罩必須拆下進行輔助性維護工作,則一定要提供正確的電源絕緣設施。在這種情況下,絕緣開關一定要設置在靠近通風機之處,以便于維護人員能直接控制通風機的電源。
13 使用信息
13.1 安全措施、安裝和維護說明
通常,這只適用于用戶使用而給出指導性的文件。因些,除有關通風機資料外,說明書必須提供有關安全裝置和護罩的資料以及為保證輔助操作的必要程序。
13.2 安全標志
警告用戶有潛在的機械或電器危險的安全標志應貼在易于看見的位置上。標志上所使用的符號和顏色應遵照GB 2894和GB2893的規定,并應盡可能采用國際上承認的形象圖。如果沒有可能,則標志上的某些文字應使用用戶國家的語言。
為對有關情況提供必要條件,當說明書不能滿足安裝者或使用者時,應在通風機上加上適當的標志,該標志應采用強制性指示的形式(見GB 2894、GB2893),勸告使用者應遵守說明書中的規定。如果沒有得到說明書,可以到有關的部門去索取。
參考文獻
〔1〕ISO/TR 12100-1:1992 機械安全裝置 基本概念 總體設計原則 第1部分:基本術語、方法學
〔2〕ISO/TR 12100-2:1992 機械安全裝置 基本概念 總體設計原則 第2部分:技術原理及技術規范
〔3〕EN414:1992 機械安全裝置 安全標準的起草和表述規則