活塞式壓縮機的活塞,一般都為盤狀活塞,只是根據所承受壓力的不同,在結構上有所差異。
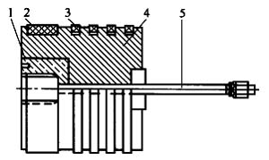
活塞部件包括:活塞體、活塞桿、活塞環等(見圖1-11-8)。活塞與氣缸構成了壓縮容積,因此要求活塞密封性好,并具有一定的強度和剛度,活塞體與活塞桿的定位連接要可靠。活塞桿因與填料接觸進行密封,且承受交變載荷,因此其材質和加工要求很高。
?

活塞環裝在活塞環槽中,與槽壁有一定的間隙。活塞環在自由狀態時,其直徑稍大于氣缸直徑,裝入氣缸內后,環貼緊于氣缸表面。壓縮機工作時,氣體通過活塞環和環槽的側面間隙進入活塞環槽,對活塞環側面和內側面施加壓力,使活塞環和氣缸表面緊密貼合以達到密封(見圖1-11-6)。因此適蹇環又稱為漲環。
活塞部件在使用中,有下列情況時應予更換。
?

①活塞桿與填料摩擦部位呈較明顯的波浪形。
②活塞桿磨損大于0.20~0.40mm時。
③活塞桿有較大彎曲變形或連接螺紋損壞時。
④活塞有裂紋或活塞環槽磨損。
⑤活塞沿圓柱表面磨損或結瘤。
⑥活塞環斷裂或失掉應有的彈性力。
⑦活塞環厚度磨損1~2mm,寬度磨損0.2~0.3mm。
⑧活塞環在氣缸中有大于0.5mm的光隙或1/3圓周接觸不良。
5.氣閥
氣閥結構如圖1-11-10所示。常用的氣閥為自動作用式,它依靠氣體的壓差來開啟,依靠彈簧壓力和重量來關閉。由閥片、閥座、彈簧及彈簧座(升程限制器)等組成。
閥座上開有幾個同心的環形通道供氣體通過。閥片由彈簧緊壓在閥座上,二者的接觸處經精細研磨。在壓縮氣體時,當閥片下側的氣體壓力大于閥片上面的氣體壓力和彈簧張力之和時,閥片就被氣體推開,于是氣體被排出氣缸進入排氣管中。閥片與彈簧座之間的間隙即是閥片的升程。
?

氣閥是壓縮機的一個重要且易損壞的零件,為保證壓縮機正常運轉,需經常檢查。當發現有下列現象時,應及時修理或更換。
①閥座和閥片磨損或擦傷。
②閥座的密封邊緣出現裂紋或溝痕。
③氣閥的彈簧損壞或喪失彈力。
活塞或壓縮機主要零部件配合公差見表1-11-2。
?
| 序號 | 主要零部件配合部位 | 配合公差/mm | 備注 | |
| 最小 | 最大 | |||
| 1 | 曲軸軸頸與曲軸軸瓦配合的徑間間隙 | H7/f7 | H7/e8 | ? |
| 2 | 曲軸軸頸與曲軸軸瓦配合的軸向間隙 | 0.1 | 2 | ? |
| 3 | 曲拐軸頸與連桿大頭瓦配合的徑向間隙 | H7/f7 | H7/e8 | ? |
| 4 | 曲拐軸頸與連桿大頭瓦配合的軸向間隙 | 0.1 | 2 | ? |
| 5 | 十字頭銷與連桿小頭瓦配合的徑向間隙 | H7/h6 | H7/f7 | ? |
| 6 | 十字頭銷與連桿小頭瓦配合的軸向間隙 | 0.1 | 2 | ? |
| 7 | 十字頭滑道與十字頭滑板配合的徑向間隙 | H7/f8 | H7/f8 | 不得小于0.06 |
| 8 | 活塞環與活塞環槽的徑向配合間隙 | 0.5 | 2 | ? |
| 9 | 活塞環與活塞環槽的軸向配合間隙 | H7/f7 | H7/f8 | ? |
| 10 | 活塞與氣缸配合的徑向間隙 | H7/h6 | H8/f8 | 最小應大于0 |
| 11 | 活塞與氣缸配合的軸向間隙 | 0.2 | 2 | ? |
| 12 | 活塞桿與填料密合卷配合的徑向間隙 | H8/h7 | H8/f8 | 金屬密合卷 |
| 13 | 活塞桿與填料刮油環配合的徑向間隙 | H7/h7 | H8/f8 | 金屬刮油環 |
| 14 | 活塞與氣缸蓋配合的上下死點間隙 | 1 | 5 | ? |
| 15 | 油泵齒輪之間的配合間隙 | 0.1 | 0.15 | ? |
| 16 | 油泵齒輪與油泵蓋配合間隙 | 0.04 | 0.10 | ? |
| 17 | 油泵具輪與軸套配合的徑間間隙 | 0.01 | 0.05 | ? |
| 18 | 吸排氣閥升程 | 1 | 5 | ? |
四、壓縮機的安裝、使用與維護保養
1.安裝
壓縮機安裝質量的好壞將直接關系到壓縮機的運行情況和使用的可靠性,壓縮機出現的故障相當一部分是由于安裝不當所造成的。因此對安裝工作應特別重視,按照使用說明書中規定的要求和步驟進行。
(1)安裝前的準備工作
??? 安裝準備工作包括技術資料與現場兩部分。技術資料有:壓縮機的隨機圖紙、技術文件、設備平面布置圖、安裝圖和有關的工藝管路圖,安裝現場要備好需用的水、電、安裝工具和設備,留出存放機器的位置,并做好安全防護準備。
(2)對壓縮機進行檢查驗收
??? 按照隨機裝箱清單檢查零部件的名稱、規格、數量是否相符,產品證明書、使用說明書、附件、易損件、專用工具是否齊全,并對壓縮機進行外觀檢查,如有缺件或缺陷應及時向供貨單位反映、處理。
(3)對壓縮機基礎進行檢查???
??? 檢查前,先將基礎模板和地腳螺栓模板全部拆除,將基礎周圍打掃干凈。對照圖紙要求,對基礎表面尺寸和質量、混凝土強度、各地腳螺栓孔尺寸和螺栓位置等逐項檢查。合格后,在基礎上用黑線畫出設備的縱橫軸線,并將放置墊鐵的基礎表面用鏨頭鏟平。
(4)壓縮機的安裝???
?? 分為整機安裝與部件解體安裝兩種。前者適用于小型壓縮機(機器和電機為同一底座),后者適用于大中型壓縮機。
壓縮機在安裝前應做全面檢查和清理,尤其要注意將油孔道內的雜物吹除干凈。安裝時,最好用吊裝設備將機器移到基礎上,在每個地腳螺栓的兩側,各放一組墊鐵,在主軸承及滑道下面也應放置墊鐵,其余所放墊鐵的中心距應在250~300mm之間。墊鐵組一般由兩塊斜墊鐵組成,以便調整機器的縱向和橫向水平。壓縮機就位后,將地腳螺栓穿過機身上的螺孔擰上螺帽(螺帽擰滿后需露出2~3個扣絲)。移動機器,使機器的縱、橫向軸線與基礎上的縱、橫向軸線垂直吻合,用水平儀初平機身水平度,找正后, 用水泥混凝土將地腳螺栓孔灌滿。待混凝土凝固后(一般在7天后),對壓縮機的縱、橫向水平進行精平找正。找正時需先松開地腳螺帽,以便調整墊鐵的厚薄。壓縮機的縱向和橫向的不水平度不大于0.05mm/m。測量用的水平儀精度為0.02mm/m。
臥式和對稱平衡型壓縮機(如2DG型)縱向水平的測量,水平儀放在十字頭滑道上。橫向水平的測量位置在曲軸軸承座上。立式壓縮機(如ZG型)的測量位置在曲軸箱和機身的分界面上。
機器找正后,上緊地腳螺栓,用電焊將墊鐵焊死,然后進行二次灌漿,將機身與基礎之間的空隙用水泥填滿,最后將基礎抹光。
對大中型壓縮機,按上述方法安好機身后,再分別安裝中間體和氣缸。
(5)附屬設備及管道的安裝
??? 液化石油氣壓縮機的附屬設備主要有:油水分離器、氣液分離器、緩沖器、冷卻器和安全附件等。氣液分離器安裝在壓縮機的進氣管路上, 以防止氣體將液態石油氣、水分和雜質帶入氣缸。油水分離器安裝在排氣管路上,以便將氣體帶出的潤滑油等雜質分離下來,避免其污染管路系統和設備。
安裝時應注意如下。
①所有的承壓附屬設備均應符合《壓力容器安全技術監察規程》的有關規定。
②設備安裝前應將內部清除干凈。
③設備基礎要安裝牢固,其離周圍建筑物的距離應利于檢修和操作。
④附屬設備內的吹除管距底部最小距離應大于管徑尺寸。
⑤設備安裝完畢應進行強度與密封性試驗。液壓試驗壓力為1.25倍的設計壓力,氣密試驗壓力為1.00倍的設計壓力。
⑥安全閥應垂直地安在排氣管上,其排泄孔要與進氣管相連,并經調校合格后方可安裝。安全閥的開啟壓力不得超過容器的設計壓力。
科技賦能,AI強安——談AI技術在石油…
危險化學品安全技術說明書(PDF版)
170種危險化學品安全技術說明書匯編
化工企業冬季安全生產須知——防火篇
化工企業冬季安全生產須知——防凍凝篇
有限空間作業如何預防窒息和中毒
有限空間作業切記注意安全!
夏季有限空間作業安全風險防范
危險化學品目錄(2015版)
危險化學品分類及其危險特性
對制度落實不到位的原因調查及解決辦…
職工安全生產的權利和義務
危險化學品的儲存
有限空間作業安全知識
柴油罐的存放
加油站安全知識手冊